Цикл газотурбинных установок (ГТУ)
Основными недостатками поршневых двигателей внутреннего сгорания являются ограниченность их мощности и невозможность адиабатного расширения рабочего тела до атмосферного давления, которые отсутствуют в газотурбинных установках. ГТУ рабочим телом являются продукты сгорания жидкого или газообразного топлива.
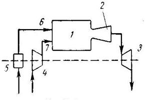
На рис. 1.31 дана схема простейшей газотурбинной установки со сгоранием топлива при постоянном давлении. Топливным насосом 5 и компрессором 4 топливо и воздух через форсунки 6 и 7 поступают в камеру сгорания 1. Из камеры продукты сгорания направляются в комбинированные сопла 2, где они расширяются, и поступают на лопатки газовой турбины 3.
Рис. 1.31. Схема простейшей газотурбинной установки со сгоранием топлива при постоянном давлении
На рис. 1.32 представлен идеальный цикл ГТУ на P-v и T-s диаграммах.

Рис. 1.32. Идеальный цикл ГТУ на P-v и T-s диаграммах
1-2 - адиабатное сжатие до давления р2; 2-3 – подвод теплоты q1 при постоянном давлении р2 (сгорание топлива); 3-4 – адиабатное расширение до первоначального давления р1; 4-1 – охлаждение рабочего тела при постоянном давлении р1 (отвод теплоты q2)
Характеристиками цикла являются:
1) Степень повышения давления: l = р2/ р1 ;
2) Степень изобарного расширения: r = n3 /n2 ;
3) Работа турбины: lт = h3 – h4 ;
4) Работа компрессора: lк = h2 – h1 ;
5) Полезная работа ГТУ равна разности работ турбины и компрессора: lГТУ = lт – lк ;
6) Термический к.п.д. цикла ГТУ имеет вид: ht = 1 – 1/ l (k-1)/k;
7) Теоретическая мощность газовой турбины, компрессора и установки (ГТУ):
Nт = lт·D/3600 = (h3 – h4)·D/3600 ,
Nк = lк·D/3600 = (h2 – h1)·D/3600 ,
NГТУ = lГТУ·D/3600 = [(h3 – h4) - (h2 – h1) ]·D/3600 .
Действительный цикл ГТУ отличается от теоретического наличием потерь на трение и вихреобразование в турбине и компрессоре. Эффективными методами повышения экономичности газотурбинных установок являются: регенерация теплоты, ступенчатое сжатие и расширение рабочего тела и пр.
Дата добавления: 2015-08-11; просмотров: 1258;
