Газовое регулирование температуры перегретого пара
Рециркуляция продуктов сгорания. Рециркуляция обеспечивается возвратом части газов Vрц из газохода после экономайзера с температурой
= 350 – 450 °С в топочную камеру (рис. 55а).

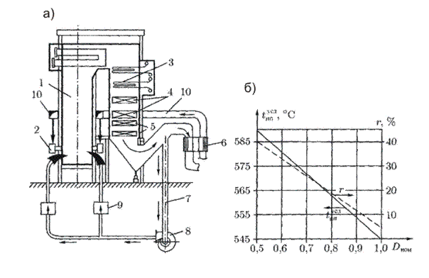
Рис. 55. Организация рециркуляции дымовых газов в топку:
а – общая схема; б – изменение условной температуры вторично
перегретого пара
от рециркуляции r при разных нагрузках
котла; 1 – топка; 2 – газомазутные горелки; 3, 4 – конвективные
поверхности основного и промежуточного пароперегревателей;
5 – экономайзер; 6 – РВП (регенеративный воздухоподогреватель);
7 – линия отбора газов на рециркуляцию; 8 – дымосос рециркуляции
газов; 9 – регулятор расхода; 10 – короб горячего воздуха
Газы рециркуляции вводятся либо в кольцевой канал вокруг горелки, либо непосредственно в короб воздуха горелок. Поскольку абсолютное давление газов в топке выше, чем в месте отбора их на рециркуляцию, подача газов в топку возможна только специальным дымососом рециркуляции газов. В связи с этим увеличиваются затраты электроэнергии на перекачку газов.
Кроме того, возврат части газов в топку увеличивает общий объем газов в тракте от точки отбора газов и сопротивление этого тракта, отчего дополнительно увеличиваются затраты энергии на тягу в основных дымососах.
Доля рециркуляции газов:
,
где
– объем газов за местом их отбора на рециркуляцию, м3/кг. Доля рециркуляции изменяется обычно от 0,05 до 0,4 (или от 5 до 40 %) и увеличивается по мере снижения нагрузки, когда заметно уменьшается тепловосприятие конвективных поверхностей промежуточного перегревателя (рис. 55,б).
В результате ввода рециркулирующих газов происходит снижение температуры горения в топке, уменьшение тепловосприятия топочных экранов и увеличение тепловосприятия конвективных поверхностей. В итоге в среднем 1 % рециркуляции газов обеспечивает повышение температуры пара на 1,0 - 1,5 °С.
Рециркуляция дымовых газов в широком диапазоне применяется преимущественно на газомазутных котлах, на которых ввод инертных газов в зону горения практически не влияет на полноту сгорания топлива и поверхности которых не подвержены золовому износу при повышенной скорости газов в газоходах. При сжигании газа и особенно мазута доля рециркуляции составляет 5 – 10 %, что даже при полной нагрузке обеспечивает снижение теплового потока на экраны топочной камеры и оказывает положительную роль в отношении защиты экранов НРЧ от чрезмерно высоких тепловых нагрузок.
Введение инертных газов рециркуляции в ядро факела при сжигании твердых топлив допустимо только для реакционных топлив, в других случаях это приводит к затягиванию горения и возможному росту потерь теплоты с недожогом. При сжигании шлакующих топлив возможна рециркуляция газов в верхнюю часть топки. Ее цель — снижение температуры газов перед ширмами, что уменьшает вероятность их шлакования.
Рециркуляции газов приводит к некоторому повышению температуры уходящих газов и, следовательно, потерь теплоты с ними. При этим несколько возрастет расход топлива по сравнению с режимом без рециркуляции.
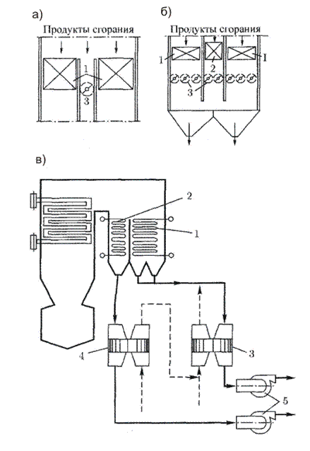
Байпасирование продуктов сгорания. Регулирование температуры вторично перегреваемого пара байпасированием продуктов сгорания (рис. 56) можно осуществить двумя способами: либо использованием холостого газохода между пакетами пароперегревателя (рис. 56а), либо перераспределением продуктов сгорания по параллельным газоходам, в одном из которых расположена поверхность перегревателя (так называемый «расщепленный газоход») (рис. 56,б).

Рис. 56. Схемы регулирования температуры пара байпасированием
продуктов сгорания:
а – через холостой газоход; б – распределением газов по газоходам:
1 – пакеты промежуточного перегревателя; 2 – экономайзер;
3 – регулирующая заслонка; в – с разделением газоходов:
1 – промперегреватель; 2 – экономайзер; 3 – основной воздухоподо-
греватель; 4 – предвключенный воздухоподогреватель; 5 – дымосос
Дата добавления: 2015-07-10; просмотров: 1217;
