Явления в электрическом аппарате
а) Назначение геркона. Герконы - это реле с герметичными магнитоуправляемыми контактами. Они широко используются в схемах автоматики и зашиты как логические элементы, преобразователи неэлектрических величин в электрические, как электромеханические усилители сигналов между полупроводниковыми устройствами и силовыми электрическими аппаратами.
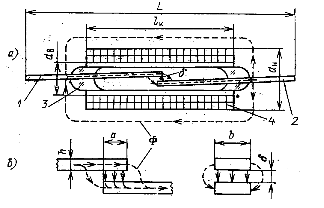
б) Принцип действия и устройство геркона. Простейшее герконовое реле (ГР) с замыкающими контактами изображено на рисунке 4.2.1, а.

Рис. 4.2.1. Простейшее герконовое реле с симметричным замыкающим контактом
Контактные .сердечники (КС) 1 и 2 изготавливаются из ферромагнитного материала с высокой магнитной проницаемостью (пермаллоя) и ввариваются в стеклянный герметичный баллон 3. Валлон заполнен инертным газом - чистым азотом или азотом с небольшой (около 3%) добавкой водорода. Давление газа внутри баллона составляет (О, 4-5-0, 6) -105 Па. Инертная среда предотвращает

Рис. 4.2.2. Упрощенная картина магнитного поля геркона управляемого обмоткой с током
окисление КС. Баллон устанавливается в обмотке управления 4. При подаче тока в обмотку возникает магнитный поток Ф, который проходит по КС 1 и 2 через рабочий зазор 8 между ними и замыкается по воздуху вокруг обмотки 4. Упрощенная картина магнитного поля показана на рисунке 4.2.2. Поток Ф при прохождении через рабочий зазор создает тяговую электромагнитную силу Рэ, которая преодолевая упругость КС, соединяет их между собой. Для улучшения контактирования поверхности касания покрываются тонким слоем (2-50 мкм) золота, родия, серебра и др.
При отключении обмотки магнитный поток и электромагнитная сила спадают и под действием сил упругости КС размыкаются. Т. о, в ГР отсутствуют детали, подверженные трению (места крепления якоря в электроманитных реле) , а КС одновременно выполняют функции магнитопровода, токопровода и пружины.
В связи с тем, что контакты в герконе управляются магнитным полем, герконы называют магнитоуправляемыми контактами.
На основе герконов могут быть созданы также реле с размыкающими и переключающими контактами.

Рис. 4.2.3. Переключающие герконы
В герконе с переключающими контактами (Рис. 4.2.3, а) неподвижные КС 1, 3 и подвижные 2 размещены в баллоне 4. При появлении сильного магнитного поля КС2 притягивается к КС1 и размыкается с КСЗ. Один из КС переключающего геркона (например 2) может быть вполне из немагнитного материала (рис. 4.2.3,б).
Герконовое реле (рис. 4.3,в) имеет два подвижных КС 1, 2, два неподвижных КС 5, 6 и две обмотки управления 7, 8. При согласном включении обмоток замыкаются КС 1 и 2. При встречном включении обмоток КС1 замыкается с КС5, а КС2 с КС6. При отсутствии тока в обмотках все КС разомкнуты. ГР (рис. 4.3,г) имеет переключающий контакт 3 сферической формы. При согласном включении обмоток 7 и 8, контакт 3 притягивается к КС1 и КС2 и замыкает их. После отключения обмоток 7 и 8 при согласном включении обмоток 9 и 10 контакт 3 замыкает КС5 и КС6.
Т.к. КС герконов выполняют функции возвратной пружины, то им придают определенные упругие свойства. Упругость КС обуславливает возможность их вибрации ("дребезга") после удара, который сопутствует срабатыванию. Длительность такой вибрации достигает 0,25 мс при общем времени срабатывания 0,5-1,0 мс. Одним из способов устранения влияния вибрации является использование
жидкомет аллич еских контактов. (4.4).

Рис. 4.2.4. Ртутные герконы
В переключающем герконе (рис. 4.2.4, а) внутри подвижного КС имеется капиллярный канал, по которому из нижней части баллона 4 поднимается ртуть 5. Ртуть смачивает поверхности касания КС1 с КС2 или КСЗ. В момент удара контактов при срабатывании возникает их вибрация. Из-за ртутной пленки на контактной поверхности КС1 вибрация не приводит к разрыву цепи. В конструкции на рис. 4.2.4,б между КС2 и КСЗ и ртутью 5 находится ферромагнитная изоляционная жидкость 6. При возникновении магнитного поля ферромагнитная жидкость 6 перемещается вниз, в положение при котором поток будет наибольшим. Ртуть вытесняется вверх и замыкает контакты КС2 и КСЗ.
Следует отметить, что жидкометаллический контакт позволяет уменьшить переходное сопротивление и значительно увеличить коммутируемый ток. Наличие ртути удлиняет процесс разрыва контактов, что увеличивает время отключения реле.
Управление герконом можно осуществлять и с помощью постоянного магнита. Если постоянный магнит установлен в близи геркона, его магнитный поток замыкается через КС, которые в результате этого находятся в замкнутом состоянии. Использование постоянного магнита совместно с управляющей катушкой позволяет создать ГР с размыкающим контактом.
Дата добавления: 2015-08-11; просмотров: 828;
