Раздел 4 .Методические рекомендации к выполнению и оформлению контрольных заданий по ТКМ 8 страница
3. Для изготовления измерительного инструмента выбрана сталь ХВГ. Укажите состав, назначьте и обоснуйте режим термической обработки, объяснив влияние легирования на превращения, происходящие при термической обработке данной стали. Опишите структуру и свойства инструмента в готовом виде.
4. Назначьте нержавеющую сталь для работы в средах средней агрессивности. Приведите состав стали, необходимую термическую обработку и получаемую структуру. Объясните физическую природу коррозионной устойчивости материала и роль каждого легирующего элемента.
5. Опишите способы вторичного переплава слитков, повышающие их качество. Отметьте факторы, способствующие повышению качества слитков в каждом способе.
6. По эскизу детали (рис.12) разработайте эскизы элементов литейной формы, модели стержневого ящика, собранной литейной формы (в разрезе). Опишите последовательность изготовления литейной формы методом ручной формовки. Материал детали – чугун СЧ20.
7. Изложите сущность литья в кокили, приведите эскизы, поясняющие конструкцию кокилей. Отметьте технологические особенности этого способа литья, достоинства, недостатки и области его применения.

8. Изобразите схему и опишите сущность процесса контактной точечной электросварки. Начертите и опишите циклограмму процесса точечной сварки. Объясните, за счет чего металл ядра в месте контакта заготовок доводится до жидкопластичного состояния. Разработайте процесс сварки панели (рис.40) из стали марки Ст3. Шаг точек t=5dT. Производство массовое. Укажите подготовку заготовок под сварку. По толщине свариваемых заготовок выберите тип машины и укажите ее технические данные. Рассчитайте площадь контактной поверхности электрода. По значениям j (А/мм2) и p (мН/м2) определите сварочный ток и усилие, приложенное на электродах. Определите время сварки изделия. Укажите возможные дефекты и причины их возникновения.

Вариант 77
1. Опишите строение реального слитка и явление транскристаллизации
2. Как и почему при пластической деформации изменяются свойства металлов?
3. Вычертите диаграмму состояния железо - карбид железа, укажите структурные составляющие во всех областях диаграммы, опишите превращения и постройте кривую охлаждения в интервале температур от 1600 до 0°С (с применением правила фаз) для сплава, содержащего 2,7% С. Для заданного сплава определите процентное содержание углерода в фазах при температуре 950°С.
4. Для трубопроводов пароперегревателей используется сталь09Х14Н16Б (ЭИ694). Укажите состав и определите группу стали по назначению. Назначьте режим термической обработки и приведите его обоснование. Опишите влияние температуры на механические свойства стали. Укажите микроструктуру стали после термической обработки.
5. Приведите характеристику свойств титана и укажите области его применения. Опишите последовательность технологического процесса производства титана из ильменитовых руд магниетермическим способом.
6. По эскизу детали (рис.13) разработайте эскизы элементов литейной формы, модели стержневого ящика, собранной литейной формы (в разрезе). Опишите последовательность изготовления литейной формы методом ручной формовки. Материал детали – чугун СЧ20.
7. Изложите принципы конструирования технологичных литых деталей с учетом литейных свойств сплавов.

8. Изобразите схему и опишите сущность процесса контактной шовной (роликовой) сварки. Начертите и опишите циклограмму процесса шовной сварки. Объясните, за счет чего металл ядра в месте контакта заготовок доводится до жидкопластичного состояния. Разработайте процесс сварки бензобака (рис.41) из стали марки Ст3. Производство массовое. Укажите подготовку заготовок под сварку. По толщине свариваемых заготовок выберите тип машины и укажите ее технические данные. Рассчитайте площадь контактной поверхности электрода(для случая отсутствия вращения ролика). По значениям j (А/мм2) и p (мН/м2) определите сварочный ток и усилие, приложенное на роликах, время сварки изделия. Укажите возможные дефекты и причины их возникновения.

Вариант 78
1. Охарактеризуйте особенности металлического типа связи.
2. В турбиностроении используется сталь 4Х12Н8Г8МФБ (ЭИ481):
а) расшифруйте состав и определите группу стали по назначению;
б) назначьте режим термической обработки и обоснуйте его. Опишите структуру после термической обработки;
в) как влияет температура эксплуатации на механические свойства данной стали?
3. Вычертите диаграмму состояния железо — карбид железа, укажите структурные составляющие во всех областях диаграммы, опишите превращения и постройте кривую нагревания в интервале температур от 0 до 1600°С (с применением правила фаз) для сплава, содержащего 1,8% С. Для заданного сплава при температуре 1300°С определите процентное содержание углерода в фазах и количественное соотношение фаз.
4. В результате термической и химико-термической обработки шестерни должны получить твердый износоустойчивый поверхностный слой при вязкой сердцевине. Для изготовления их выбрана сталь 18ХГТ. Укажите состав и определите группу стали по назначению. Назначьте и обоснуйте режим термической, химико-термической обработки, объяснив влияние легирования на превращения, происходящие на всех этапах термической обработки данной стали. Опишите микроструктуру и свойства поверхности и сердцевины шестерни после термической обработки.
5. Приведите характеристику свойств меди и укажите области ее применения. Опишите последовательность технологического процесса производства меди пирометаллургическим способом.
6. По эскизу детали (рис.14) разработайте эскизы элементов литейной формы, модели стержневого ящика, собранной литейной формы (в разрезе). Опишите последовательность изготовления литейной формы методом ручной формовки. Материал детали – сталь 45 Л.
7. Изложите вопросы автоматизации и механизации изготовления литейных форм. Приведите схему автоматической формовочной линии и опишите ее работу.

8. Изобразите схему и опишите сущность процесса контактной стыковой сварки сопротивлением. Начертите и опишите циклограмму процесса стыковой сварки сопротивлением. Объясните, почему в месте контакта заготовок выделяется наибольшая тепловая энергия. Разработайте процесс сварки стержней (рис.42) из стали марки Ст3. Производство крупносерийное. Укажите подготовку заготовок под сварку. По площади сечения заготовок выберите тип машины и укажите ее технические данные. Рассчитайте площадь контактной поверхности электрода(для случая отсутствия вращения ролика). По значениям j (А/мм2) и p (мН/м2) определите ток и усилие осадки. Укажите возможные дефекты и причины их возникновения.

Вариант 79
1. Вычертите диаграмму состояния железо - карбид железа, укажите структурные составляющие во всех областях диаграммы, опишите превращения и постройте кривую охлаждения в интервале температур от 1600 до 0°С (с применением правил фаз) для сплава, содержащего 0,5% С. Выберите для заданного сплава любую температуру между линиями ликвидус и солидус и определите состав фаз (т.е. процентное содержание углерода в фазах при этой температуре) и количественное соотношение фаз.
2. Покажите графически режим отжига для получения перлитного ковкого чугуна. Опишите структурные превращения, происходящие в процессе отжига, и механические свойства чугуна после термической обработки.
3. В результате термической обработки червяки должны получить твердый износоустойчивый поверхностный слой при вязкой сердцевине. Для их изготовления выбрана сталь 20ХГР. Укажите состав и группу стали по назначению. Назначьте и обоснуйте режим термической обработки, объяснив влияние легирования на превращения, происходящие при термической обработке данной стали. Опишите микроструктуру и свойства стали после термической обработки.
4. Кулачки должны иметь минимальную деформацию и высокую твердость, износоустойчивость поверхностного слоя (НУ750—1000). Для изготовления их выбрана сталь ЗОХМА:
а) расшифруйте состав и определите группу стали по назначению.
б) назначьте режим термической и химико-термической обработки, приведите подробное его обоснование, объяснив влияние легирования на превращения в стали при ее термической обработке.
в) опишите структуру и свойства изделий на поверхности и в сердцевине.
5. Приведите характеристику свойств алюминия и укажите области его применения. Опишите последовательность технологического процесса производства глинозема и электролитического получения алюминия.
6. По эскизу детали (рис.15) разработайте эскизы элементов литейной формы, модельных плит, стержневого ящика, собранной литейной формы (в разрезе). Опишите последовательность изготовления формы одним из методом машинной формовки. Материал детали – чугун СЧ20.
7. Опишите микроструктуру и свойства отливок из высокопрочного чугуна. Приведите примеры маркировки высокопрочного чугуна по Государственному стандарту. Изложите технологические особенности получения отливок из высокопрочного чугуна и укажите области их применения.

8. Изобразите схему и опишите сущность процесса контактной стыковой сварки оплавлением. Начертите и опишите циклограмму процесса стыковой сварки оплавлением. Объясните, за счет чего происходит процесс сварки труб (рис. 43) из стали марки Ст3. Производство массовое. Укажите подготовку заготовок под сварку. По площади сечения свариваемых заготовок выберите тип машины и укажите ее технические данные. По значениям j (А/мм2) и p (мН/м2) определите ток и усилие осадки. Определите установочную длину с учетом припуска на оплавление, осадку и время сварки изделия. Укажите возможные дефекты и причины их возникновения.

Вариант 80
1. Опишите точечные несовершенства кристаллического строения и их влияние на свойства металлов.
2. Вычертите диаграмму состояния железо - карбид железа, укажите структурные составляющие во всех областях диаграммы, опишите превращения и постройте кривую охлаждения в интервале температур от 1600 до 0°С (с применением правила фаз) для сплава, содержащего 3,5% С. Для заданного сплава определите процентное содержание углерода в фазах при температуре 1000°С.
3. Для изготовления молотовых штампов выбрана сталь 5ХНВ. Укажите состав, назначьте и обоснуйте режим термической обработки, объяснив влияние легирования на превращения, происходящие при термической обработке данной стали. Опишите структуру и главные свойства штампов после термической обработки.
4. Для изготовления машинных метчиков выбрана сталь Р10К5Ф5;
а) расшифруйте состав и определите, к какой группе относится данная сталь по назначению;
б) назначьте режим термической обработки, приведите подробное его обоснование, объяснив влияние легирования на превращения, происходящие на всех этапах термической обработки данной стали;
в) опишите структуру и свойства стали после термической обработки.
5. Приведите характеристику свойств магния и области его применения. Опишите последовательность технологического процесса производства магния из карналлита.
6. По эскизу детали (рис.16) разработайте эскизы элементов литейной формы, модельных плит, стержневого ящика и собранной литейной формы (в разрезе). Опишите последовательность изготовления формы одним из методом машинной формовки. Материал детали – сталь 35Л.
7. Опишите микроструктуру и свойства отливок из ковкого чугуна. Приведите примеры маркировки ковкого чугуна по Государственному стандарту. Изложите технологические особенности получения отливок из ковкого чугуна и укажите области их применения.

8. Изобразите схему и опишите сущность процесса автоматической сварки под слоем флюса. Укажите назначение флюса и флюсовой подушки. Разработайте процесс односторонней сварки плиты из стали марки Ст3 (рис.36). Производство крупносерийное. Укажите тип соединения, форму разделки кромок под сварку (по ГОСТу) и приведите эскиз сечения шва с указанием размеров. Выберите марку и диаметр электродной проволоки и флюса, подберите режим сварки. По размерам шва подсчитайте массу наплавленного металла. Определите расход электродной проволоки и флюса с учетом потерь, расход электроэнергии и время сварки изделия. Укажите методы контроля качества сварного шва.

Вариант 81
1. Как и почему изменяются механические свойства металлов при холодной пластической деформации?
2. Вычертите диаграмму состояния железо - карбид железа, укажите структурные составляющие во всех областях диаграммы. опишите превращения и постройте кривую нагревания в интервале температур от 0 до 1600°С(с применением правила фаз) для сплава, содержащего 40% С. Для заданного сплава определите содержание углерода в фазах при температуре 900°С.
3. Физические основы сварки пластмасс. Опишите методы сварки с непосредственным нагревом, их преимущества и недостатки.
4. В результате термической обработки тяги должны получить повышенную прочность по всему сечению (твердость 250...280 НВ). Для их изготовления выбрана сталь ЗОХМ. Укажите состав и определите группу стали по назначению. Назначьте и обоснуйте режим термической обработки, объяснив влияние легирования на превращения, происходящие при термической обработке данной стали. Опишите структуру и свойства стали после термической обработки.
5. Приведите краткую характеристику современного металлургического производства. Опишите его структуру, основные виды продукции и перспективы развития.
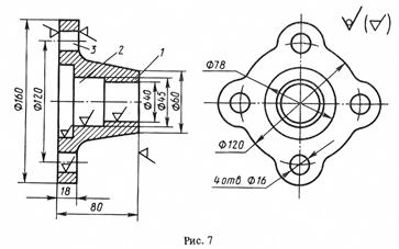
6. По эскизу детали (рис.7) разработайте эскизы: элементов литейной формы, модели стержневого ящика, собранной литейной формы (в разрезе). Опишите последовательность изготовления литейной формы. Материал детали – сталь 35Л.
7. Перечислите основные литейные свойства сплавов. Приведите краткую характеристику жидкотекучести сплавов, укажите факторы, влияющие на жидкотекучесть.

8. Изобразите схему и опишите сущность процесса ручной электродуговой сварки толстопокрытыми электродами. Укажите назначение покрытия. Разработайте процесс сварки цилиндрической части резервуара из стали марки Ст3 (рис.35). Производство мелкосерийное. Укажите тип соединения, форму разделки кромок под сварку (по ГОСТу) и приведите эскиз сечения шва с указанием размеров. Подберите марку и диаметр электрода, определите режим сварки. По размерам шва подсчитайте массу наплавленного металла. Определите расход электродов с учетом потерь, расход электроэнергии и время сварки изделия. Укажите методы контроля качества сварного шва.

Вариант 82
1. Опишите применение металлокерамических твердых сплавов в производстве штампов. Укажите их строение, состав и свойства.
2. Вычертите диаграмму состояния железо - карбид железа, укажите структурные составляющие во всех областях диаграммы, опишите превращения и постройте кривую охлаждения в интервале температур от 1600 до 0°С (с применением правила фаз) для сплава, содержащего 1,3% С. Выберите для заданного сплава любую температуру между линиями ликвидус и солидус и определите состав фаз (т.е. процентное содержание углерода в фаза) и количественное соотношение фаз.
3. С помощью диаграммы состояния железо - карбид железа определите температуру полной и неполной закалки для стали 40 и дайте краткое описание микроструктуры и свойств стали после каждого вида термической обработки.
4. Для изготовления прошивочных пуансонов выбрана сталь Р18К5Ф2. Укажите состав стали и определите группу стали по назначению. Назначьте и обоснуйте режим термической обработки, объяснив влияние легирования на превращения, происходящие на всех этапах термической обработки данной стали. Опишите микроструктуру и свойства пуансонов после термической обработки.
5. Приведите схему профиля доменной печи и опишите принцип ее работы. Изложите основные физико-химические процессы, происходящие в доменной печи, и укажите назначение основного продукта доменной плавки.
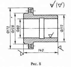
6. По эскизу детали (рис.8) разработайте эскизы элементов литейной формы, модельных плит, стержневого ящика и собранной литниковой системы (в разрезе).
Опишите последовательность изготовления формы одним из методов машинной формовки. Материал детали – сталь 35Л.
7. Перечислите основные литейные свойства сплавов. Приведите характеристику усадки сплавов. Укажите, какие дефекты в отливках связаны с усадкой сплавов и меры их предупреждения.

8. Изобразите схему и опишите сущность процесса автоматической сварки под слоем флюса. Укажите назначение флюса и флюсовой подушки. Разработайте процесс односторонней сварки плиты из стали марки Ст3 (рис.36). Производство крупносерийное. Укажите тип соединения, форму разделки кромок под сварку (по ГОСТу) и приведите эскиз сечения шва с указанием размеров. Выберите марку и диаметр электродной проволоки и флюса, подберите режим сварки. По размерам шва подсчитайте массу наплавленного металла. Определите расход электродной проволоки и флюса с учетом потерь, расход электроэнергии и время сварки изделия. Укажите методы контроля качества сварного шва.

Вариант 83
1. Вычертите диаграмму состояния железо - карбид железа, укажите структурные составляющие во всех областях диаграммы, опишите превращения и по стройте кривую нагревания в интервале температур от 0 до 1600°С (с применением правила фаз) для сплава, содержащего 5,8% С. Для заданного сплава при температуре 1250°С определите состав фаз (т.е. процентное содержание углерода в фазах) и количественное соотношение фаз.
2. С помощью диаграммы состояния железо - карбид железа определите температуры нормализации, отжига и закалки для стали У10. Охарактеризуйте эти режимы термической обработки и кратко опишите микроструктуру и свойства стали после каждого вида обработки.
3. Для изготовления машинных метчиков выбрана сталь Р10К5Ф5. Укажите состав и определите группу стали по назначению. Назначьте режим термической обработки, приведите его обоснование, объяснив влияние легирования на превращения, происходящие на всех этапах термической обработки данной стали. Опишите структуру и свойства стали после термической обработки.
4. В результате термической обработки поршневые пальцы должны получить твердый износоустойчивый поверхностный слой при вязкой сердцевине. Для их изготовления выбрана сталь 18ХГТ:
а) расшифруйте состав и определите группу, к которой относится данная сталь по назначению;
б) назначьте режим термической и химико-термической обработки, приведите подробное его обоснование, объяснив влияние легирования на превращения, происходящие на всех этапах обработки данной стали;
в) опишите микроструктуру и свойства стали в готовомвиде.
5. Изложите сущность процесса передела чугуна в сталь. Приведите основные химические реакции, характеризующие процесс передела. Перечислите современные плавильные печи и агрегаты, в которых получают сталь.
6. По эскизу детали (рис.9) разработайте эскизы: элементов литейной формы, модели стержневого ящика, собранной литейной формы (в разрезе). Опишите последовательность изготовления литейной формы методом ручной формовки. Материал детали – чугун СЧ20.
7. Укажите причины возникновения трещин в отливках. Перечислите виды трещин. Меры их предупреждения и коробления отливок.

8. Изобразите схему и опишите сущность процесса полуавтоматической сварки в среде углекислого газа. Укажите особенности и достоинства сварки в углекислом газе. Разработайте процесс сварки двутавровой балки (рис.37) из стали марки Ст3.Шов прерывистый: l/t=100/200. Укажите тип соединения, форму разделки кромок под сварку (по ГОСТу) и приведите эскиз сечения шва с указанием размеров. Выберите марку и диаметр электродной проволоки, подберите режим сварки. Укажите вылет электрода, род тока и полярность. По размерам шва подсчитайте массу наплавленного металла. Определите расход электродной проволоки с учетом потерь, расход электроэнергии и время сварки изделия. Укажите методы контроля качества сварного шва.

Вариант 84
1. Как изменяются структура и свойства металла при холодной пластической деформации?
2. Вычертите диаграмму состояния железо - карбид железа, укажите структурные составляющие во всех областях диаграммы, опишите превращения и постройте кривую охлаждения в интервале температур от 1600 до 0°С (с применением правила фаз) для сплава, содержащего 2,3% С. Выберите для заданного сплава любую температуру между линиями ликвидус и солидус и определите состав фаз (т.е. процентное содержание углерода в фазах) и количественное соотношение фаз.
3. В результате термической обработки шестерни должны получить твердый износоустойчивый поверхностный слой при вязкой сердцевине. Для их изготовления выбрана сталь 12ХНЗА. Укажите состав и определите группу стали по назначению. Назначьте режим термической и химико-термической обработки, приведите его обоснование, объяснив влияние легирования на превращения, происходящие на всех этапах обработки данной стали. Опишите структуру и свойства стали после термической обработки.
4. В результате термической обработки рычаги должны получить повышенную прочность по всему сечению (твердость HRC28—35). Для изготовления их выбрана сталь 35ХМА:
а) расшифруйте состав и определите, к какой группе относится данная: сталь по назначению;
б) назначьте режим термической обработки, приведите его подробное обоснование, объяснив влияние легирования на превращения, происходящие на всех этапах термической обработки этой стали;
в) опишите микроструктуру и свойства стали после термической обработки.
5. Приведите схему кислородного конвертера и изложите принцип его работы. Опишите особенности процесса плавки стали, укажите основные достоинства и недостатки выплавки стали в конверторах.
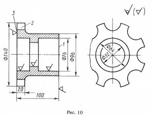
6. По эскизу детали (рис.10) разработайте эскизы элементов литейной формы, модельных плит, стержневого ящика и собранной литейной формы (в разрезе). Опишите последовательность изготовления формы одним из методов машинной формовки. Материал детали - чугун СЧ20.
7. Изложите технологическую последовательность изготовления отливок по выплавляемым моделям. Отметьте, какие технологические особенности процесса обеспечивают высокую точность размеров и высокий класс шероховатости поверхностей отливок.

8. Изобразите схему автоматической сварки в среде аргона плавящимся электродом и опишите сущность процесса. Укажите особенности и достоинства сварки в среде инертных газов. Разработайте процесс сварки сосуда (рис.38) из стали12Х18Н10Т. Укажите тип соединения, форму разделки кромок под сварку (по ГОСТу) и приведите эскиз сечения шва с указанием размеров. Выберите марку и диаметр электродной проволоки, подберите режим сварки. Укажите вылет электрода, род тока и полярность. По размерам шва подсчитайте массу наплавленного металла. Определите расход электродной проволоки с учетом потерь, расход электроэнергии и время сварки изделия. Укажите методы контроля качества сварного шва.

Вариант 85
1. Вычертите диаграмму состояния системы медь -никель. Опишите взаимодействие компонентов в жидком и твердом состояниях, укажите структурные составляющие во всех областях диаграммы состояния и объясните характер изменения свойств сплавов в данной системе с помощью правил Курнакова.
2. С помощью диаграммы состояния железо - карбид железа определите температуру полного и неполного отжига и нормализации для стали 20. Охарактеризуйте эти режимы термической обработки и приведите краткое описание микроструктуры и свойств стали после каждого вида обработки.
3. Для изготовления пресс-форм выбрана сталь ЗХ2В8. Укажите состав и определите группу стали по назначению. Назначьте и обоснуйте режим термической обработки, объяснив влияние легирования на превращения, происходящие при термической обработке данной стали. Опишите структуру и свойства пресс-форм после термической обработки.
4. Копиры должны иметь минимальную деформацию и высокую износоустойчив (твердость поверхностного слоя HV750-1000). Для их изготовления выбрана сталь 38ХМЮА:
а) расшифруйте состав и определите, к какой группе по назначению относится данная сталь;
б) назначьте режим термической обработки, приведите подробное его обоснование, объяснив влияние легирования на превращения, происходящие на всех этапах обработки данной стали;
в) опишите микроструктуру и свойства стали после термической и химико-термической обработки.
5. Опишите способы внепечной обработки стали для повышения ее качества. Отметьте факторы, способствующие улучшению качества стали в каждом способе.
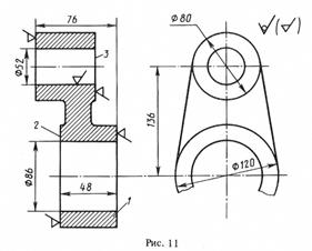
6. По эскизу детали (рис.11) разработайте эскизы элементов литейной формы, модели стержневого ящика, собранной литейной формы (в разрезе). Опишите последовательность изготовления литейной формы методом ручной формовки. Материал детали – чугун СЧ20.
7. Изложите сущность способа литья в оболочковые формы и приведите поясняющие эскизы. Укажите достоинства, недостатки и области применения этого способа литья.

8. Изобразите схему и опишите сущность процесса автоматической сварки в среде углекислого газа. Укажите особенности и достоинства сварки в углекислом газе. Разработайте процесс сварки коробчатой балки (рис.39) из стали марки Ст3. Укажите тип соединения, форму разделки кромок под сварку (по ГОСТу) и приведите эскиз сечения шва с указанием размеров. Выберите марку и диаметр электродной проволоки, подберите режим сварки. Укажите вылет электрода, род тока и полярность. По размерам шва подсчитайте массу наплавленного металла. Определите расход электродной проволоки с учетом потерь, расход электроэнергии и время сварки изделия. Укажите методы контроля качества сварного шва.

Вариант 86
1. Опишите влияние скорости охлаждения на величину зерна после кристаллизации.
2. Вычертите диаграмму состояния железо - карбид железа. Укажите структурные составляющие во всех областях диаграммы, опишите превращения и постройте кривую охлаждения в интервале температур от 1600 до 0°С (с применением правила фаз) для сплава, содержащего 0,5% С. Выберите для заданного сплава любую температуру между линиями ликвидус и солидус и определите состав фаз (т.е. процентное содержание углерода в фазах) и количественное соотношение фаз.
3. Для изготовления резцов выбрана сталь ХВ5. Укажите состав, назначьте и обоснуйте режим термической обработки, объяснив влияние легирования на превращения, происходящие при термической обработке данной стали. Опишите микроструктуру и свойства стали после термической обработки.
4. Для изготовления молотовых штампов выбрана сталь 5ХГМ:
а) расшифруйте состав и определите, к какой группе относится данная сталь по назначению;
б) назначьте режим термической обработки, приведите подробнее его обоснование, объяснив влияние легирования на превращения, происходящие на всех этапах термической обработки данной стали;
5. в) опишите структуру и главные свойства стали после термической обрабоОпишите способы вторичного переплава слитков, повышающие их качество. Отметьте факторы, способствующие повышению качества слитков в каждом способе.
6. По эскизу детали (рис.12) разработайте эскизы элементов литейной формы, модели стержневого ящика, собранной литейной формы (в разрезе). Опишите последовательность изготовления литейной формы методом ручной формовки. Материал детали – чугун СЧ20.
Дата добавления: 2015-08-01; просмотров: 1411;
