Специфика конструирования узлов трения
Первый опыт разработки конструкции различных узлов трения создавался в прошлые эпохи независимо от развития науки. В современной технике одновременное развитие фундаментальных наук, технических дисциплин и трибологии позволило на практике создавать узлы трения высочайшего качества, работающие не только в транспортных и технологических машинах, но и в экстремальных режимах, высоких и низких температурах, в вакууме, при радиации, в химически агрессивных средах на земле и в космических условиях.
Однако и сегодня многие проблемы создания оптимальных по характеристикам узлов трения и научные достижения в этой области далеки от совершенства, так же, как узлы трения, созданные инженерами, далеки по совершенству от творения природы в растительных и живых организмах.
Область конструкционных способов обеспечения высокой работоспособности узлов трения охватывает системную группу проблем, каждый элемент которой должен получить оптимальное разрешение.
Круг основных направлений действий конструктора показан на схеме (рис. 5.34).
Приведенная схема по-разному реализуется в структурах конструкторских подразделений. На крупных автозаводах существует разделение служб, разрабатывающих новые изделия и сопровождающих выпуск изделий, переданных в серийное производство. Например, разработку новых моделей автомобилей ВАЗ ведет Департамент развития, включающий в себя научный центр, систему лабора-
| Определение назначения узла трения Разработка технического задания на проектирование | ||||||||||||||||||||||||||||||||
| Разработка конструкции узла. Использование прототипов и аналогов | ||||||||||||||||||||||||||||||||
| Обеспечение кинематических характеристик | Обеспечение прогноза | Обеспечение температурной устойчивости | Обеспечение динамической устойчивости | Обеспечение экологических требований | ||||||||||||||||||||||||||||
| Выбор конструкционных характеристик | Выбор смазочных материалов и проектирование сис- темы смазки | Выбор технологических методов изготовления и сборки | Организация узловых, стендовых и эксплуатационных испытаний | |||||||||||||||||||||||||||||
| Разработка системы обеспечения качества согласно YSO - 9000 | ||||||||||||||||||||||||||||||||
| Разработка технологии ремонта и реновации | ||||||||||||||||||||||||||||||||
| Решение вопросов утилизации отработавших узлов трения и смазки | ||||||||||||||||||||||||||||||||
| Р и с. 5.34. Общая схема основных элементов создания конструкции, узлов трения | ||||||||||||||||||||||||||||||||
торий, опытных производств, испытательных баз (включая треки и полигоны дорожных испытаний), аэродинамическую трубу и другие подразделения, имеющие необходимые средства для разработки, исследования, испытания и доводки узлов трения.
В серийном производстве кроме служб технического контроля также имеются лаборатории, средства испытания и другие службы, входящие в схему обеспечения качества.
Ресурсные характеристики узлов трения регламентированы в нашей стране классами износостойкости. Значения износостойкости колеблются в широких пределах: 103¸1013. Сведения о классах износостойкости приведены в табл. 5.21.
В таблице 5.22 представлены данные о классах износостойкости ряда узлов трения автомобилей.
Приведем пример, вычисления линейного износа в конце эксплуатационного срока в парах трения: коренной подшипник-вкладыш и поршень-цилиндр. При путевом ресурсе в 100000 км и средней скорости 50 км/ч временной ресурс составляет 2000 ч. Если принять частоту вращения коленвала n=3000 об/мин и диаметр шейки вала 60 мм, линейная скорость составляет V=pdn/60=10 м/с. Путь трения L=V×t = 7,2×107м. Для 12-го класса износостойкости I=U-1=10-12, а величина линейного износа Dр=L×I=0,072 мм.
Для пары поршень-цилиндр при эксцентриситете коленвала 75 мм, путь поршня за 1 оборот составит L1=4×75=300 мм. Путь за 1 минуту - Lм=3000×0,3= 900 м. Путь за 2000 ч - L@1,1×108 м. Величина линейного износа к концу срока
| Таблица 5.21. | ||||
| Классы износостойкости | ||||
| Класс | U | Класс | U | |
| 103-104 | 108-109 | |||
| 104-105 | 109-1010 | |||
| 105-106 | 1010-1011 | |||
| 106-107 | 1011-1012 | |||
| 107-108 | 1012-103 | |||
| Таблица 5.22. | ||||
| Износостойкость некоторых узлов трения | ||||
| Узел трения | Класс | |||
| Цилиндро-поршневая группа | 11-12 | |||
| Колодочный тормоз | 6-7 | |||
| Дисковый тормоз | 6-10 | |||
| Подшипники скольжения коренные, латунные | 11-12 | |||
| Зубчатые передачи | 5-8 | |||
эксплуатации достигнет величины Dh = 0,1 мм. Как видим, расчеты дают вполне реальные значения износа.
При создании узлов трения имеется ряд характерных триботехнических задач, на которые необходимо обратить особое внимание.
Выбор типа подшипников является одним из основных вопросов конструирования узлов трения.
В качестве критерия предварительного выбора типа подшипников используют показатель - произведение скорости вращения n (c-1) на нагрузку Р (H), действующую на узел трения. В зависимости от величины этого произведения выбирают тип подшипника.
Общий диапазон реальных значений nP составляет 10-2¸107 Н×с-1.
В одном из вариантов, для удобства и быстроты решений, на основе практики конструкторской работы созданы номограммы, по которым предварительно выбирают тип подшипника: для радиальных (рис. 5.35) и для осевых упорных (рис. 5.36).
Номограммы ориентируют на выбор типов подшипников: скольжения без смазки, скольжения гидродинамические, гидростатические, пористые (из самосмазывающихся материалов) и качения.
Пример.
Средняя номинальная скорость вращения n коленчатого вала - 2000 об/мин или 33,3 с-1.
Расчетная нагрузка P на коренной подшипник - 3000 Н.
Диаметр вала - 70 мм.
| - подшипники скольжения без смазки;
- пористые подшипники скольжения;
- подшипники качения;
- гидродинамические подшипники скольжения
|
| Р и с. 5.35. Области применения различных типов радиальных подшипников: | |
| - подшипники скольжения без смазки;
- подшипники качения;
- гидродинамические подшипники скольжения
|
| Р и с. 5.36. Области применения различных типов упорных подшипников: |
n х P = 33,3 х 3000 » 104 Н×с-1.
По номограмме (см. рис. 5.35) находим пересечение трех характеристик: Р (Н), n (мин-1) и n (с-1). Оно указывает, что рассматриваемый случай относится к области применения подшипников скольжения. При окончательном выборе типа подшипников тщательно изучают прототипы проектируемых узлов трения, опыт их эксплуатации и особенности конструкции. После выбора базовой схемы ее дорабатывают по условиям Технического задания.
В целом конструкторы придерживаются ряда общих правил отработки узлов трения. Так, одним из общих правил проектирования узлов трения-скольжения является правило выбора материалов пары и структуры. Оно содержит правило выбора твердости и правило различия структуры.
Правило несовпадения твердости шипа и подшипника
Для благоприятного сочетания материал одной детали должен быть тверже другой. Принято, как правило, шипы валов изготавливать из термообработанных конструкционных сталей, нередко с покрытием (например твердый хром), имеющих высокую твердость HRC = 40 ¸ 60. Втулки или вкладыши подшипника изготавливают из сплавов цветных металлов (бронза, латунь, баббит и др.) с низкой твердостью НВ = 20 ¸ 30 для баббитов, НВ = 40 ¸ 120 для бронз, латуней и других металлических материалов.
Это правило учитывает практический опыт, заключающийся в том, что в такой паре поверхность шипа практически не изнашивается, поскольку является высокопрочной и твердой, касательные деформации от трения для нее не опасны, а поверхность втулки (вкладыша) пластична. Она не "боится" пластической деформации, поскольку легко ее реализует. Кроме того, в пластичных металлах непрерывно работает механизм релаксации, "залечивающий" возникающие повреждения.
Пары, у которых вал имеет большую твердость (Нвала > Н подш)., называют прямыми, при Нвала < Нподш. - обратными.
Правило максимального различия размеров структурных составляющих материала
В прямой паре стальной шип – бронзовая втулка, структурные элементы стали (блоки мозаики) имеют размеры в долях микрометра (10-6) мм, у бронзы - 10-4мм.
При подобном подборе разнородность свойств и размеров структурных составляющих предотвращает или снижает действие главного бича подшипников скольжения - схватывания и задиров.
Правило снижения концентрации контактных напряжений
Деформация узлов трения под нагрузкой при действии рабочих температур, неточности формы, размеров и относительного расположения всегда создают концентрацию контактных напряжений на зубьях шестерен (рис. 5.37), в шипах и втулках подшипников скольжения, качения, прямолинейных направляющих и т.п.
Примеры такого рода упоминались при характеристике узлов трения двигателей и трансмиссий. Расчетными методами и проверкой при испытаниях выбирают конструктивные решения для достижения условия: (gmax – gmin) ® min.
Принципиально для этого имеется два пути:
| ||||||
| а | б | |||||
| ||||||
| в | г | д | ||||
| Р и с. 5.37. Схемы деформации валов (а, б) и перекоса зубьев шестерен и образования концентрации нагрузки q по ширине зуба (в, г, д) | ||||||
| ||||||
| а | б | |||||
| Р и с. 5.38. Консольное (а) и неконсольное (б) расположение конического колеса, снижающее деформацию вала и неравномерность нагрузки (D1, D2 - перемещения вала соответственно на опорах 1 и 2) | ||||||
путь повышения точности и жесткости;
путь применения задаваемой податливости.
На рис. 5.38 приведен пример решения, когда введение дополнительной опоры 3 снизило деформацию зубчатого колеса под нагрузкой, и тем самым уменьшалась концентрация напряжений в пятне контакта шипа, подшипника и на зубьях.
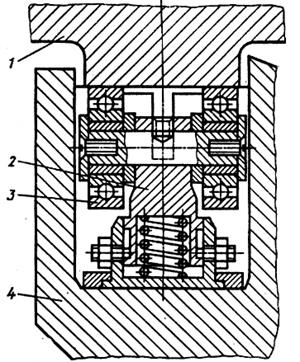
Пример применения плавающей опоры (подшипник 2) иллюстрирует способ компенсации тепловой деформации (вал нагревается больше, чем корпус), (рис. 5.39).
Возможны конструктивные решения по уменьшению влияния тепловых деформаций. Например, устройства тепловой дамбы на поршне (рис. 5.40). В форсированных двигателях внутреннего сгорания и неохлаждаемых поршнях основ-
Р и с. 5.39. Опорный узел
с шарикоподшипниками:
1 - закрепленная опора;
2 - плавающая опора
|
а
б
| |
| Р и с. 5.40. Тепловые дамбы поршней: а - в виде прорези; б - в виде аустенитной проставки (в алюминиевом поршне) | ||
ным проводником теплоты являются поршневые кольца. В таких двигателях два верхних поршневых кольца могут перегреваться. Канавка или вставка обеспечивают большую равномерность нагрева верхнего и нижнего колец.
В двигателях легковых и грузовых автомобилей используют поршни из алюминиевых сплавов с жесткой головкой и разрезными цилиндрическими или овальными юбками (рис. 5.41). Головка поршня двумя длинными прорезями отделена от юбки, а последняя на одной из боковых сторон имеет косой разрез по всей длине. Такая конструкция придает юбке поршня упругость и способность деформироваться независимо от его головки. Это позволяет при ходовой посадке поршня в холодном двигателе избежать заедания при перегревах. Указанные прорези, кроме того, облегчают отвод в картер масла, снимаемого со стенок цилиндра маслосбрасывающими кольцами поршня при его прямом ходе. Поперечные прорези уменьшают отвод теплоты от головки поршня к его юбке и улучшают условия смазывания. Косой продольный паз предупреждает образование гребня в верхней части зеркала цилиндра, вызываемое износом. Продольные Т- и П-образные пазы юбки поршня не доводится до нижнего ее обреза. Во избежание заедания неразрезанного нижнего пояса юбку поршня выполняют эллипсоидальной, с меньшей осью в направлении оси поршневого пальца. По большей оси эллипса холодный поршень образует с цилиндром посадку с зазором, при нагреве его юбка расширяется в направлении оси поршневого кольца.
Проведем еще два примера реализации правила снижения контактных напряжений конструктивными методами.
а б в
| |
| Р и с. 5.41. Цельноалюминиевые поршни: а - с цилиндрической разрезной юбкой; б - с овальной юбкой и Т-образным разрезом; в - с овальной юбкой и П-образным разрезом | |
|
|
| Р и с. 5.42. Разгрузочная канавка 1 на торцевой поверхности подпятника шестеренного насоса (А - полость всасывания; Б - полость нагнетания) | Р и с. 5.43. Роликовая опора для разгрузки направляющих: 1 - стол; 2 - основание; 3 - ролик; 4 - станина станка; 5 - разгружающая пружина |
Гидроразгрузка. На рис. 5.42 приведен пример разгрузки подпятника шестеренного насоса путем устройства разгрузочной канавки 1, соединяющей замкнутую полость с камерой нагнетания.
Механическая разгрузка. На рис. 5.43 приведен пример разгрузки прямолинейной роликовой направляющей[1]. Величина разгрузки определяется заданной характеристикой пружины.
Традиция преодоления сил трения и уменьшения изнашивания, прежде всего, связана с применением смазки. В современных машинах трение без смазки практически исключено. Конструкторские задачи организации смазки сводятся к определению и выбору типа смазочного материала (масло, пластичная смазка, твердая смазка), способа доставки смазочного материала в зону трения, устройства маслосистемы (включая очистку, термостабилизацию, насосное хозяйство, трубопроводы, форсунки для адресной подачи масла или при смазывании "масляным туманом" и суфлеры для отсоса масла на выходе из рабочей зоны).
В подшипниках качения применяют закладную смазку, рассчитанную либо на весь ресурс работы подшипника, либо на периодическую замену, как это принято при эксплуатации электродвигателей.
Важной конструкторской задачей для подшипников скольжения является устройство масляных канавок и карманов на поверхности трения. Пример одного из решений приведен на рис. 5.44.
|
| Р и с. 5.44. Пример исполнения канавки на вкладыше подшипника скольжения |
Далее будет показано благотворное воздействие на преодоление "масляного голодания" регулярных рельефов различной гравюры, тип которой выбирается исходя из особенностей работы подшипника. Так, в подшипниках гидродинамического типа устройство сетки канавок противопоказано, так как они приводят к снижению давления в смазочном клине. Здесь эффективна система не связанных между собой углублений, содержащих "резервную" смазку. Однако все решения по конструкции узлов трения принимаются после тщательных расчетов, а критерием эффективности принятых решений являются результаты испытания.
Дата добавления: 2015-07-06; просмотров: 2142;

- подшипники скольжения без смазки;
- пористые подшипники скольжения;
- подшипники качения;
- гидродинамические подшипники скольжения
Р и с. 5.39. Опорный узел
с шарикоподшипниками:
1 - закрепленная опора;
2 - плавающая опора
а
б
а б в