Сварочный трактор марки TC-I7
Техническая характеристика:
Пределы регулирования сварочного тока, А …………600÷1200'
Род тока - постоянный и переменный
Скорость подачи сварочной проволоки, м/час 52÷403
Скорость сварки, м/час 16÷126
Диаметр электродной проволоки, мм 1,6÷5,0
Габариты, мм 730х350х590
Масса, кг 42
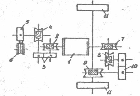
Сварочный трактор (конструкцию изучить в лабораторных условиях) состоит из следующих основных узлов (рис.2): электродвигателя I, механизма подачи сварочной проволоки 2, механизма передвижения 3, мундштука 4,бункера для флюса 5, направляющего ролика 6, пульта управления 7, корректировочного механизма 8, кассеты 10 и шасси трактора 11.
Электродвигатель, имеющий два выходных конца вала, приводит в движение механизм подачи сварочной проволоки и механизм передвижения трактора.
Механизм подачи сварочной проволоки состоит из двухступенчатого редуктора, валы которого соединены сменными шестернями, подающего ролика и прижимного ролика, между которыми зажата проволока. При вращении роликов проволока подается в зону сварки. Скорость ее может меняться за счет сменных шестерен.
Механизм передвижения служит для перемещения трактора в процессе сварки. Вращение колесам передается от электродвигателя через двухступенчатый редуктор и пару сменных шестерен.
Питание сварочной дуги производится, как привило, от трансформатора марки ТСД-1000 (ТДФ-1002), а управление - от аппаратного шкафа. Управление осуществляется дистанционно.
Рис.2. Общий вид сварочного трактора ТС-17М.
|
Рис.3. Кинематическая схема трактора ТС-17М: 1- электродвигатель, 2,4,7,8 и 9 –червячные пары, 3, 10 – цилиндрические пары, 5- подающий ролик, 6 – прижимной ролик, 11- ходовые бегунки.
Дата добавления: 2015-08-01; просмотров: 1731;
