Устройство и принцип действия. Транзистор представляет собой полупроводниковый прибор с двумя взаимодействующими переходами и тремя или более выводами
Транзистор представляет собой полупроводниковый прибор с двумя взаимодействующими переходами и тремя или более выводами, усилительные свойства которого обусловлены явлениями инжекции и экстракции н Электропроводность базы может быть электронной (p -n - p) или дырочной (n - p - n ).В (p -n - p) транзисторе основной ток создается дырками, текущими через базу, а в (n - p - n )- электронами. В усилительном режиме эмиттерный переход смещен в прямом направлении, а коллекторный

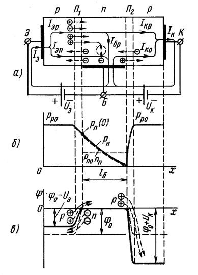
Рис. 27. Распределение потенциалов и токов в структуре транзистора.
а - транзисторная структура; б - распределение концентраций
носителей; в - распределение внутренней разности потенциалов
- в обратном. Соответственно вольтамперная характеристика эмиттерного перехода представляет прямую ветвь, а коллекторного - обратную. Концентрация основных носителей в области коллектора обычно несколько меньше, чем в области эмиттера. Распределение потенциала показано на Рис. 27.
Штрих-пунктирная линия соответствует распределению потенциала при отсутствии питающих напряжений. Сплошная линия соответствует состоянию при подключенных источниках питания. При наличии коллекторного напряжения Uкпоявляется небольшой обратный ток коллекторного перехода Iкбо . Это важнейший параметр транзистора. Он представляет собой ток через коллекторный переход при заданном обратном напряжении Uкб и разомкнутом выводе эмиттера. При наличии питания Uэпроисходит прямое смещение эмиттерного перехода и появляется Iэ, определяемый током диффузии. Он имеет две составляющие - дырочную и электронную:
Iэ = Iэ n + Iэ p (3.1)
Поскольку база бедна основными носителями (электронами проводимости), а эмиттер имеет высокую концентрацию основных носителей (дырок проводимости) Iэp >> Iэn (pp0 >> nn0). Электронная составляющая замыкается через цепь базы и не участвует в создании тока коллектора. Диффузия электронов из базы в эмиттер восполняется притоком в базу новых электронов из внешней цепи, что и определяет электронную составляющую тока эмиттера. Отношение
Iэp / Iэ = Iэp / (Iэp + Iэn ) = g = 0,97 - 0,995 (3.2)
называется эффективностью эмиттера или коэффициентом инжекции.
Дырочная составляющая тока эмиттера определяется переходом дырок из эмиттера в базу. Инжектированные дырки под действием диффузии перемещаются из базы к коллектору. При непрерывной инжекции (Iэ = const) в базе устанавливается соответствующее распределение концентрации дырок, что и определяет их перенос через базу. Дырки, как неосновные носители, переходят из базы к коллектору, ускоряются полем коллекторного перехода и увеличивают его ток. Концентрация дырок на границе равна нулю.
Рост Iэ приводит к росту концентрации дырок у эмиттерного перехода, в то время, как их концентрация у коллекторного перехода остается равной нулю. Растет диффузионный ток к коллектору. Часть дырок успевает рекомбинировать с электронами проводимости в базе, вызывая дополнительный приток электронов в базу из внешней цепи. Дырочная составляющая коллекторного тока поэтому меньше, чем эмиттерного тока. Отсюда:
Iэр = Iкр + Iэ рек, (3.3)
где Iэ рек - рекомбинационная составляющая , совпадающая по направлению с Iэnи замыкающаяся через базу; Iкр - дырочная часть тока эмиттера, замыкающаяся через коллектор.
Снижение потерь дырок от рекомбинации осуществляется за счет увеличения их времени жизни и сокращения времени нахождения в базе (база тонкая), а также увеличения скорости прохождения базы.
Базу делают тонкой и бедной основными носителями, а площадь коллекторного перехода - больше в разы, чем площадь эмиттерного. При этом
Iэ.рек << I кр
Отношение
(3.4)
называется коэффициентом переноса (как и для g,значение dблизко к единице).
Величина
(3.5)
называется коэффициентом (статическим, интегральным) передачи тока эмиттера. Он показывает, какая часть тока эмиттера замыкается через коллекторную цепь. Увеличение a обеспечивается увеличением разности концентраций, увеличением времени жизни носителей, сокращением толщины базы.
По закону Кирхгофа
Iэ = Iк + Iб
Iэ = Iэп + Iэ.рек + Iкр
Iб = Iэп + Iэ.рек - Iкбо
Iк = Iкр + Iкбо = aIэ + Iкбо
Коэффициент a зависит и от Iэ (рис. 28). С изменением Iэ коэффици-
Рис.28. Зависимость коэффициента a от тока эмиттера
| ент aизменяется из-за изменения концентрации дырок и числа рекомбинаций. Его первоначальный рост обусловлен ростом коэффициента переноса d , а последующее снижение - падением коэффициента инжекции gс ростом Iэ . Максимуму Iэ в маломощных транзисторах соответствует 0,8 - 3 А. При малых Iэ коэффициент a мень- |
ше единицы, т.к. в этом случае в базе из-за малой концентрации дырок не создается условий для их быстрого переноса через базу. Большинство дырок рекомбинирует и ток эмиттера замыкается через базу, не достигая коллекторного перехода. При больших токах эмиттера в базе накапливается большой заряд, который притягивает отрицательный заряд, образуемый электронами проводимости. Это снова увеличивает рекомбинацию и снижает коэффициент a .
Обратный ток коллекторного перехода обусловлен неосновными носителями - дырками базы. Это тепловой ток. Управляющее действие транзистора обусловлено изменением дырочной составляющей коллекторного тока Iкр за
| |
Дата добавления: 2015-07-30; просмотров: 839;

Рис.28. Зависимость коэффициента a от тока эмиттера