Лекция6. Физические основы работы полупроводниковых диодов
Полупроводниковый диод– это полупроводниковый прибор с одним выпрямляющим
электрическим переходом и двумя выводами, в котором используется то или иное свойство выпрямляющего электрического перехода.
В полупроводниковых диодах выпрямляющим электрическим переходом может быть электронно-дырочный (p–n) переход, либо контакт «металл – полупроводник», обладающий вентильным свойством, либо гетеропереход. В зависимости от типа перехода полупроводниковые диоды имеют следующие структуры (рис.1): а) с p–nпереходом или гетеропереходом, в такой структуре кроме выпрямляющего перехода, должно быть два омических перехода, через которые соединяются выводы диода; б) с выпрямляющим переходом в виде контакта «металл – полупроводник», имеющей всего один омический переход.

Рис 1. Структуры полупроводниковых диодов: с выпрямляющим p–n-переходом (а); с выпрямляющим переходом на контакте «металл – полупроводник» (б). Н – невыпрямляющий электрический (омический) переход. В – выпрямляющий электрический переход. М – металл.
В большинстве случаев полупроводниковые диоды с р-n переходами делают несимметричными, т.е. концентрация примесей в одной из областей значительно больше, чем в другой. Поэтому количество неосновных носителей, инжектируемых из сильно легированной (низкоомной) области, называемой эмиттером диода, в слабо легированную (высокоомную) область, называемую базой диода, значительно больше, чем в противоположном направлении.
Основными классификационными признаками являются тип электрического перехода и назначение диода. В зависимости от геометрических размеров p–n перехода диоды подразделяют на плоскостные и точечные.
Плоскостными называют такие диоды, у которых размеры, определяющие площадь p–n перехода, значительно больше его ширины. У таких диодов площадь p–n перехода может составлять от долей квадратного миллиметра до десятков квадратных сантиметров. Плоскостные диоды изготавливают методом сплавления или методом диффузии (рис. 2(а)). Плоскостные диоды имеют сравнительно большую величину барьерной емкости (до десятков пикофарад), что ограничивает их предельную частоту до 10 кГц.
Рис. 2. Структура плоскостного диода, изготовленного методом сплавления (а); структура точечного диода (б)
Точечные диоды имеют очень малую площадь p–n перехода, причем линейные размеры ее меньше толщины p–n перехода. Точечные р–n-переходы (.унок 2(б)) образуются в месте контакта монокристалла полупроводника и острия металлической проволочки – пружинки. Для обеспечения более надежного контакта его подвергают формовке, для чего уже через собранный диод пропускают короткие импульсы тока. В результате формовки из-за сильного местного нагрева материал острия пружинки расплавляется и диффундирует в кристалл полупроводника, образуя слой иного типа электропроводности, чем полупроводник. Между этим слоем и кристаллом возникает p–n переход полусферической формы. Благодаря малой площади p–n-перехода барьерная ёмкость точечных диодов очень незначительна, что позволяет использовать их на высоких и сверхвысоких частотах. По аналогии с электровакуумными диодами, ту сторону диода, к которой при прямом включении подключается отрицательный полюс источника питания, называют катодом, а противоположную – анодом.

Вольт-амперная характеристика (ВАХ) п.п. диода и его включение при прямом и обратном напряжении
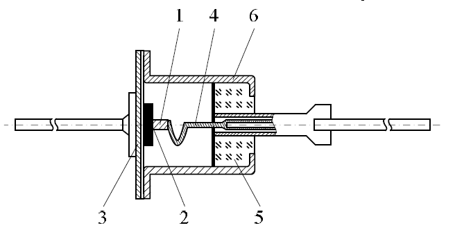
Выпрямительный диод – это полупроводниковый диод, предназначенный для преобразования переменного тока в постоянный. Выпрямительные диоды работающие с высокими напряжениями и токами называются силовыми. На рис. 3 приведена конструкция выпрямительного диода маломощного диода, изготовленного методом сплавления:

Рис. 3. Конструкция выпрямительного диода
1 – кристалл индия; 2 - германий n-типа; 3 - стальной кристаллодержатель; 6 – корпус; 5 - стеклянный проходной изолятор; 4 - внутренний вывод (имеет специальный изгиб для уменьшения механических напряжений при изменении температуры). Условное графическое обозначение выпрямительного диода приведено на рис. 4.

Рис. 4. УГО выпрямительного диода
Типовая вольт-амперная характеристика выпрямительного диода имеет вид, изображенный на рис 5. По вольт-амперной характеристике выпрямительного диода можно определить следующие основные параметры, влияющие на его работу:
1. Номинальный средний прямой ток Iпр ср ном – среднее значение тока, проходящего через открытый диод и обеспечивающего допустимый его нагрев при номинальных условиях охлаждения.
2. Номинальное среднее прямое напряжение Uпр ср ном – среднее значение прямого напряжения на диоде при протекании номинального среднего прямого тока.
3. Напряжение отсечки Uо , определяемое точкой пересечения линейного участка прямой ветви вольт-амперной характеристики с осью напряжений.
4. Пробивное напряжение Uпроб (Uпр) – обратное напряжение на диоде, соответствующее началу участка пробоя на вольт-амперной характеристике, когда она претерпевает излом в сторону резкого увеличения обратного тока.
5. Номинальное обратное напряжение Uобр ном – рабочее обратное напряжение на диоде; его значение для отечественных приборов составляет 0,5Uпроб. Этот параметр используется для обеспечения последовательного включения нескольких диодов в одну электрическую цепь.
6. Номинальное значение обратного тока Iобр ном – величина обратного тока диода при приложении к нему номинального обратного напряжения.
7. Статическое сопротивление диода:
где Iпр – величина прямого тока диода; Uпр – падение напряжения на диоде при протекании тока Iпр.
Статическое сопротивление диода представляет собой его сопротивление постоянному току.
Рисунок 5. Вольт-амперная характеристика выпрямительного диода
Стабилитронами называют полупроводниковые диоды, использующие особенность обратной ветви вольт-амперной характеристики на участке пробоя изменяться в широком диапазоне изменения токов при сравнительно небольшом отклонении напряжения. Это свойство широко используется при создании специальных устройств – стабилизаторов напряжения. Напряжение пробоя стабилитрона зависит от ширины р–п перехода, которая определяется удельным сопротивлением материала полупроводника. Поэтому существует определенная зависимость пробивного напряжения (т.е. напряжения стабилизации) от концентрации примесей. Конструкции стабилитронов очень незначительно, а в некоторых случаях практически не отличаются от конструкций выпрямительных диодов. Вольт-амперная характеристика стабилитрона представлена на рисунке 6(а). УГО стабилитрона приведено на рисунке 6 (б).Рабочий ток стабилитрона (его обратный ток) не должен превышать максимально допустимое значение Iст max во избежание перегрева полупроводниковой структуры и выхода его из строя.

Рисунок 6. Вольт-амперная характеристика стабилитрона (а), УГО (б)
Особенностью стабилитрона является зависимость его напряжения стабилизации от температуры. В сильно легированных полупроводниках вероятность туннельного пробоя с увеличением температуры возрастает. Поэтому напряжение стабилизации у таких стабилитронов при нагревании уменьшается, т.е. они имеют отрицательный температурный коэффициент напряжения стабилизации (ТКН): который, показывает – на сколько процентов изменится напряжение стабилизации при изменении температуры прибора на 1градус.

Туннельный диод – это полупроводниковый диод на основе вырожденного полупроводника, в котором туннельный эффект приводит к появлению на вольт-амперной характеристике при прямом напряжении участка с отрицательным дифференциальным сопротивлением. Для изготовления туннельных диодов используют полупроводниковый материал с очень высокой концентрацией примесей, вследствие чего получается малая толщина p–n перехода (около 10-2 мкм), что на два порядка меньше, чем в других полупроводниковых диодах, и сквозь тонкий потенциальный барьер возможно туннелирование свободных носителей заряда. На рисунке7(а) представлена вольт-амперная характеристика типичного туннельного диода при прямом смещении.
Параметрами туннельных диодов являются:
1. Пиковый ток Iп – значение прямого тока в точке максимума вольт-амперной характеристики;
2. Ток впадины Iв – значение прямого тока в точке минимума вольт-амперной характеристики;
3. Отношение токов
(для туннельных диодов из GaAs отношение >10, для германиевых от 3 до 6)
4. Напряжение пика Uп –значение прямого напряжения, соответствующее пиковому току;
5. Напряжение впадины Uв – значение прямого напряжения, соответствующее току впадины;
6. Напряжение раствора Uрр – значение прямого напряжения на второй восходящей ветви, при котором ток равен пиковому току.
Работа туннельного диода иллюстрируется диаграммами, изображенными на рисунке 7(б-з).
В равновесном состоянии системы уровень Ферми постоянен для обеих областей полупроводникового диода, поэтому другие энергетические уровни искривляются настолько сильно, что нижняя граница дна зоны проводимости области n-типа оказывается ниже верхней границы потолка валентной зоны области p-типа, и так как переход очень узкий, то носители заряда могут переходить из одной области в другую без изменения своей энергии, просачиваться сквозь потенциальный барьер, т.е. туннелировать (рисунок 7 (б)). В состоянии равновесия потоки носителей из одной области в другую одинаковы, поэтому результирующий ток равен нулю. Под воздействием внешнего поля энергетическая диаграмма изменится. При подключении прямого напряжения уровень Ферми и положение энергетических зон сместится относительно равновесного состояния в сторону уменьшения потенциального барьера и при этом степень перекрытия между потолком валентной зоны материала p-типа и дном зоны проводимости материала n-типа уменьшится (рисунок 7 (в)). При этом в зоне проводимости материала n-типа уровни, заполненные электронами (ниже уровня Ферми) окажутся против незаполненных уровней в валентной зоне материала p-типа, что приведет к появлению тока, обусловленного большим количеством электронов, переходящих из п-области в р-область. Максимальное значение этого тока будет тогда, когда уровень Ферми материала п-типа и потолок валентной зоны материала р-типа будут совпадать (рисунок 7 (г)). При дальнейшем увеличении прямого напряжения туннельное перемещение электронов из п-области в р-область начнет убывать (рисунок 7 (д)), так как количество их уменьшается по мере уменьшения степени перекрытия между дном зоны проводимости материала п-типа и потолком валентной зоны материала р-типа. В точке, где эти уровни совпадают, прямой ток р–п-перехода достигнет минимального значения (рисунок 7 (е)), а затем, когда туннельные переходы электронов станут невозможны (рисунок 7 (ж)), носители заряда будут преодолевать потенциальный барьер за счет диффузии и прямой ток начнет возрастать, как у обычных диодов.
Рисунок 7. ВАХ туннельного диода (а), диаграммы работы туннельного диода (б-з).
При подаче на туннельный диод обратного напряжения потенциальный барьер возрастает, и энергетическая диаграмма будет иметь вид, показанный на (рисунке 7 (з)). Так как количество электронов с энергией выше уровня Ферми незначительно, то обратный ток р–п перехода в этом случае будет возрастать в основном за счет электронов, туннелирующих из р-области в п-область, причем, поскольку концентрация электроновн в глубине валентной зоны р-области велика, то даже небольшое увеличение обратного напряжения и связанное с этим незначительное смещение энергетических уровней, приведет к существенному росту обратного тока. Рассмотренные процессы позволяют сделать вывод, что туннельные диоды одинаково хорошо проводят ток при любой полярности приложенного напряжения, т.е. они не обладают вентильными свойствами. Более того, обратный ток у них во много раз больше обратного тока других диодов. Это свойство используется в другом типе полупроводникового прибора в обращенном диоде.
Обращенный диод – это разновидность туннельного диода, у которого концентрация примесей подобрана таким образом, что в уравновешенном состоянии при отсутствии внешнего напряжения потолок валентной зоны материала р-типа совпадает с дном зоны проводимости материала п-типа (рисунок 8(а)). В этом случае туннельный эффект будет иметь место только при малых значениях обратного напряжения и вольт-амперная характеристика(рисунок 8 (б)) такого прибора будет аналогична обратной ветви вольт-амперной характеристики туннельного диода. Поэтому обратные токи в обращенных диодах оказываются довольно большими при очень малых обратных напряжениях (десятки милливольт). При прямом напряжении на p–-переходе прямой ток связан с диффузией носителей через понизившийся потенциальный барьер и вольт-амперная характеристика его аналогична прямой ветви вольт-амперной характеристики обыкновенного диода. Поэтому прямой ток образуется только в результате инжекции носителей заряда через потенциальный барьер p–-перехода, но при прямых напряжениях в несколько десятых долей вольта. При меньших напряжениях прямые токи в обращенных диодах меньше обратных. Таким образом, этот диод оказывает малое сопротивление току, проходящему в обратном направлении и сравнительно высокое прямому току. Поэтому используются они тогда, когда необходимо выпрямлять очень слабые электрические сигналы величиной в малые доли вольта. При этом включается он в обратном направлении, что и предопределило название такого диода

Рисунок 8. Зонная энергетическая диаграмма (а) и вольт-амперная характеристика (б) типичного обращенного диода
Варикап – это полупроводниковый диод, в котором используется зависимость барьерной ёмкости р–п-перехода от обратного напряжения. Таким образом, варикап можно рассматривать как конденсатор, ёмкость которого можно регулировать при помощи электрического сигнала. Максимальное значение емкости варикап имеет при нулевом обратном напряжении. При увеличении обратного напряжения ёмкость варикапа уменьшается. На рисунке 9 (а) показана зависимость емкости варикапа КВ126А-5 от приложенного напряжения. Основные параметры варикапов:
1. Номинальная ёмкость Cн – ёмкость между выводами, измеренная при заданном обратном напряжении;
2. Добротность варикапа Q – отношение реактивного сопротивления варикапа на заданной частоте к сопротивлению потерь при заданной ёмкости или обратном напряжении;
3. Коэффициент перекрытия по ёмкости KC – отношение максимальной ёмкости Cmax варикапа к его минимальной ёмкости Cmin при двух заданных значениях обратного напряжения.
4. Температурный коэффициент ёмкости a – относительное изменение ёмкости варикапа, приходящееся на один градус изменения температуры окружающей среды:


Рисунок 9. Зависимость емкости варикапа КВ126А-5 от приложенного напряжения.
| <== предыдущая лекция | | | следующая лекция ==> |
| Задания. 5.28.Из приведенных ниже характеристик элементарных частиц отобрать 1) одинаковые как по величине, так и по знаку характеристики частиц и их античастиц; | | | Структура научного знания |
Дата добавления: 2015-07-30; просмотров: 1660;
