Конструкция переборок
Переборки бывают водо-, нефте- и газонепроницаемые. Переборки, не предназначенные для образования замкнутых отсеков, могут быть проницаемыми.
Переборки:
- переборка форпика (таранная) – для создания крайнего носового отсека, называемого форпиком;
- переборка ахтерпика – для создания крайнего кормового отсека, называемого ахтерпиком;
- переборки для разграничения МКО, грузовых трюмов или грузовых танков, цистерн запаса.

Расположение переборок на танкере.
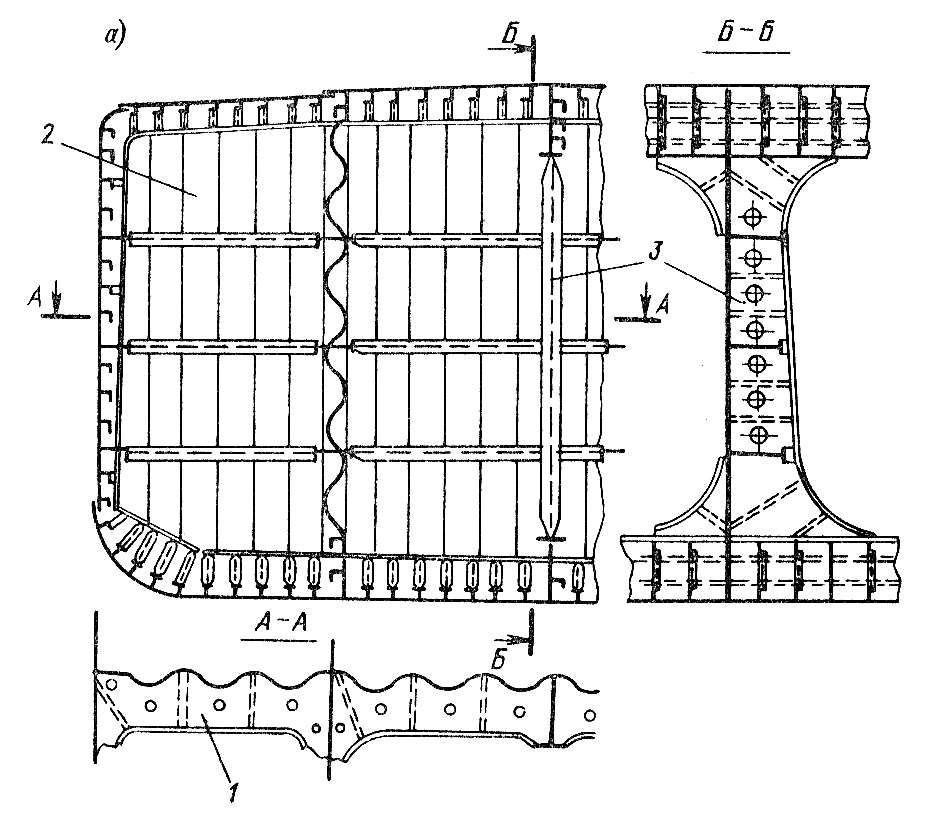
Поперечные и продольные переборки состоят из полотнища и набора.

Конструкция поперечной переборки.
1 – полотнище; 2 – стойки; 3 – доковая стойка; 4 – кница; 5 – шельф; 6 – ребра жесткости
Полотнище состоит, как правило, из листов, расположенных горизонтально, причем толщина их убывает снизу вверх, так как снизу вверх убывает давление воды, на действие которого рассчитывается прочность переборок.

Гофрированная поперечная переборка: а – конструкция гофрированной переборки; б — типы гофров.
1 — шельф; 2 — полотнище (гофрированное); 3 — доковая стойка; 4 — коробчатый гофр; 5 — волнистый гофр
Набор состоит из балок – угольников, полос, полособульбов, тавров, сварных тавров и пр., устанавливаемых вертикально (стойки переборок) или горизонтально (горизонтальные ребра переборок). На крупных судах набор переборок состоит из балок главного направления и перекрестных связей, называемых шельфами, если они установлены горизонтально, или рамными стойками, если они установлены вертикально.
Стойку, расположенную в ДП, изготовляют обычно усиленной, так как она является доковой, т е. воспринимает усилия от кильблоков при постановке судна в док. Концы стоек крепят к настилу второго дна и палубам с помощью книц или приваривают торцы стоек к настилу.
Распространение получили гофрированные поперечные и продольные переборки, которые изготовляют из коробчатых или волнистых штампованных гофров. На танкерах продольные гофрированные переборки имеют, как правило, только горизонтально расположенные гофры, а поперечные — или горизонтальные, или вертикальные гофры. При этом продольные гофрированные переборки танкеров должны у днища и у палубы иметь плоские участки шириной не менее 0,1 высоты борта; при необходимости эти участки подкрепляют ребрами жесткости.
Дата добавления: 2015-07-18; просмотров: 4776;
