Конструкция днищевых перекрытий
Днищевое перекрытие корпуса судна является важным элементом его конструкции, который наряду с верхней палубой во многом определяет общую продольную прочность корпуса при его изгибе. Кроме того, отдельные участки днищевого перекрытия, например участки в носовой оконечности судна, испытывают повышенные местные нагрузки ударного характера на волнении, в частности при слеминге, и должны быть надлежащим образом подкреплены.
Для участия в общем продольном изгибе днищевое перекрытие должно прочно соединяться с бортами. В то же время днище воспринимает поперечные нагрузки со стороны бортов.
Днищевые перекрытия на сухогрузных судах длиной более 80 м, на газовозах, крупных танкерах имеют внутренний настил, называемый двойным дном. При продольном изгибе корпуса судна днище испытывает продольные растягивающие и сжимающие усилия. Конструкция днища должна обеспечивать как прочность при растяжении, так и устойчивость перекрытия при сжимающих усилиях. Наиболее распространена по этой причине продольная система набора днищевых перекрытий, особенно в средней части судна. Хотя для судов длиной до 120 м при расположении МО в средней части судна поперечная система набора днища предпочтительнее из соображений простоты и экономичности, даже для судов с длиной несколько выше 100 м используют продольную систему набора, несмотря на повышенные затраты на изготовление конструкций.

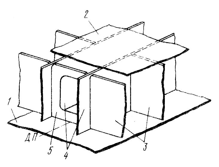
Конструкция днищевого перекрытия без двойного дна (поперечная система набора).
1 — вертикальный киль; 2 — стрингер; 3 —сплошной флор; 4-— ребро жесткости
| 3 |
Конструкция вертикального киля на судах без двойного дна:
а, б — в виде тавровой балки по днищу; в — в виде прогона
1 — вертикальный киль; 2 — горизонтальный киль; 3 – брусковый киль

Конструкция днищевого перекрытия с двойным дном
а – поперечная система набора; б – продольная система набора.
1 – наружная обшивка; 2 – ребро; 3 – флор проницаемый; 4 – вертикальный киль; 5 – горизонтальный киль; 6 – стрингер днищевой проницаемый; 7 — настил второго дна; 8 — флор непроницаемый; 9 — скуловая кница, 10 — стрингер днищевой непроницаемый (крайний междудонный лист)
Продольные связи днищевого перекрытия:
- вертикальный киль – неразрезная продольная балка, идущая в ДП по всей длине судна, является основной продольной связью корпуса;
- брусковый киль – утолщенная полоса внизу вертикального киля, используется на небольших судах;
- горизонтальный киль – средний пояс наружной обшивки днища;
- туннельный киль – на судах с двойным дном, состоит из двух стенок, расположенных по обе стороны ДП;

Туннельный киль.
1 — наружная обшивка; 2 — настил второго дна; 3 — флоры; 4 — днищевые стрингеры; 5 — бракета
- днищевые стрингеры – продольные балки, стенка которых разрезная при поперечной системе набора (в местах пересечения с флорами) и неразрезная при продольной системе набора; верхний поясок – неразрезной. Для доступа ко всем частям двойного дна в проницаемых стрингерах делают вырезы: овальные (размером не менее 350×450 мм) или круглые (диаметром не менее 300 мм); максимальный вырез не должен превышать 0,5 высоты стрингера. В шпациях, примыкающих к поперечным переборкам, и под пиллерсами вырезы делать нельзя. Если все же их необходимо сделать, то в этих местах делают подкрепления. Расстояние между днищевыми стрингерами зависит от системы набора корпуса, рзмерений судна и регламентируется правилами классификационного общества;

Подкрепление вырезов в вертикальном киле.
1 — вертикальный киль; 2 — наружная обшивка; 3 — второе дно; 4 — подкрепляющие ребра жесткости; 5 — кольцевая обделочная полоса
- продольные балки днища;
- продольные балки второго дна;
- крайний междудонный лист – крайний днищевой стрингер или лист двойного дна, расположенный вдоль скулы но каждому борту и замыкающий по бортам отсеки двойного дна. Эти листы делают наклонными или горизонтальными. Наклонные крайние междудонные листы в месте примыкания к наружной обшивке образуют льяла – водостоки, куда стекает попавшая в трюм вода;

Крайний междудонный лист:
а — наклонный; б — горизонтальный.
1 —наружная обшивка; 2 — настил второго дна; 3 — крайний междудонный лист; 4 — скула; 5 — льяло
- днищевая обшивка;
- настил второго дна.
Поперечные связи днищевого перекрытия – флоры. При поперечной системе набора устанавливают на каждом шпангоуте. При продольной системе набора различают:
- сплошные флоры (проницаемые и водонепроницаемые) – состоят из целых листов, подкрепленных ребрами жесткости в плоскости каждой или каждой второй продольной балки; водонепроницаемые сплошные флоры ограничивают междудонные цистерны и водонепроницаемые отсеки;
- открытые (бракетные и облегченные).

Виды флоров: а—сплошной проницаемый; б— сплошной непроницаемый; в — открытый бракетный; г — открытый облегченный.
1 – сплошной флор; 2 – ребра жесткости; 3 – непроницаемый флор; 4 – бракета; 5 – верхняя балка; 6 – нижняя балка.

Узлы прохода различных профилей через проницаемые (а) и непроницаемые (б, в) флоры.
1— флор проницаемый; 2 — флор непроницаемый; 3 — полособульб (продольная балка);4 — двутавр (продольная балка); 5 — заделочная планка; 6 — бракета
Конструкция днища в МО во многом зависит от мощности устанавливаемого на судне главного двигателя. С увеличением размеров судов осложняется центровка валопровода из-за деформаций днищевых перекрытий. Для обеспечения надлежащей жесткости конструкции увеличивают размеры вертикального киля, днищевых стрингеров и флоров.
Днищевое перекрытие воспринимает при качке местные инерционные нагрузки от двигателя через фундаментную раму.
При продольной системе набора сплошные флоры в МО устанавливают через один шпангоут, а под фундаментом - на каждом шпангоуте. Фундамент выполняют из двух продольных вертикальных стенок с поясками. Конструкция фундамента должна обеспечить доступ для осмотра второго дна.
Правила Регистра требуют установки в носовой части судна подкреплений на длине, не меньшей четверти длины судна, вследствие повышенной опасности возникновения в этом районе слеминга на волнении. При этом регламентируются размеры связей и расстояния
Дата добавления: 2015-07-18; просмотров: 7562;
