Установка гидропоршневых насосов
Современные установки гидропоршневых насосов позволяют эксплуатировать скважины с высотой подъема до 4500 м, с максимальным дебитом до 1200 м3/сут. при высоком содержании в скважинной продукции воды.
Установки гидропоршневых насосов (Рисунок 4.14) — блочные автоматизированные, предназначены для добычи нефти из двух - восьми глубоких кустовых наклонно направленных скважин в заболоченных и труднодоступных районах Западной Сибири и других районах. Откачиваемая жидкость кинематической вязкостью не более 15×10-6 м2/с (15×10-2 Ст) с содержанием механических примесей не более 0.1 г/л, сероводорода не более 0.01 г/л и попутной воды не более 99 %. Наличие свободного газа на приеме гидропоршневого насосного агрегата не допускается. Температура откачиваемой жидкости в месте подвески агрегата не выше 120 ˚С.

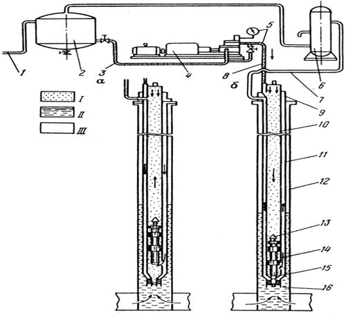
Рисунок 4.14 — Схема компоновки оборудования гидропоршневой насосной установки
а — подъем насоса; б — работа насоса; 1 — трубопровод; 2 — емкость для рабочей жидкости; 3 — всасывающий трубопровод; 4 — силовой насос; 5 — манометр; 6 — сепаратор; 7 — выкидная линия; 8 — напорный трубопровод; 9 — оборудование устья скважины; 10 — 63 мм трубы; 11 — 102 мм трубы; 12 — обсадная колонна; 13 — гидропоршневой насос (сбрасываемый); 14 — седло гидропоршневого насоса; 15 — конус посадочный; 16 — обратный клапан; I — рабочая жидкость; II — добываемая жидкость; III — смесь отработанной и добытой жидкости.
Установки выпускаются для скважин с условным диаметром обсадных колонн 140, 146 и 168 мм.
Гидропоршневая насосная установка состоит из поршневого гидравлического двигателя и насоса 13, устанавливаемого в нижней части труб 10, силового насоса 4, расположенного на поверхности, емкости 2 для отстоя жидкости и сепаратора 6 для её очистки. Насос 13, сбрасываемый в трубы 10, садится в седло 14, где уплотняется в посадочном конусе 15 под воздействием струй рабочей жидкости, нагнетаемой в скважину по центральному ряду труб 10. Золотниковое устройство направляет жидкость в пространство над или под поршнем двигателя, и поэтому он совершает вертикальные возвратно-поступательные движения.
Нефть из скважин всасывается через обратный клапан 16, направляется в кольцевое пространство между внутренним 10 и наружным 11 рядами труб. В это же пространство из двигателя поступает отработанная жидкость (нефть), т.е. по кольцевому пространству на поверхность поднимается одновременно добываемая рабочая жидкость.
При необходимости подъема насоса изменяют направление нагнетания рабочей жидкости — её подают в кольцевое пространство. Различают гидропоршневые насосы одинарного и двойного действия, с раздельным и совместным движением добываемой жидкости и рабочей и т.д.
Дата добавления: 2015-07-14; просмотров: 1055;
