Тема: Усилительный каскад на биполярном транзисторе.
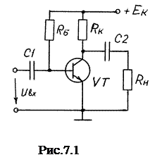
Каскад усиления переменного тока по схеме ОЭ построен на биполярном транзисторе n-p-n (рис.7.1). Расчет каскада сводится к выбору точки покоя на статической линии нагрузки, определению величин Rк и RБ по заданным параметрам нагрузки, например, Um вых и Rн, и напряжению источника питания Eк.
Выбранная точка покоя должна обеспечить требуемую величину тока в нагрузке, напряжения на нагрузке без нелинейных искажений и удовлетворять предельным параметрам транзистора. Поэтому ток покоя:
Iкп³Imн=Um вых/Rн
Напряжение покоя обычно выбирается Uкэп=Eк/2, чтобы обеспечить максимальное выходное напряжение без искажений.
Уравнение статической линии нагрузки
Iк= 
Линию нагрузки можно построить в координатах Iк, Uкэ по двум точкам. Одна из них - точка покоя П, координаты которой определены. Вторая может быть получена согласно уравнению - если принять Iк=0, то Uкэ=Eк. Построение статической линии нагрузки показано на рис.7.2 (линия ав).
Чтобы обеспечить заданный режим покоя, надо рассчитать величины Rк и RБ:
Rк=
;
RБ=
; IБп=IКп/h21
При работе каскада в режиме холостого хода и iвх=Imвхsinwt рабочая точка перемещается по статической линии нагрузки в обе стороны от точки покоя. Амплитуда переменной составляющей напряжения коллектор-эмиттер или равного ей выходного напряжения не может быть больше Eк/2.
При работе каскада на нагрузку в коллекторную цепь параллельно Rк включается Rн. Поэтому режим работы каскада меняется. Рабочая точка перемещается по динамической линии нагрузки, уравнение которой
;
Динамическая линия нагрузки должна проходить через точку покоя П (частный случай - Diкэ=0). Вторую точку можно получить, задавшись приращением Diк и подсчитав изменение напряжения DUкэ относительно координат точки покоя. Динамическая линия нагрузки показана на рис.7.2 (c-d). Очевидно, что угол между осью Uкэ и динамической линией нагрузки тем больше, чем меньше Rн (при Rн=0 он составит 90°). В связи с этим предельная амплитуда выходного напряжения Uвых пр с уменьшением Rн становится меньше Eк/2. Это может вызвать появление нелинейных искажений. Если заданное значение Um вых, больше, чем Uвых пр, чтобы избежать нелинейных искажений, надо сместить точку покоя. Увеличивают Iкп и анализ повторяют.
Динамические параметры каскада:
ки=
;
;
кр=кикi.
Контрольные вопросы
1. Объяснить принцип работ каскада усиления, назначение основных элементов схемы.
2. Какими параметрами характеризуется усилитель?
3. Какое влияние на параметры каскада оказывает Rк?
4. Что такое нелинейные искажения и причина их появления?
5. Можно ли получить неискаженный выходной сигнал, если заданное Uвых m>Eк/2?
6. Какое влияние оказывает RБ на положение точки покоя?
7. Всегда ли нужно выбирать Uкэп»Eк/2 ?
Тема: Схемы на операционных усилителях.
Дата добавления: 2015-08-26; просмотров: 1170;
