Определение предельного сопротивления сдвигу.

Рис 5.4 Зависимость сопротивления сдвигу от нормального давления для связного грунта

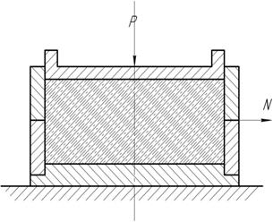
Рис 5.5 Схема срезного прибора

F- площадь среза
– закон Кулона.
Чтобы сблизить результаты испытаний малых образцов, где вода отжимается очень быстро, с большими образцами, принято оценивать
с учетом порового давления.

Где P-U =
- эффективное давление.
В торфяной залежи в начале все нагрузки передаются на воду, учитывая большую влажность торфа. U=P.
U –поровое давление. P-внешнее давление.
По мере удаления влаги, поровое давление уменьшается, и нагрузку начинает воспринимать твердое вещество.
Дата добавления: 2015-08-21; просмотров: 1197;
