Лабораторна робота № 1. В большинстве гидравлических приводов технологического и мобильного оборудования необходимым условием работоспособности является не только наличие
В большинстве гидравлических приводов технологического и мобильного оборудования необходимым условием работоспособности является не только наличие направляющей и регулирующей аппаратуры, но и вспомогательной, такой как запорные и логические клапаны (гидрозамки, делители потока и др.).
Наиболее часто, для предотвращения самопроизвольного перемещения гидравлических двигателей применяются гидрозамки. Гидрозамки могут быть односторонние, двусторонние и гидрозамки с разгрузкой. Односторонние гидрозамки обеспечивают перекрытие одной линии (рис. 2), двухсторонние (рис. 3) – одной из двух линий, не связанных между собой.
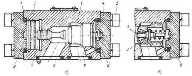
Односторонние гидрозамки типа КУ по ТУ2-053-0221244.063-91 имеют минимальное сопротивление прямому потоку жидкости, а обратный поток возможен только посте принудительного открытия запорного элемента с помощью гидравлически управляемого плунжера. Гидрозамки данного типа имеют четыре конструктивных исполнения. Аппараты исполнения 2 (рис. 1, а) состоят из корпуса 1, плунжера 2, запорного элемента 3, крышек 4, пружины 6, винтов 5 и уплотнений. Прямой поток проходит из линии А в линию В, а поток из линии В в линию А возможен только при наличии давления управления в полости 8, сдвигающего вправо плунжер 2 и принудительно открывающего запорный элемент 3, при этом полость 7 постоянно соединена с дренажной линией. При незначительном подпоре в сливной линии А (в случае потока через принудительно открытый обратный клапан) предпочтительно применение исполнения 4 (рис. 1, в), в котором дренажной линии не требуется. В целях снижения давления управления могут использоваться аппараты с декомпрессором 9 исполнение 1 (рис. 1, б) вместо исполнения 2 или исполнение 3 (рис. 1, г) вместо исполнения 4, в которых плунжер сначала открывает разгрузочный клапан (декомпрессор), а затем - основной запорный элемент.



Рисунок 1 Конструкция и габаритные размеры односторонних гидрозамков типа КУ
Применение односторонних гидрозамков в гидросистемах показано на рисунке 2. Гидрозамок 3 (рис. 2, а) исключает возможность самопроизвольного опускания груза при нейтральном положении распределителя 4 или случайном падении давлении в гидросистеме. Гидроклапан давления с обратным клапаном 2 настроен на давление, которое превышает давление, создаваемое весом груза в штоковой полости цилиндра, поэтому движение поршня вниз возможно только после переключения распределителя 4 влево и подвода давления в поршневую полость цилиндра и отверстие Рх гидрозамка. Скорость опускания регулируется дросселем 1 с обратным клапаном. Движение вверх происходит быстро, т.к. рабочая жидкость свободно проходит через линии А и В гидрозамка и обратные клапаны в штоковую полость цилиндра.
В приводе зажимного цилиндра также необходимо использование гидрозамка (рис. 2, б). Наличие гидрозамка 2 в данном приводе обеспечивает при случайном падении давления в гидросистеме герметичное запирание рабочей полости цилиндра 1, что исключает возможность случайного разжима детали в процессе обработки. При переключении распределителя 3 гидрозамок 2 открывается давлением жидкости поступающей в линию Рх, и поток рабочей жидкости из цилиндра сливается в бак через линии В и А гидрозамка 2 и распределитель 3.
Синхронное движение двух одинаковых цилиндров 2 и 6 обеспечивается путем их последовательного включения (рис. 2, в). Из-за невозможности сделать цилиндры абсолютно идентичными, а также из-за наличия внутренних утечек возникает вероятность некоторого нарушения синхронности работы цилиндров, причем величина рассогласования синхронности работы цилиндров будет постоянно накапливаться. Для исключения этого явления служит гидрозамок 1, который периодически соединяет линию 5 с напорной или сливной линией. Управление гидрозамком реализуется пилотом (распределителем) 7 таким образом, что, если первым срабатывает выключатель 3 контроля хода цилиндра 2, то включается электромагнит 31 (т.е. масло из напорной линии через гидрозамок поступает в линию 5), а если первым срабатывает выключатель то включается электромагнит 32 (т.е. гидрозамок, открываясь, соединяет линию 5 со 9сливом). Таким образом, ошибка устраняется в конце каждого хода гидроцилиндров и не накапливается. При опускании вертикально расположенных грузов (рис. 2, г) возможна ситуация, когда давление в штоковой полости гидроцилиндра превышает давление в напорной линии гидросистемы (Ршт > Рн). Применение гидрозамка исполнения 4 (рис. 1, в) в этом случае опасно, т.к. возникают опасные автоколебания, поскольку сразу после открытия обратного клапана на гидравлически управляемый плунжер гидрозамка сверху действует большее давление, чем снизу. В результате клапан запирается, давление сверху падает, после чего клапан открывается вновь. Для исключения дефекта в таких случаях необходимо применять гидрозамок исполнение 2 (рис. 1, а) с дренажной линией.

Рисунок 2 Схемы типового применения односторонних гидрозамков
Двухсторонние гидрозамки (рис. 3, 4) позволяют надежно зафиксировать нагрузку, даже при наличии внутренних утечек жидкости через поршень гидроцилиндра (рис. 5). Однако такое надежное фиксирование нагрузки осуществимо только для статического (неподвижного) состояния гидроцилиндра. В случае использования подвесного гидроцилиндра или гидроцилиндра с двухсторонним штоком использование двухстороннего гидрозамка для фиксирования положения гидроцилиндра недопустимо.
Принцип действия двухстороннего гидрозамка следующий:
В начальном состоянии аппарат пропускает поток жидкости в направлениях линий от А1 к В1 и от А2 к В2, а в направлениях от В1 к А1 и от В2 к А2 поток жидкости заперт (рис. 3,4). При этом при протекании потока жидкости в направлении от линии А1 к В1 управляющий поршень гидрозамка (рис.4) сдвигается в право и в результате чего запирающий элемент правого клапана нагруженный пружиной смещается в право, отходит от седла и сжимает правую пружину. В результате данного воздействия управляющего поршня открывается канал для протекания потока жидкости по направлению от линии В2 к А2. Аналогичным образом аппарат работает и при протекании потока жидкости по направлению от линии А2 к В2, обеспечивая открытие левого клапана и протекание потока жидкости от линии В1 к А1.

Рисунок 3 Схемное изображения гидрозамка двухстороннего: а) подробное
изображение, б) упрощенное изображение.

Рисунок 4 Гидрозамок двухсторонний.

Рисунок 5 Схема гидравлическая принципиальная применения гидрозамка двухстороннего
Для обеспечения синхронной работы нескольких гидродвигателей или их совместной работы с различными скоростями перемещения в гидросистемах могут применятся делители расхода. Делители расхода типа МКД по ТУ2-053-3839-87 (рис. 6) состоят из корпуса 4, делительного золотника 2 со сменными диафрагмами 1 (каждый типоразмер аппарата комплектуется тремя парами диафрагм, обеспечивающими три настройки), уравнительного золотника 3 и пробок. При равном давлении в отводах золотники 2 и 3 находятся в средних положениях, перепады давлений на диафрагмах одинаковые, и поток масла из подводного отверстия, делясь на две равные части, поступает в отводные линии. Если давление в одной из отводных линий (например, правой) увеличивается, возрастает давление в правой торцовой полости золотника 3. Под действием возросшего давления жидкости золотник 3 смешается влево, увеличивая сопротивление дросселирующей щели 5 и уменьшая сопротивление щели 6 до тех пор, пока давления на выходе из диафрагм 1 не станут опять равными, причем возможные ошибки компенсируются за счет дополнительного осевого смещения золотника 2, изменяющего дросселирование потока в щелях 7 и 8.
Поскольку делительная ступень работает при незначительной разнице давлений в отводах, и трение исключается путем вращения золотника 2 под действием потока масла, проходящего через деления. Установкой диафрагм с различными проходными сечениями достигается деление потока на неравные части.

Рисунок 6 Делитель расхода типа МКД
Принцип работы делителя расхода поясняется на примере показанном на рисунке 7. В данной схеме делитель расхода 2 обеспечивает синхронное движение цилиндров 5 и 6 в обе стороны. При выключенных электромагнитах распределителей 4 и 7 насос частично разгружается. При переключении распределителей 4, 7 вправо цилиндры синхронно поднимаются, однако из-за возможной ошибки деления потока одного из цилиндров (например цилиндр 6) первым подойдет к упору. При этом делитель расхода 2 перекроет поток масла, поступающего в цилиндр 5, и он также остановится, при этом давление в системе возрастет, что приведет к открытию клапана 8, и перепуску части масла в бак, давая возможность цилиндру 5 дойти до упора. Конечные выключатели дают сигнал на реверсирование движения. Перепускные клапаны 3 и 8 настраиваются на давление, превышающее рабочее, однако ниже давления настройки предохранительного клапана 1. Подпорный клапан 9 предназначен для исключения возможности опускания цилиндров под действием силы тяжести. Переключая один из распределителей 4 или 7, можно обеспечить независимое движение соответствующего цилиндра 5 или 6.

Рисунок 7 Типовая схема применения делителя расхода
Из описанного выше примера использования делителя расхода видно, что гидравлические схемы с применением делителей расхода получаются достаточно сложными конструктивно и трудоемкими в настройке, а следовательно, недостаточно надежными в эксплуатации, поэтому делители расхода не получили широкого распространения в станочных гидроприводах.
Вывод: изучили конструктивные особенности вспомогательной аппаратуры; изучили схемные изображения вспомогательной аппаратуры и особенности ее применения в гидравлических схемах; получили навык определение характеристик вспомогательной аппаратуры.
Лабораторна робота № 1
1. ТЕМА: Якісний елементний аналіз органічних сполук. Алкани.
2. МЕТА: Виявити Карбон, Гідроген, Нітроген, Сульфур і Хлор в органічних речовинах. Добути метан і вивчити властивості насичених вуглеводнів.
3. МАТЕРІАЛИ І ОБЛАДНАННЯ :
3.1 Глюкоза, купруму (ІІ) оксид (порошок); баритова вода; купруму (ІІ) сульфат (безводний); велика пробірка; газовідвідна трубка; штатив.
3.2 Сечовина; натрій металічний; феруму (ІІІ) сульфат (1%-ий розчин); феруму (ІІІ) хлорид (1%-ий розчин), хлоридна кислота (2%-ий розчин); етиловий спирт.
3.3 Тіосечовина; натрій металічний; етиловий спирт; плюмбуму (ІІ) ацетат (0,1н розчин); фільтрувальний папір; скляна паличка.
3.4 Хлороформ; мідна дротина.
3.5Натрію ацетат (плавлений); натронне вапно; розчин калію перманганату; розчин брому; велика пробірка; газовідвідна трубка; штатив.
3.6Рідкі алкани; лакмусовий папір синій.
3.7Сульфатна кислота концентрована.
Дата добавления: 2014-12-08; просмотров: 1061;
