Цифровые ССПС стандарта GSM. 1 страница
В соответствии с рекомендациями СЕРТ 1980г., для подвижной связи стандарта GSM выделен спектр частот в диапазоне 862 - 960 МГц. При чем для передатчиков подвижных станций 890 - 915 МГц и передатчиков базовых станций 935 - 960 МГц. В стандарте GSM используется узкополосный МДВР (NB TDMA). В структуре кадра содержится 8 временных позиций на каждой из 124 несущих. Для повышения помехоустойчивости передачи информационного пакета применяется блочное и сверточное кодирование с перемежением. Эффективность кодирования и перемежения при малой скорости перемещения подвижных станций, повышается медленным переключением рабочих частот (SFH) в процессе сеанса связи со скоростью 217 скачков в секунду. В условиях города имеет место многолучевое распространение радиоволн, которые приводят к интерференционным замираниям принимаемых сигналов. Для борьбы с этим явлением используются эквалайзеры, выравнивающие импульсные сигналы со среднеквадратичным отклонением времени задержки до 16 мкс. Используемая система синхронизации позволяет компенсировать абсолютное время задержки сигнала до 233 мкс, что соответствует максимальному радиусу соты, равному 35 км. В стандарте GSM используется гауссовская частотная манипуляция с минимальным частотным сдвигом (GMSK). Обработка разговорного сигнала производится путем прерывистой передачи речи (DTX), при которой передатчик включается только при наличии сигнала, в паузах и в конце разговора передатчик отключается. Для этого используется речевой кодек с регулярным импульсным возбуждением, долговременным предсказанием и линейным предикативным кодированием с предсказанием (RPE/LTR -LTR - кодек). Общая скорость преобразования речевого сигнала - 13 кбит/с. Для обеспечения скрытности связи в стандарте GSM применяется шифрование по алгоритму с открытым ключом (RSA). В общем случае стандарт GSM позволяет создать сеть, представляющей пользователям широкий диапазон услуг с подключением к телефонным сетям общего пользования (PSTN), сетям передачи данных (PDN) и цифровым сетям с интеграцией служб (ISDN). Основные характеристики стандарта GSM приведены в таблице 5.
Таблица 5 Основные характеристики стандарта GSM


Функциональная схема и состав оборудования стандарта GSM
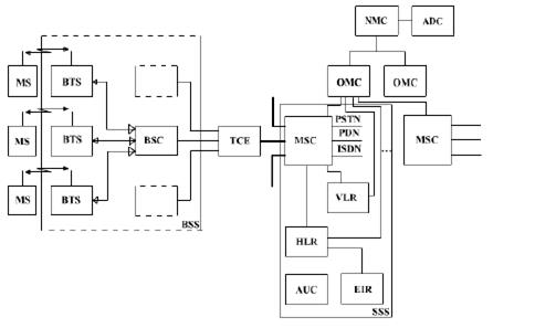
Функциональная схема, принятая в стандарте GSM, представлена на рис. 31.

Рис.31 Функциональная схема, принятая в стандарте GSM
Здесь MSC (Mobile Ststion) - центр коммутации подвижной связи, BSS (Base Station System) - оборудование базовой станции, OMC (Operations and Maintenance Centre) - центр управления и обслуживания MS (Mobile Stations) - подвижные станции.
Для сопряжения элементов системы имеется несколько интерфейсов, которые взаимодействуют между собой в соответствии с системой сигнализации МККТТ № 7. MSC, обслуживающий группу сот, аналогичен центру коммутации ISDN и является интерфейсом между фиксированными сетями и подвижной связью. Кроме того, он обеспечивает маршрутизацию вызовов и выполняет функции управления вызовами, а также осуществляет "эстафетную передачу" MS в процессе перемещения ее, из одной соты в другую, с переключением рабочих каналов в соте при появлении помех или неисправностей. В функции MS входит также сбор статистических данных, необходимых для контроля работы и оптимизации сети, а также формирует данные для выписывания счетов, которые направляются в центр расчетов (биллинг - центр). Выполняет процедуры запрета несанкционированного доступа в сеть. MSC также управляет процедурами регистрации местонахождения MS и передачи управления, кроме передачи управления в подсистеме базовых станций (BSS). Передача вызова позволяет сохранить соединения и обеспечивать введение разговора, когда подвижная станция перемещается из одной зоны обслуживания в другую. В сотах передачу вызова осуществляет BSC, если же вызов осуществляется между двумя сетями управления равными BSC, то первичное управление осуществляет MSC. Кроме того, возможна передача вызова между сетями относящимися к разным MSC.
Для слежения за перемещением MS в центре коммутации предусмотрены регистры положения HLR и перемещения VLR. В HLR храниться та часть информации местоположения MS, по которой центр коммутации может доставить вызов станции, а так же содержит международный идентификационный номер подвижного абонента (IMSI). По этому номеру в центре аутентификации (AUC) опознается MS. В общем случае HLR представляет собой справочную базу данных постоянных абонентов сети. В ней содержаться опознавательные номера и адреса, параметры подлинности абонентов, состав услуг связи, а так же специальная информация о маршрутизации. Регистрируются данные о роуминге (блуждании) абонента, а так же временный идентификационный номер подвижного абонента (TMSI) в соответствующем VLR.
К данным, содержащимся в HLR, имеют дистанционный доступ все MSC и VLR данной сети и других сетей для обеспечения межсетевого роуминга абонентов. В случае, если в сети имеется несколько HLR, запись об абоненте делается только один раз и здесь каждая HLR является частью общей базы данных. Для доступа к данным, хранящимся в HLR, необходимо знать номер IMSI или MSISDN (номер подвижного абонента в сети ISDN).
Регистр перемещения VLR служит для функционирования подвижной станции за пределами зоны, контролирующей HLR. При перемещении MS из зоны, контролируемой данной BSC, в зону контролируемой другой BSC, последняя регистрирует подвижную станцию, а в VLR заносится информация о номере области связи, куда доставляется вызов станции. В VLR записываются так же данные, что и в HLR. Однако данные в VLR хранятся до тех пор, пока MS находится в ее контролируемой зоне, а затем они списываются. На случай сбоев устройства памяти HLR и VLR имеют защиту.
В стандарте GSM соты группируются в географические зоны (LA) с соответствующими идентификационными номерами (LAC). В VLR содержаться данные об абонентах, находящихся в нескольких LA. При перемещении MS из одной LA в другую, данные, о его местоположении автоматически обновляются в VLR. В случае, если старая и новая LA находится под управлением различных VLR, то данные в старом VLR стираются после того, как они будут записаны в новом. При этом запись о текущем адресе MS в HLR так же обновляется. VLR присваивает номер так же "блуждающей" MS (MSRN). Когда MS принимает вызов, VLR извлекает его MSRN и передает на MSC для прикрепления к ближайшей базовой станции.
Распределением номера передачи управления при переходе соединений от одного MSC к другому осуществляет так же VLR. Кроме того, VLR управляет распределением новых TMSI и передает их в HLR, а так же процедурой установления подлинности во время обработки вызова. TMSI можно периодически менять, для усложнения самовольного доступа в сеть. В целом VLR представляет собой локальную базу данных для MS данной зоны и доступ к нему обеспечивается через IMSI, TMSI или MSPN. VLR исключает постоянный запрос в HLR и сокращает время на обслуживании вызова.
Для защиты сети от несанкционированного доступа вводится механизм аутентификации - удостоверения подлинности абонента. Центр аутентификации (АИС) проверяет полномочия абонента и осуществляет его доступ в сеть, состоит из нескольких блоков и формирует ключи и алгоритмы АИС. Одним из основных блоков АИС является регистр идентификации оборудования (EIR - Equipment Identification Register), где сосредоточены ключи шифрования.
В процессе пользования сетью, каждый MS получает стандартный модуль подлинности абонента (SIM), в который входит международный идентификационный номер (ISMI), свой индивидуальный ключ аутентификации (Ki) и алгоритм аутентификации (AS). Информация содержащая в SIM, в процессе обмена данными между MS и сетью, позволяет осуществлять полный цикл АИС и разрешить доступ в сеть.
Регистр идентификации оборудования (EIR) содержит централизованную базу данных для подтверждения подлинности IMSI и состоит из списков номеров, организованных следующим образом:
белый список - содержит номера MS, входящие в данную сеть;
черный список - содержит номера MS, которые украдены или им отказано в обслуживание по какой - либо причине;
серый список - содержит номера MS, у которых существует опреде ленные проблемы, однако нет оснований для включения в черный список.
К данным, хранящимся в EIR, имеет доступ MSC данной сети, а так же MSC других подвижных сетей. Сеть может содержать несколько EIR, при этом каждая EIR управляет определенной группой IMSI.
Центр эксплуатации и технического обслуживания (OMC), является центральным элементом сети GSM, обеспечивает контроль и управление другими компонентами сети и контроль качества ее работы. Соединения ОМС с другими компонентами сети GSM осуществляется по каналам пакетной передачи протокола Х.25.
Центр управления сетью (NMC) обеспечивает рациональное иерархическое управление сетью GSM. В его функции входит так же эксплуатация и техническое обслуживание на уровне всей сети, поддерживаемой центрами ОМС, которые отвечают за управление региональными сетями. В NMC сосредоточены данные о состояние всей сети и он может давать указания по изменению стратегии решения региональных проблем.
Оборудование базовой станции BSS состоит из контролера базовой станции BSC и приемо - передающих базовых станций BTS. BSS может управлять несколькими приемопередающими блоками, а так же распределением радиоканалов, контролером соединений, регулировкой их очередности, режимом работы с прыгающей частотой, модуляцией и демодуляцией сигналов, кодированием и декодированием сообщений, кодированием речи, адаптацией скорости передачи для речи, данных и вызова, определением очередности передачи сообщений персонального вызова.
Транскодер TCE преобразует выходные сигналы каналов передачи речи и данных MSC (64 кбит/с ИКМ) в цифровой сигнал со скоростью 13 кбит/с, что соответствует рекомендациям GSM по радиоинтерфейсу (Рек. GSM 04.08). Такой цифровой канал передачи речи называют "полноскоростным", а "полускоростным" - при скорости передачи речи 6,5 кбит/с. Для снижения скорости передачи используют специальные речепреобразующее устройство, основанные на линейном предикативном кодировании (LPS), долговременном предсказании (LTR) и остаточном импульсном возбуждении (RPE или RELP).
MSC и транскодер располагают вместе, в этом случае передача сообщений в направлении к контролеру BSC ведется с добавлением к потоку со скоростью передачи 13 кбит/с, дополнительных битов (стафингование) до скорости передачи данных 16 кбит/с. Деле осуществляется уплотнение с кратностью 4 в стандартный канал 64 кбит/с. Таким образом формируется определенная Рекомендациями для GSM 30-ти канальная ИКМ линия, обеспечивающая передачу 120 речевых каналов. Шестнадцатый канал (64 кбит/с) "временное окно", выделяется отдельно для передачи информации сигнализации и часто содержит трафик SSN7 или LAPD. В другом канале (64 кбит/с) могут передаваться так же пакеты данных, согласующихся с протоколом Х.25 МККТТ. В итоге результирующая скорость передачи по указанному интерфейсу составляет 30х64 кбит/с+64 кбит/с+64 кбит/с= 2048 кбит/с.
Подвижная станция MS служит для доступа абонента в сеть GSM и далее к фиксированным сетям электросвязи. В стандарте GSM существует 5 классов MS, отличающихся выходной мощностью (таб. 6).
Таб.6
| Класс мощности | Максимальный уровень мощности передатчика |
| 20 вт | |
| 8 вт | |
| 5 вт | |
| 2 вт | |
| 0,8 вт |
При организации связи предусматривается адаптивная регулировка мощности передатчика, обеспечивающая требуемое качество связи. Каждой первичной станции присваивается свой международный идентификационный номер (IMSI), который используется так же для предотвращения доступа к сетям GSM похищенной станции или станции без полномочий.
Структурная схема подвижной станции
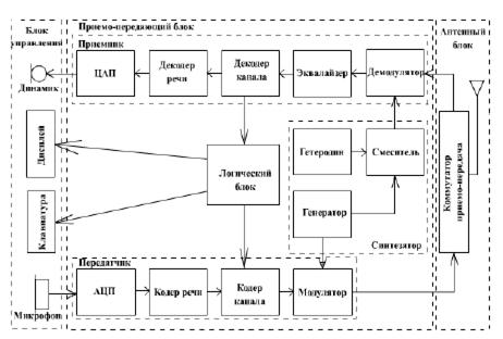
Блок-схема цифровой подвижной станции (ПС) приведена на рис. 32. В ее состав входят: блок управления, приемопередающий блок, антенный блок.

Рис.32 Блок-схема цифровой подвижной станции
Блок управления включает в себя микротелефонную трубку (микрофон и динамик), клавиатуру и дисплей. Клавиатура служит для набора номера телефона вызываемого абонента, а так же команд, определяющих режим работы ПС. Дисплей служит для отображения различной информации, предусматриваемой устройством и режимом работы станции.
Приемопередающий блок состоит из передатчика, приемника, синтезатора частот и логического блока.
В состав передатчика входят:
- АЦП, преобразует в цифровую форму сигнал с выхода микрофона и вся последующая обработка и передача сигнала речи производится в цифровой форме;
- кодер речи, осуществляет кодирование сигнала речи, т.е. преобразование сигнала, имеющего цифровую форму, по определенным законам с целью сокращения его избыточности;
- кодер канала, добавляет в цифровой сигнал, получаемый с выхода кодера речи, дополнительную (избыточную) информацию, предназначенную для защиты от ошибок при передачи сигнала по линии связи; той же целью информация подвергается определенной переупаковке (перемежению); кроме того, кодер канала вводит в состав передаваемого сигнала информацию управления, поступающую от логического блока;
- модулятор, осуществляет перенос информации кодированного видеосигнала на несущую частоту.
Приемник по составу соответствует передатчику, но с обратными функциями входящих в него блоков:
- демодулятор, выделяет из модулированного радиосигнала кодированный видеосигнал, несущий полезную информацию;
- декодер канала, выделяет из выходного потока управляющую информацию и направляет ее на логический блок; принятая информация проверяется на наличие ошибок, и выявленные ошибки исправляются; до последующей обработки принятая информация подвергается обратной (по отношению к кодеру) переупаковке;
- декодер речи, восстанавливает поступающий на него с кодера канала сигнал речи, переводя его в естественную форму, со свойственной ему избыточностью, но в цифровом виде;
- ЦАП - преобразует принятый цифровой сигнал речи в аналоговую форму и подает его на вход динамика;
- эквалайзер - служит для частичной компенсации искажений сигнала вследствие многолучевого распространения, по существу, он является адаптивным фильтром, настраиваемым по обучающей последовательности символов, входящей в состав передаваемой информации. Блок эквалайзера не является функционально необходимым и в некоторых случаях может отсутствовать.
Логический блок - это микрокомпьютер, осуществляющий управление работой ПС.
Синтезатор является источником колебаний несущей частоты, используемой для передачи информации по радиоканалу. Наличие гетеродина и преобразователя частоты обусловлено тем, что для передачи и приема используются различные участки спектра (дуплексное разделение по частоте).
Антенный блок включает в себя антенну (в простейшим случае четвертьволновой штырь) и коммутатор прием/передача. Последний для цифровой станции может представлять собой электронный коммутатор, подключающий антенну либо на выход передатчика, либо на вход приемника, так как ПС цифровой системы никогда не работает на прием и передачу одновременно.
Блок-схема подвижной станции, приведенная на рис. 3.8 является упрощенной. На ней не показаны усилители, селектирующие цепи, генераторы сигналов синхрочастот и цепи их разводки, схемы контроля мощности на передачу и прием и управлению ею, схема управления частотой генератора для работы на определенном частотном канале и т.п. Для обеспечении конфиденциальности передачи информации в некоторых системах возможно использование режима шифрования. В этих случаях передатчик и приемник ПС, стандарта GSM, снабжен специальным съемным модулем идентификации абонента (Subscriber Identity Module - SIM). Подвижная станция стандарта GSM включает так же детектор речевой активности (Voice Activity Detector), который с целью экономного расходования энергии источника питания (уменьшения средней мощности излучения), а так же снижения уровня помех, создаваемых для других станций при работающим передатчике, включает работу передатчика на излучение только на те интервалы времени, когда абонент говорит. На время паузы в работе передатчика в приемный тракт дополнительно вводится комфортный шум. В необходимых случаях в ПС могут входить отдельные терминальные устройства, например факсимильный аппарат, в том числе подключаемые через специальные адаптеры с использованием соответствующих интерфейсов.
Блок - схема аналоговой ПС проще рассмотренной цифровой за счет отсутствия блоков АЦП/ЦАП и кодеков, но сложнее за счет более громоздкого дуплексного антенного переключателя, поскольку аналоговой станции приходится одновременно работать на передачу и на прием.
Структурная схема базовой станции
Блок-схема БС приведена на рис.33. Особенностью БС является использование разнесенного приема, для чего станция должна иметь две приемные антенны. Кроме того, БС может иметь раздельные антенны на передачу и на прием (рис. 33 соответствует этому случаю). Другая особенность - наличие нескольких приемников и такого же числа передатчиков, позволяющих вести одновременную работу на нескольких каналах с различными частотами.

Рис.33 Блок-схема базовой станции
Одноименные приемники и передатчики имеют общие перестраиваемые опорные генераторы, обеспечивающие их согласованную перестройку при переходе с одного канала на другой. Конкретное число N приемопередатчиков на одну приемную и N передатчиков на одну передающую антенну. Между приемной антенной и приемниками устанавливается делитель мощности на N выходов, а между передатчиками и передающей антенной - сумматор мощности на N входов.
Приемник и передатчик имеют ту же структуру, что и в ПС, за исключением того, что в них отсутствуют ЦАП и АЦП, поскольку и входной сигнал передатчика, и выходной сигнал приемника имеют цифровую форму. Возможны варианты, когда кодеки (либо только кодек речи, либо кодек речи и канальный кодек) конструктивно реализуются в составе ЦК, а не в составе приемопередатчиков БС, хотя функционально они остаются элементами приемопередатчиков.
Блок сопряжения с линией связи осуществляет упаковку информации, передаваемой по линии связи на ЦК, и распаковку принимаемой от него информации. Для связи БС с ЦК обычно используется радиорелейная или волоконно - оптическая линия, если они не располагаются территориально в одном месте.
Контролер БС (компьютер) обеспечивает управление работой станции, а так же контроль работоспособности всех входящих в нее блоков и узлов.
Для обеспечения надежности многие блоки и узлы БС резервируются (дублируются), в состав станции включается автономные источники бесперебойного питания (аккумуляторы).
В стандарте GSM используется понятие системы базовой станции (СБС), в которую входит контролер базовой станции (КБС) и несколько (например, до шестнадцати) базовых приемопередающих станций (БППС - рис. 34). В частности, при БППС, расположенные в одном месте и замыкающиеся на общий КБС, могут обслуживать каждый свой 120 - градусный азимутный сектор в пределах ячейки или шесть БППС с одним КБС - шесть 60-градусных секторов. В стандарте D-AMPS в аналогичном случае могут использоваться соответственно три или шесть независимых БС, каждая со своим контролером, расположенных в одном месте и работающих каждая на свою секторную антенну.

Рис.34 Система базовой станции
Структура центра коммутации
Центр коммутации - это автоматическая телефонная станция ССС, обеспечивающая все функции управления сетью. ЦК осуществляет постоянное слежение за ПС, организует их эстафетную передачу, в процессе которой достигается непрерывность связи при перемещении ПС из соты в соту и переключение рабочих каналов в соте, при появление помех или неисправностей.
На ЦК замыкаются потоки информации со всех БС, и через него осуществляется выход на другие сети связи - стационарную телефонную сеть, сети междугородной связи, спутниковой связи, другие сотовые сети. В состав ЦК входит несколько процессоров (контролеров).
Блок-схема центра коммутации представлена на рис. 35. Коммутатор подключается к линиям связи через соответствующие контролеры связи, осуществляющие промежуточную обработку (упаковку/распаковку, буферное хранение) потоков информации. Управление работой ЦК предполагает участие операторов, поэтому в состав центра входят соответствующие терминалы, а так же средства отображения и регистрации (документирования) информации. В частности, оператором вводятся данные об абонентах и условиях их обслуживания, исходные данные по режимам работы системы, в необходимых случаях оператор выдает требующиеся по ходу работы команды.
Важными элементами системы являются БД - домашний регистр, гостевой регистр, центр аутентификации, регистр аппаратуры. Домашний регистр (местоположения - Home Location Register, HLR) содержит сведения обо всех абонентах, зарегистрированных в данной системе, и о видах услуг, которые могут быть им оказаны. В нем фиксируется местоположение абонента для организации его вызова и регистрируются фактически оказанные услуги. Гостевой регистр (местоположения - Visitor Location Register, VLR) содержит сведения об абонентах - гостях (роумерах), т.е. об абонентах, зарегистрированных в другой системе. Центр аутентификации (Authentication Center) обеспечивает процедуры аутентификации абонентов и шифрование сообщений. Регистр аппаратуры (идентификации - Equipment Identity Register), если он существует, содержит сведения об эксплуатируемых ПС на предмет их исправности и санкционированного использования. В частности, в нем могут отмечаться украденные абонентские аппараты, а так же аппараты, имеющие технические дефекты, например являющиеся источником помех недопустимо высокого уровня.

Рис.35 Блок-схема центра коммутации
Как и в БС, в ЦК предусматривается резервирование основных элементов аппаратуры, включая источник питания, процессоры и базы данных. БД часто не входят в состав ЦК, а реализуются в виде отдельных элементов. Устройство ЦК может быть различным в исполнении разных компаний - изготовителей.
Интерфейсы сотовой связи
В каждом стандарте сотовой связи используется несколько интерфейсов, в общем случае различных и разных стандартах. Предусмотрены свои интерфейсы для связи ПС с
БС, БС - с ЦК (а в стандарте GSM - еще и отдельный интерфейс для связи приемопередатчика БС с КБС), центра коммутации - с домашним регистром, с гостевым регистром, с регистром аппаратуры, со стационарной телефонной сетью и другие.
Все интерфейсы подлежат стандартизации для обеспечения совместимости аппаратуры разных фирм-изготовителей, что не исключает возможности использования азличных интерфейсов, определяемых разными стандартами, для одного и того же нформационного стыка. В некоторых случаях используются уже существующие тандартные интерфейсы, например, соответствующие протоколам обмена в цифровых нформационных сетях.
Интерфейс обмена между ПС и БС носит название эфирного интерфейса или радиоинтерфейса (air interface) и для двух основных стандартов цифровой сотовой связи (D-AMPS и GSM) обычно обозначается одинаково - Dm, хотя организован по-разному. Эфирный интерфейс обязательно используется в любой ССС при любой ее конфигурации и в единственном возможном для всего стандарта сотовой связи варианте. Данное обстоятельство позволяет ПС любой фирмы-изготовителя успешно работать совместно с БС той же или либо другой фирмы, что удобно для компаний - операторов и необходимо для организации роуминга. Стандарты эфирного интерфейса разрабатываются весьма тщательно, чтобы обеспечить возможно более эффективное использование полосы частот, выделенной для канала радиосвязи.
Частотный план стандарта GSM
В стандарте GSM используют полосы частот, приведенные в таблице 6.
Таб.6 Полосы частот, используемые в стандарте GSM
| Стандарт | Частота, МГц | Длина волны, см | ||
| Обратный канал | Прямой канал | Обратный канал | Прямой канал | |
| GSM - 900 | 890 - 915 | 935 - 960 | 32,8 - 33,7 | 31,2 - 32,1 |
| GSM - 1800 | 1710 - 1785 | 1805 - 1880 | 16,8 - 17,6 | 16,0 - 16,6 |
| GSM - 1900 | 1850 - 1910 | 1930 - 1990 | 15,7 - 16,2 | 15,1 - 15,6 |
Одна из особенностей ССС - это жесткая ограниченность выделенных полос частот, вмещающих в себя небольшое число частотных каналов. Отсюда следует задача наиболее рационального использования имеющегося диапазона, оптимизации его использования и, следовательно, повышения емкости системы связи.
Другая особенность заключается в том, что используемые в сотовой связи полосы частот относятся к дециметровому диапазону. Дециметровые радиоволны распространяются в основном в пределах прямой видимости, дифракция на этих частотах выражена слабо, а молекулярного поглощения и поглощения в гидрометеорах (снег, дождь) практически нет. Однако близость подстилающей поверхности и наличие преград (зданий), особенно в условиях города приводит к появлению отраженных сигналов, интерферирующих между собой и с сигналом, прошедшим по прямому пути. Это явление называется многолучевым распространением сигналов.
Отражение от подстилающей поверхности приводит к тому, что мощность принимаемого сигнала убывает пропорционально не второй степени расстояния между передатчиком и приемником, как при распространении в свободном пространстве, а пропорционально четвертой степени этого расстояния, т.е. напряженность поля, убывает пропорционально квадрату расстояния. Интерференция нескольких сигналов, прошедших различными путями, вызывает явление замираний результирующего сигнала, при котором интенсивность принимаемого сигнала изменяется в значительных пределах при перемещении подвижной станции. Кроме того, возникают искажения, являющиеся следствием наложения нескольких соизмеримых на интенсивности смещенных один относительно другого во времени сигналов, которые могут приводить к ошибкам в принимаемой информации. Многолучевое распространение существенно затрудняет расчет интенсивности сигналов в зависимости от удаления от базовой станции, а такой расчет необходим для корректного проектирования системы.
Наиболее широко распростроненый стандарт GSM работает в диапазоне 800 - 900 мГц. При передаче на подвижные станции (линия "вниз") используется полоса 890 - 915 МГц, а для передачи к базовым станциям (линия "вверх") полоса 935 - 960 МГц. Сети GSM функционируют совместно с существующими аналоговыми системами стандартов NMT - 900, TACS, ETACS, поэтому частотные планы разработаны с учетом этой особенности. Разнос каналов в стандарте GSM составляет 200 кГц, а число частотных каналов в выделенной полосе равно 124. Частоты для организации дуплексного канала группируются парами с разносом 45 МГц. Эти пары частот сохраняются при перекосах частоты. Каждой соте присваивается определенное количество пар частот. Если обозначить F1(n) - номер несущей частоты в полосе 890 - 915 МГц, а F2(n) - номер несущей частоты в полосе 935 - 960 МГц, то частоты каналов определяются следующим образом:
F1(n) = 890,2 + 0,2 (n - 1), МГц;
F2(n) = F1(n) + 45 МГц; 1 < n < 124
Каждая несущая частота уплотняется 8-ю физическими каналами, которые размещаются в 8 временных окнах в пределах TDMA кадра и в последовательности кадров. Причем каждый физический канал использует одно и то же временное окно в каждом временном TDMA кадре.
Прежде чем сформировать физический канал, все сообщения и данные, представленные в цифровой форме, группируются и объединяются в логические каналы двух типов:
- каналы связи, предназначенные для передачи кодированной речи или данных (ТСН);
- каналы управления, предназначенные для передачи сигналов управления и синхронизации (ССН).
По одному физическому каналу может быть передано несколько типов логических каналов, но только при их соответствующей комбинации.
Роуминг в ССПС
Одна из функций ССПС - это функция роуминга, позволяющая расширить возможности пользования сотовой связью за пределами одной ("домашней") системы.
Роуминг - это функция, или процедура предоставления услуг сотовой связи абоненту одного оператора в системе другого оператора. Термин роуминг происходит от английского "roam" - бродить, странствовать, абонента использующего услуги роуминга, называют роумером (английское "roamer"). Для реализации роуминга необходимо техническое обеспечение его осуществимости (в простейшем случае - использование в обоих системах одного и того же стандарта сотовой связи) и наличие роумингового соглашения между соответствующими компаниями - операторами. По мере развития мобильной связи возникает возможность роуминга между системами сотовой и мобильной спутниковой связи.
Дата добавления: 2015-08-21; просмотров: 2285;
