Проводникас током в магнитном поле
Для наглядности рассмотрим случай, когда скорость проводника направлена перпендикулярно к силовым линиям магнитного поля и к проводнику. Однако прежде введем понятие потока вектора магнитной индукции.
Пусть у нас есть плоский контур площадью S, который пронизывают силовые линии индукции В однородного магнитного поля (рис. 2).

Потоком вектора магнитной индукции В через данный контур называется скалярная величина Ф, равная произведению модуля индукции В на площадь контура 5 и на cos а. Здесь угол а берется между вектором единичной нормали п к поверхности S и силовой линией магнитной индукции

Очевидно, что поток вектора индукции максимален, когда силовые линии перпендикулярны контуру (рис. 3) и равен нулю, когда силовые линии В параллельны поверхности S (рис. 4).
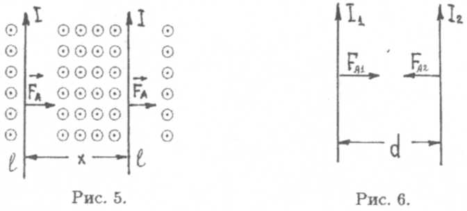
Рассмотрим теперь работу по перемещению проводника с током в магнитном поле. На рис. 5 магнитное поле показано точками в кружках. Это означает, что вектор магнитной индукции направлен перпендикулярно плоскости рисунка к нам. Длина проводника l, I — сила тока в проводнике, x — расстояние, на которое сила Ампера перемещает проводник. Как известно, работа силы определяется по формуле А — F» • х. В данном случае направления силы и перемещения совпадают. Подставляя значение силы Ампера, найдем

где ∆S = l∙х — площадь, пересекаемая проводником за рассматриваемый промежуток времени, ∆Ф — поток вектора магнитной индукции через пересекаемую проводником площадь.
Тогда формулу для работы по перемещению проводника с током в магнитном поле можно представить в форме А = I∆Ф или в дифференциальном виде


Формулы (9) и (10) оказываются универсальными, подходящими для любых случаев движения проводника в магнитном поле. В дальнейшем мы используем эти формулы для расчета энергии магнитного поля проводника с током.
В заключение приведем пример использования закона Ампера для расчета взаимодействия токов. По двум бесконечным прямолинейным проводникам в одном направлении текут токи I1и I2(рис. 6). Расстояние между проводниками d. Тогда, используя формулу для напряженности магнитного поля бесконечного прямолинейного провода и закон Ампера, нетрудно показать, что сила взаимодействия между проводниками, приходящаяся на каждый метр длины, будет равна

Здесь μ0— магнитная постоянная (мы предполагаем, что проводники находятся в вакууме); если токи текут в одном направлении, то проводники притягиваются друг к другу. На основе формулы (11) вводится одна из основных единиц системы СИ — ампер (А).
Ампером называется такая сила неизменяющегося тока, текущего по каждому из двух прямолинейных параллельных бесконечно длинных проводов, находящихся в вакууме на расстоянии 1 метр друг от друга, при которой проводники взаимодействуют между собой с силой 2 ∙ 10 -7 Н на каждый метр длины.
Лекция № 29
Дата добавления: 2015-08-11; просмотров: 972;
