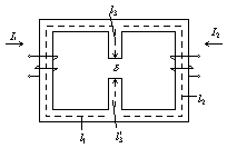
Анализ разветвленных магнитных цепей
1. Прямая задача

Дано:
1) геометрические размеры;
2) характеристика материала
3) Ф1,Ф2
Найти: намагничивающие силы
Решение:



2. Обратная задача
Дано:
1) геом. размеры
2) хар-ка материала
3) намагничивающие силы
Найти: Ф1,Ф2
Решение:
Для данной задачи рекомендуется использовать метод 2-х узлов.

Влияние воздушного зазора
Rмс – сопротивление магнитной стали
;
(в m раз)
; 

резкая зависимость

Воздушный зазор спрямляет ВбАХ и увеличивает магнитное сопротивление, поэтому в реальных эл. машинах и аппаратах стремятся уменьшить величину воздушного зазора (энергия теряется).
Дата добавления: 2015-08-11; просмотров: 1051;
