Вентиляторы и их характеристики
В механической системе вентиляции источником перемещения воздуха является вентилятор. В е н т и л я т о р – это гидравлическая машина с рабочим органом в виде лопаточного колеса, создающая избыточное давление воздуха или других газов до 15 кПа. Вентиляторы предназначены для перемещения воздуха при проветривании помещений, для транспортировки аэросмесей и т.д. По принципу действия вентиляторы делятся на осевые, радиальные и диаметральные.
Простейший осевой вентилятор изображен на рис. 7.5. Он состоит из рабочего колеса 2, закрепленного на втулке и насаженного на вал 3 электродвигателя 4; кожуха 1, назначение которого – создать направление потоку воздуха. Осевые вентиляторы просты по устройству, компактны, способны перемещать большие объемы воздуха. К недостаткам осевых вентиляторов относят невысокое избыточное давление воздуха (ниже 200 Па) и значительная шумность работы.
На рис. 7.6 приведена схема радиального вентилятора со спиральным кожухом. Воздух через всасывающий коллектор 1 поступает к вращающемуся рабочему колесу 2. Лопатками 4 воздух захватывается, закручивается в направлении вращения колеса и отбрасывается в спиральный кожух 3. Кинетическая энергия потока воздуха из кожуха определяет напор вентилятора. Рабочее колесо насаживается либо на вал электродвигателя, либо на отдельный вал со шкивом, установленный в подшипниках, закрепленных на станине или на кожухе.
Радиальные (центробежные) вентиляторы различают по направлению вращения колеса. Если смотреть со стороны, противоположной входному
отверстию, то вентилятор, в котором рабочее колесо вращается по ча-
совой стрелке, называется вентилятором правого вращения, а против ча-
совой стрелки – левого вращения.
Колесо вентилятора должно вращаться всегда по ходу разворота спирального (улиткообразного) кожуха, так как при обратном вращении колеса подача вентилятора резко (примерно на 70 – 80%) уменьшается.
Вентилятору присваивается номер, соответствующий наружному диаметру колеса в (дециметрах). Так, например, вентилятор № 5 имеет наружный диаметр рабочего колеса 5 дм (500 мм), № 3 – 3 дм (300 мм) и т.д.
В настоящее время центробежные вентиляторы выпускаются промышленностью сериями с колесами от 200 (№ 2) до 1000 мм (№ 10) через каждые 100 мм и от 1000 до 2000 мм (№ 20) через 200 мм.
Радиальные вентиляторы одной и той же серии и номера изготовляют с кожухами, имеющими различное направление выхода воздуха по отношению к линии горизонта,
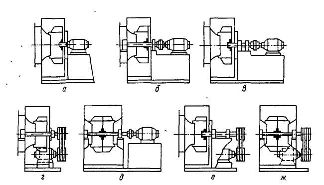
По создаваемому давлению центробежные вентиляторы делятся на группы: низкого давления – до 1000 Па; среднего давления – до 3000 Па; высокого давления – до 12 000 Па. В системах вентиляции более широкое применение находят вентиляторы низкого давления. Радиальные вентиляторы высокого давления используют для пневматического транспорта и других производственных целей. Конструктивное выполнение радиальных вентиляторов показано на рис. 7.7.
Рис. 7.7. Конструктивное выполнение радиальных вентиляторов:
а – консольное крепление колеса на одном валу с двигателем; б – двухопорное крепление колеса (соединение с двигателем через муфту); в – консольное крепление колеса (соединение с двигателем через муфту); г – двухопорное крепление колеса (соединение с двигателем клиноременной передачей); д – двух-опорное крепление колеса двустороннего всасывания (соединение с двигателем через муфту); е – консольное крепление колеса (соединение с двигателем клиноременной передачей); ж – двухопорное крепление колеса двустороннего всасывания (соединение с двигателем клиноременной передачей).

Схема диаметрального вентилятора представлена на рис 7.8. Рабочее колесо 1 выполнено из двух дисков, соединенных криволинейными лопатками 2 с малой хордой. Вал рабочего колеса устанавливается в подшипниках, закрепленных в корпусе 3. В выходном патрубке 4 установлены направляющие плоскости 5, устраняющие закрутку воздуха. При вращении колеса воздух захватывается лопатками из входного патрубка 3 и движется в межлопаточных каналах в центростремительном направлении. Пройдя внутреннее пространство решетки, воздух вновь захватывается лопатками колеса, проходит их межлопаточные каналы в центробежном направлении и далее поступает в выходной канал 4. Воздух движется в плоскостях, перпендикулярных оси вращения колеса, вследствие чего вентиляторами создается плоскопараллельный поток. Поэтому данные вентиляторы можно изготовлять большой ширины при сравнительно небольшом диаметре. Лопатки диаметральных вентиляторов выполняют из листового металла и, как правило, в сечении они представляют собой дугу окружности. Поэтому взаимосвязь между параметрами колеса описывается теми же уравнениями, что и у радиальных вентиляторов. Число лопаток в колесе составляет от 12 до 64. В вентиляторах без направляющего аппарата внутри колеса его выполняют в виде двух плоских дисков, к которым приклепывают или приваривают лопатки.
Диаметральные вентиляторы нашли широкое применение в отопительно –вентиляционных системах транспортных средств, в малогабаритных установках кондиционирования воздуха, в зерноочистительных машинах.
Аэродинамические характеристики диаметральных вентиляторов позволяют использовать их в различных схемах соединения. Так для увеличения напора воздуха можно использовать последовательную схему, представленную на
рис. 7.9 ( а); для увеличение подачи – схему на рис. 7.9 (б ).
Вентиляторную установку при последовательном прохождении воздуха через поточную часть вентиляторов, соединенных патрубком применяют в том случае, когда необходимо подавал воздух в сеть (или отсасывать от сети), имеющей большой коэффициент сопротивления.
Установку при параллельном движении воздуха через проточную часть вентиляторов целесообразно применять в системах требующих подачи (или отсоса) большого количества воздуха в единицу времени. Подача воздуха данной установкой регулируется поворотом А-образной вставки 2, являющейся составной частью корпуса.
Рис. 7.9. Схемы соединения диаметральных вентиляторов:
а – последовательное соединение, здесь 1 – рабочее колесо; 2 – соединяющий кожух;
3 – выходные патрубки; 4 – корпус.
б – параллельное соединение, здесь 1 – рабочие колеса; 2 – вставка; 3 – входной
патрубок; 4 – выходной патрубок
Схемы конструктивных компоновок и способы соединения диаметральных вентиляторов с электродвигателями в основном такие же, кaк и у радиальных вентиляторов общего назначения.
Работа всех типов вентиляторов характеризуется следующими параметрами:
– подача вентилятора, м3 /ч (м3 /с);
рв –давление воздуха, создаваемого вентилятором, Па;
с – скорость воздуха на выходе из вентилятора, м/с;
n – частота вращения рабочего колеса, 1/с;
Nd – потребляемая мощность, Вт;
в – коэффициент полезного действия, %.
Эти технические данные определяют в процессе испытаний каждой модели изготовленного вентилятора
При проектировании вентилятора необходимо иметь математическую модель преобразования механической энергии на валу рабочего колеса в кинетическую энергию газа на выходе из вентилятора. Такая задача рассматривается в ряде специальных курсов. При выявлении условий, необходимых для получения того или иного параметра вентилятора, часто используют выражения, описывающие кинематику газа в межлопаточном канале при определенных допущениях. Так для оценки величины давления используется уравнение Эйлера.
Уравнение Эйлера для схемы движения воздуха в рабочем колесе радиального вентилятора, приведенной на рис. 7.10 имеет вид:
pт =
(u2 c2u – u1 c1u ) , (7.1)
где pт - теоретическое давление, создаваемое вентилятором;

u1, u2 – окружные скорости на диаметрах колеса D1 и D2;
с1u , с2u –проекции абсолютных скоростей на окружные.
Рис. 7.10. Кинематика газа в рабочем колесе радиального вентилятора:
с – абсолютная скорость, это скорость движения потока относительно неподвижного корпуса вентилятора; u – окружная скорость кромок лопатки; w – относительная скорость, это скорость движения потока относительно вращающейся лопатки
Абсолютная скорость в любом сечении межлопаточного канала определяется из уравнения объемного расхода

Окружная скорость будет зависеть от диаметра сечения и частоты вращения лопатки, т.е

Относительная скорость находится путем геометрического построения при выбранном угле
1. С некоторыми допущениями принимают по абсолютной величине w2 = w1.
Следовательно, уравнение (7.1) устанавливает, что давление зависит от частоты вращения рабочего колеса, его геометрических размеров, угла наклона
лопаток и от подачи газа вентилятором.
Результаты серийных испытаний по установлению зависимостей между параметрами вентилятора обрабатываются в виде таблиц или номограмм, называемых характеристиками. В табл.7.2 и на рис. 7.11 приведены характеристики двух типов вентиляторов.
Таблица 7.2 – Характеристики осевых вентиляторов типа В - 0,6 - 300
| № вентилятора | м3/ч
| рв , Па | n, 1/мин | %
| Nt, кВт | |||
| 0,12 | ||||||||
| 0,37 | ||||||||
| 0,75 | ||||||||
| 2,2 | ||||||||
Дата добавления: 2015-08-04; просмотров: 2733;

м3/ч
%