Системы отопления
6.1.1. Общие сведения о системах отопления
Отопление – искусственный обогрев помещений с целью возме-
щения в них тепловых потерь и поддержания на заданном уровне температуры, отвечающей комфортному значению для человека или других живых организмов.
Тепловые потери возникают при условии, если температура среды, окружающей объект обитания, становится ниже температуры воздуха внутри объекта. Для жилых помещений такие условия имеют место в зимний и части осенне-весеннего периода времени. Для большинства регионов России отопительный сезон начинается в осенний период при устойчивой среднесуточной температуре наружного воздуха 8 0С в течение 3…5 суток, а заканчивается в весенний период при среднесуточной температуре выше 8 0С в течение 5 суток.
Системы отопления делят на централизованные и местные. При централизованной системе от котельной установки теплоноситель с высоким энергетическим потенциалом по тепловым сетям поступает в тепловые пункты к теплообменным аппаратам. Здесь тепловая энергия трансформируется и передается другому теплоносителю, который и используется для отопления.
Однако централизованные системы отопления экономически оправданы для общественно-коммунальной застройки и многоквартирных жилых домов. При рассосредоточенном расположении объектов целесообразны местные системы отопления от индивидуальных водонагревательных котлов, теплогенераторов, печей и т.п.
В зависимости от источника поступления теплоты в помещение различают следующие системы отопления: водяную, паровую, воздушную, лучистую, печную. Для жилых сооружений наиболее распространено водяное отопление, для производственных зданий, технологических процессов – также и паровое отопление.
6.1.2. Потребная тепловая мощность систем отопления
Тепловую мощность системы отопления для конкретного сооружения определяют в процессе проектировочных работ, которые выполняют в соответствие со СНиП
В основе расчетов положено уравнение теплового баланса. С целью поддержания в помещении заданного значения температуры должно выполняться условие баланса теплоты: количество тепловых потерь
должно быть равно количеству поступающей в помещение теплоты
, т.е.
. (6.1)
К тепловым потерям относят отвод теплоты из помещения теплопередачей через ограждения и теплоту, потребную на нагрев воздуха поступающего в помещение при приточной вентиляции и инфильтрации через окна, двери и т.п. Отсюда
. (6.2)
Тепловые потери через ограждения зависят от:
– температуры и относительной влажности воздуха, скорости его перемещения как с одной, так и с другой сторон поверхности ограждения, солнечного излучения;
– объемно – планировочных решений сооружения (этажности, конфи-
гурации, размещения, ориентации по странам света);
– качества теплозащиты ограждения;
– состояния и степени автоматизации индивидуального теплового пункта;
– уровня эксплуатации системы отопления;
– наличия системы индивидуального коммерческого учета тепловой
мощности.
Расчет потерь через ограждения трудоемок, к тому же недостаточно точен,
.
Расчет теплоты, затраченной на нагрев воздуха при вентиляции и инфильтрации, в некоторой степени является тоже приближенным (в основном из-за сложности определения массы воздуха при инфильтрации).
Тепловая мощность, потребная для поддержания комфортной температуры в сооружении, определяется, прежде всего, предназначением объекта. В самом общем случае
, (6.3)
где
тепловая мощность отопительных приборов (батарей, конвекторов, калориферов, тепловентиляторов и т. п.);
лучистый поток солнечной энергии, попадающий внутрь объекта;
мощность освещения;
теплота, выделяемая в единицу времени живыми организмами (людьми, животными, птицами, продуктами сельхозпроизводства);
суммарная мощность всех электроустановок (станков, электроплит, компьютеров и т.п.).
Как правило, при организации отопления объекта искомой является мощность отопительных приборов. Используя уравнение теплового баланса из (6.2) и (6.3) получим
–
(6.4)
Полученная величина
позволяет определить поверхность теплопередачи выбранных тепловых приборов. Примеры расчетов по определению тепловой мощности систем отопления некоторых объектов обитания приведены в 
В централизованных водяных системах отопления удобнее использовать понятие ч а с о в о й т е п л о в о й н а г р у з к и, которая обозначается
и измеряется в
. Тогда мощность отопительных приборов
через часовую тепловую нагрузку отопления
как
/ 3600.
При отсутствии проектной информации часовую тепловую нагрузку отопления отдельного сооружения можно ориентировочно оценить по рекомендуемому в 
, (6.5)
где
удельная отопительная характеристика здания, кДж/м3
ч
К;
V
объем здания по наружному обмеру, м3;
t вн, и tнар
температура внутреннего и наружного воздуха, соответственно, 0 С;
поправочный коэффициент, учитывающий отличие температуры наружного воздуха от расчетной, принятой при определении
за – 30 0 С.
Значения
и
определяются из табл. 6.1 и 6.2. заимствованных из 
Таблица 6.1 –Зависимость удельной отопительной характеристики от объема объекта
| V – наружный строительный объем, м3 |
характеристика,
кДж/м3 ч К
| V – наружный строительный объем, м3 |
характеристика,
кДж/м3 ч К
|
| 3,85 | 1,97 | ||
| 3,43 | 1,93 | ||
| 3,27 | 1,88 | ||
| 3,10 | 1,80 | ||
| 2,97 | 1,76 | ||
| 2,89 | 1,72 | ||
| 2,85 | 1,67 | ||
| 2,80 | 1,63 | ||
| 2,76 | 1,59 | ||
| 2,72 | 1,57 | ||
| 2,60 | 1,55 | ||
| 2,51 | 1,55 | ||
| 2,47 | 1,55 | ||
| 2,43 | 1,55 | ||
| 2,39 | 1,53 | ||
| 2,30 | 1,51 | ||
| 2,22 | 1,48 | ||
| 2,18 | 1,46 | ||
| 2,09 | 1,44 | ||
| 2,01 | 1,42 |
Таблица 6.2 – Влияние наружной температуры на коэффициент
| Температура наруж- ного воздуха, 0 С | -5 | -10 | -15 | -20 | -25 | -30 | -35 | -40 | -45 | |
| 2,05 | 1,67 | 1,45 | 1,29 | 1,17 | 1,08 | 1,00 | 0,95 | 0,90 | 0,85 |
Удельную отопительную характеристику
при отсутствии в табл. 6.1 соответствующего строительного объема можно определить по формуле

При отоплении конкретного объекта опорной величиной часовой тепловой нагрузки для поставщика теплоносителя является
, вычисленной при так называемой расчетной температуре наружного воздуха, tнар.р . За расчетную температуру в каждой местности принимается средняя температура наружного воздуха, равная средней температуре наиболее холодных пятидневок, взятых из восьми наиболее холодных зим за 50-летний период
наблюдений. Такие значения tнар. р определены для большинства регионов
страны и приведены в СНиП. Определенная таким образом
является максимальной, она гарантирует надежное отопление объекта. С повышением температуры наружного воздуха часовая тепловая нагрузка снижется и достигает нулевого значения при прекращении отопительного сезона.
С целью планово-экономической работы теплоснабжающих предприятий и снижения стоимости оплаты полученной теплоты потребителями, получили распространение графики расхода теплоты по месяцам года. Такой график для одного из объектов представлен на рис. 6.1.

Рис. 6.1. Помесячный график потребления теплоты
В течение месяца часовая тепловая нагрузка непостоянна, она изменяется с изменением температуры наружного воздуха. На графике указывается суммарное количество теплоты за месяц, переданное с ИТП на отопление объекта.
С целью анализа возможности реализации теплоты по графику, запишем уравнения тепловой мощности теплоносителей

где «1» – индекс относится к теплоносителю, подводимому к теплообмен-
ному аппарату из тепловых сетей;
«2»
индекс относится к теплоносителю, подводимому к теплообмен-
ному аппарату из объекта отопления;
– секундные массовые подачи теплоносителей;
– теплоемкости теплоносителей;
– температуры теплоносителей на входе в теплообменник;
– температуры теплоносителей на выходе из теплообменника.
Для теплообменного аппарата в общем случае
.
Регулирование тепловой мощность первого теплоносителя возможно за счет массовой подачи
(называют количественным регулированием) и температуры
(качественное регулирование). Регулирование потребляемой мощности объектом отопления возможно лишь массовой подачей теплоносителя
. В настоящее время широко внедряются автоматические системы регистрации теплой мощности и ее регулирования при изменениях температуры наружного воздуха.
6.1.3. Системы водяного отопления
В зависимости от удаления источника тепловой энергии различают централизованные системы отопления (от районной котельной или ТЭЦ) и индивидуальные системы (для каждого объекта свой преобразователь энергии). В этих системах подача теплоносителя к нагревательным приборам может осуществляться как естественной, так и вынужденной циркуляцией.
При централизованной системе отопления теплоноситель для обогрева объекта поступает с теплового пункта. Конструктивное выполнение подвода теплоносителя к отопительным приборам выполняется по различным схемам. Независимо от того, как в системе осуществляется циркуляция теплоносителя – естественным или искусственным путем, используются следующие схемы:
системы с верхней и нижней разводкой (в зависимости от уровня прокладки трубы, подающей горячую воду, по отношению расположения нагревательных приборов;
однотрубные и двухтрубные системы (по способу присоединения
нагревательных приборов к подающим стоякам);
– системы с вертикальными и горизонтальными стояками (по расположению стояков);
– системы с тупиковой схемой и с попутным движением воды в трубопроводах (по схеме прокладки магистрали).
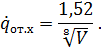
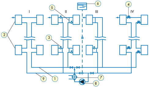
При верхней разводке горячая вода поднимается по главному стояку в магистральный трубопровод верхней разводки, расположенный обычно в чердачном помещении, и направляется через стояки к нагревательным приборам (радиаторам), см. рис. 6.2.

Рис. 6.2. Схема однотрубной вертикальной системы с верхней разводкой:
1 – труба верхней разводки; 2 – отопительные приборы; 3 – регулирующий
вентиль; 4 – трехходовой кран; 5 – вертикальный стояк; 6 и 7 – перемычки;
8 –воздушноспусковой вентиль; 9 – расширительный бачок; 10 – линия подачи;
11 – труба обратки; 12 – теплообменник; 13 – насос
Здесь римскими цифрами указаны стояки с различным подключением нагревательных приборов: I – нагревательные приборы 2 подсоединены к стояку параллельно; II – подсоединение аналогично предыдущему, но тепловая мощность приборов может регулироваться вентилями 3; III – приборы подсоединены параллельно с перемычками 6; IV – при подсоединении использованы трехходовые вентили 4, что дает более широкий диапазон регулирования; V – подсоединение аналогично предыдущему, только с одним нагревательным прибором. По этой схеме принудительная циркуляция осуществляется насосом 13, устанавливаемым на обратном трубопроводе (обратке). Теплоноситель нагревается в теплообменнике 12 и по линии подачи 10 поступает к верхней разводке 1. Расширительный бачок 9 выполняет роль компенсатора при изменении объема теплоносителя. Воздушноспускной вентиль 8 позволяет удалить воздух из системы при ее заполнении.
Системы отопления с верхней разводкой целесообразно применять в одноэтажных индивидуальных домах.
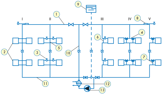
При нижней разводке (рис. 6.3) высокотемпературный теплоноситель поступает в магистральную трубу , расположенную ниже отопительных приборов (как правило в подвалах) и затем распределяется по стоякам. Независимо от типа разводки (верхней или нижней) расширительный бачек должен быть расположен в наиболее высокой точке отопительной системы, т. е. на чердаке.
Рис. 6.3. Схема однотрубной системы отопления с нижней разводкой теплоносителя:
1 – подающая труба; 2 – нагревательные приборы; 3 – регулирующие вентили;
4 – трехходовой кран; 5 – перемычка; 6 – расширительный бачок; 7 – теплооб-
менник; 8 – циркуляционный насос
Однотрубные системы водяного отопления не имеют обратных стояков, их можно устраивать по нескольким вариантам, обозначенным на рис. 6.3 римскими цифрами.
В варианте I, называемым проточным, вода из стояка проходит последовательно через все радиаторы, начиная с верхнего. Здесь в нижележащие радиаторы поступает уже охлажденная вода. В проточной системе нельзя ставить регулировочные краны, так как если уменьшить или перекрыть кран у того или иного радиатора, то уменьшится или перекроется подача воды во всех радиаторах, присоединенных к данному стояку.
В варианте II параллельно с отопительным прибором установлена перемычка, поэтому к нижним батареям подводится смесь охлажденной и горячей воды. Температура этой смешанной воды естественно будет ниже температуры воды в отопительных приборах, расположенных выше. Поэтому, чтобы увеличить отдачу теплоты, поверхность нагрева нижних приборов должна быть увеличена. В этом варианте возможно регулировать кранами количество поступающей в радиаторы воды.
В варианте III из стояка часть воды поступает в верхние нагревательные приборы, остальная вода направляется по стояку к радиаторам, расположенным ниже. Горячая вода, проходя через верхние нагревательные приборы, охлаждается и возвращается в подающие стояки. В нижние нагреватель приборы поступает горячая вода от стояка и охлажденная вода из верхних радиаторов.
В варианте IV проточная схема движения теплоносителя, как и в варианте I, но здесь трехходовые вентили не перекрывают полностью магистраль.
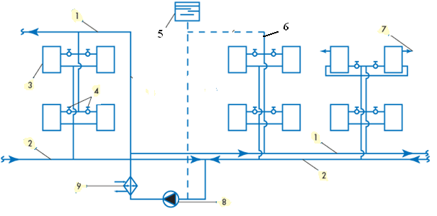
В двухтрубных системах водяного отопления теплоноситель по подающим стоякам поступает по все нагревательные приборы и далее из нагревательных приборов собирается в стояках обратки, см. рис. 6.4.
Двухтрубные системы водяного отопления с вертикальными стояками с верхней или нижней разводкой целесообразно использовать как в одноэтажных, так и многоэтажных домах.
Рис. 6. 4. Двухтрубной схема отопления с нижней разводкой, вертикальными стояками системы и принудительной циркуляцией:
1 – подающая магистраль 2 – обратная магистраль; 3 – нагревательные приборы 4 – регулирующие вентили; 5 – расширительный бачок; 6 – циркуляционная труба; 7 – выпуск воздуха; 8 – циркуляционный насос; 9 – теплообменник
Возможны и другие варианты устройства двухтрубных систем отопления.
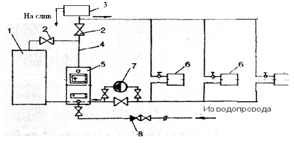
На рис. 6.5 изображена принципиальная схема квартирной системы отопления с насосной циркуляцией теплоносителя.
:

Рис. 6.5. Схема индивидуальной системы отопления с насосной
циркуляцией теплоносителя:
1 – аккумулирующий бак; 2 – вентили; 3 – расширительный бачек; 4 –главный стояк; 5 – котел; 6 – нагревательные приборы; 7 – циркуляционный насос; 8 – обратный клапан
Воздушное отопление и отопление сооружений защищенного грунта достаточно полно рассмотрены в
,
, 
Дата добавления: 2015-08-04; просмотров: 2458;

характеристика,
кДж/м3
ч