Буферные фонари.
Для подачи напряжения +110 В в цепь питания ламп буферных фонарей необходимо включить автоматический выключатель SF5 «Буферные фонари», расположенный на панели автоматов в шкафу МПСУ и Д.
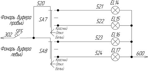
Управление включением буферных фонарей производится переключателями SA7 «Фонарь буферный правый» и SA8 «Фонарь буферный левый». Каждый переключатель имеет три положения: «Красный», «Откл» и «Белый». Путем коммутации этих переключателей добиваются необходимого свечения ламп (см. рисунок 35).

Рисунок 35. Схема цепи управления буферными фонарями
Дата добавления: 2015-08-04; просмотров: 1515;
