Анализ грунтовых условий
Анализ проводится с помощью бурения скважин. Пробурено три скважины. По результатам геологических исследований скважин грунты в районе строительства путепровода характеризуются неравномерным залеганием.

Рис.1. Геологический разрез
Фундамент мелкого заложения не подходит для данного случая, так как грунты неравномерны по своей несущей способности. Поэтому устраиваем свайный фундамент или сваи-оболочки.
Отметки ездового полотна (ЕП) определяются по формуле:
Для а/д: ЕП = ПЧ + Г + hпр.стр. + hд.о. + hк.з.
Для ж/д: ЕП = ГР + Г + hпр.стр. + hд.о. + hк.з.
где ПЧ – отметка проезжей части пересекаемой дороги
Г – высота под мостового габарита
hпр.стр. – высота пролетного строения
hд.о. – толщина дорожной одежды hд.о.=16 см.
hк.з. – конструктивный зазор (hк.=25 см)
Для варианта №1:
А/д: ЕП = 181.15 + 5.00 + 1.20 + 0.16 + 0.25 = 187.76
Ж/д: ЕП = 179.00 + 6.90 + 1.20 + 0.16 + 0.25 = 187.51
Для варианта №2:
А/д: ЕП = 181.15 + 5.00 + 1.15 + 0.16 + 0.25 = 187.71
Ж/д: ЕП = 179.00 + 6.90 + 1.05 + 0.16 + 0.25 = 187.36
Для варианта №3:
А/д: ЕП = 181.15 + 5.00 + 1.15 + 0.16 + 0.25 = 187.71
Ж/д: ЕП = 179.00 + 6.90 + 1.50 + 0.16 + 0.25 = 187.81
Для каждого варианта отметку ездового полотна принимаем наибольшую.
Вариантное проектирование путепровода
ВАРИАНТ 1

Схема варианта: L=12+5х24+12=144м
Балочная разрезная система, состоящая из балок, армированных напрягаемой арматурой, l = 24 м, h = 1,2 м и балок, армированных каркасной арматурой l = 12 м, h = 0,9 м.

Рис.2. Балка пролетного строения, армированного напрягаемой арматурой: консольная, промежуточная.

Рис.3. Балка пролетного строения, армированная каркасной арматурой: консольная, промежуточная.
Промежуточные пролеты длиной l = 24 имеют в поперечнике 5 балок. Балки омоноличиваются по плите проезжей части за счет выпусков арматуры. Крайние балки пролетного строения отличаются от промежуточных количеством пучков, наличием односторонних выпусков арматуры для соединения балок между собой, а также шириной плиты, равной 1,94 м. Средние балки имеют ширину плиты 1,8 м. Остальные геометрические параметры одинаковые: толщина плиты 0,15 м, толщина ребра в середине пролета 0,16 м, а по краям – 0,26 м. В нижней части ребра имеется уширение для размещения пучков напрягаемой арматуры, равное 0,62 м. Ширина шва омоноличивания 0,4 м. Балки армируются пучковой арматурой, натягиваемой на упоры. Усилие пучка передается каркасно-стержневым анкером. Для усиления бетона в месте передачи сосредоточенного усилия перед анкером устанавливается спираль из обычной арматуры. Кроме напрягаемой арматуры балки имеют ненапрягаемую арматуру в виде конструктивных продольных стержней и хомутов в стенке балки, сеток в плите проезжей части.
Пролеты длиной 12 м состоят из 6 балок с каркасной арматурой, которые объединяются в плите проезжей части за счет выпусков арматурных стержней. Крайние балки пролетного строения так же, как и балки с напрягаемой арматурой, отличаются наличием односторонних выпусков арматуры, шириной плиты, равной 1,5 м. У промежуточных балок ширина плиты 1,3 м. Остальные геометрические параметры одинаковые: толщина ребра у основания 0,16 м, у плиты – 0,24 м, толщина плиты 0,15 м. Ширина шва омоноличивания 0,4 м.
Деформационный шов.
Рис.4. Деформационный шов:1 – покрытие, 2 – армирующая сетка, 3 – защитный слой, 4 – гидроизоляция, 5 – отделяющая прокладка, 6 – перекрытие зазора, 7 – компенсатор, 8 – анкерный стержень, 9 - мостики, 10 – пористый заполнитель.
Деформационные швы устраиваются только при сопряжении неразрезной конструкции с пролётными строениями из каркасной арматуры и с устоями.
В закрытых деформационных швах горизонтальное перемещение торцов пролётных строений обеспечивается деформациями заполнителя в зазоре между торцами смежных пролётных строений. В шве зазор между торцами пролётных строений закрыт обычным покрытием, уложенной над зоной стыка без разрыва. Основу конструкции этого типа составляет петлеобразующий компенсатор, закреплённый в выравнивающем слое, и эластичное заполнение петли в зазоре в уровне защитного слоя гидроизоляции. Сопротивление образованию трещин в покрытии повышают армированием его сеткой и частичным отделением покрытия от защитного слоя специальными прокладками. Это обеспечивает возникновение меньших относительных деформаций в связи с распределением полной деформации на большей длине.
Конструкция тротуаров, барьерных ограждений, перил.
Тротуары устраиваются непосредственно на железобетонной плите по обеим сторонам проезжей части, железобетонные барьерные ограждения крепят также непосредственно к плите. Одежда тротуаров, устраиваемых на железобетонной плите без применения сборных тротуарных блоков, представляет собой покрытие толщиной 15 мм.
Со стороны проезжей части на тротуарах располагаются специальные барьерные ограждения - колесоотбой, выполняющие функцию обеспечения безопасности движения. Выполняется цельной железобетонной конструкцией. Конструкция не призвана амортизировать возможные столкновения транспортных средств с ограждением, но защищать пешеходов от наездов.

Рис.5. Конструкция тротуаров, барьерных ограждений, перил.
Перила выполняются из стального проката, специально сваренного в решетчатые блоки высотой h=1.10 м. Верхний пояс такого блока выполнен из трубы 0 76 мм, нижний - из уголка 100*63*8, соединённых сварными швами стержнями 0 26 мм, шагом 150 мм. Прикрепление перильных блоков к тротуарам осуществляется: путем их приварки: к закладным планкам. Поверхность перил и металлических ограждений защищают от коррозии краской.
Водоотвод.
Для обеспечения быстрого отвода воды с поверхности ездового полотна и тротуаров придают продольные 5 ‰ и поперечные 2 ‰ уклоны.
Также для отвода воды применятся упрощённый отвод воды в определённых местах через водоотводные трубки. Верх водоотводных трубок располагается ниже поверхности, с которой отводится вода, не ниже чем на 10 мм. С помощью трубок также отводится вода, стекающая по слою гидроизоляции в одежде ездового полотна и тротуаров. Для этого гидроизоляция заводится во внутреннюю поверхность водоотводной трубки и прижимается воронкой. Трубки имеют диаметр 150 мм. Расстояние между трубками – 6000 мм.

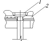
Рис.6. Конструкция водоотвода:
1 – водоотвод, 2 – одежда проезжей части.
Дорожная одежда ездового полотна.
Дорожная одежда устраивается для выполнения следующих функций: защита конструкций от механического воздействия, защита конструкций от действия атмосферной влаги, гидроизоляция, обеспечение комфорта движения.

Рис.7. Конструкция дорожной одежды:1-асфальтобетон, 2-защитный слой, 3-гидроизоляция, 4-выравнивающий слой, 5-плита проезжей части.
Одежда ездового полотна располагается на железобетонной плите проезжей части и состоит из выравнивающего слоя, гидроизоляции, защитного соя изоляции и покрытия. Выравнивающий слой под гидроизоляцию устраивают из бетона или цементно-песчаного раствора толщиной 40 мм. По выравнивающему слою устраивают оклеенную гидроизоляцию из рулонных материалов. Над оклеенной гидроизоляцией (10 мм) устраивают защитный слой из бетона с сеткой (40 мм). Этот слой защищает гидроизоляцию от возможных повреждений. Защитный слой армируют стальной сеткой. Покрытие одежды ездового полотна выполняют из асфальтобетона (70мм).
Сопряжение моста с насыпью.
Одним из наиболее важных требований к сопряжению моста с насыпью является обеспечение плавности перехода от насыпи к мосту. Этому способствует устройство одинакового покрытия на мосту и подходах. Кроме того, надо обеспечить плавность перехода от упругих деформаций насыпи и пролётного строения, как по величине деформаций, так и по скорости проистечения.
Это достигается путём переходных участков в виде переходных плит, отмосток и подушек из щебёночного и песчаного материала. Переходные плиты одним коном опираются на выступы шкафной стенки, а другим на железобетонный лежень. Плиты укладывают с уклоном 1:10 в сторону насыпи и закрепляют штырями. Под плитой устаивают подушку из дренирующего слоя.
Промежуточные опоры.
В качестве промежуточных опор запроектированы столбчатые опоры на свайном основании. В верхней части опоры расположен ригель. Ригель выполняется из монолитного железобетона. Стойка опоры – также из монолитного бетона. Стойки располагаются вертикально. Фундамент под опоры предусмотрен в виде свай оболочек, которые опускаются в грунт до опирание на грунт достаточной прочности.
Береговые устои.
В качестве береговой опоры запроектирован устой козлового типа. Устой состоит из насадки, шкафной стенки, откосных крыльев, стаканов, ростверка и свай. Насадка, блоки шкафной стенки и откосные крылья запроектированы из сборного железобетона М 200. Стыки сборных элементов омоноличиваются бетонным раствором. Стойки в устое принимаются размером 400*400 мм из сборного железобетона. Вдоль эстакады приняты 2 ряда стоек, один ряд стоек устраивается с наклоном 1:8 для улучшения восприятия устоем давления от насыпи. Стойки нижним концом замоноличиваются с помощью бетонного раствора в стаканы из сборного железобетона. В свою очередь стаканы объединены монолитной плитой ростверка, объединяющей сваи для их совместной работы.
Опорные части.
Опорные части передают опорные реакции от несущей конструкции на опоры в заданном месте. Кроме того, опорные части обеспечивают поворот и линейное смещение балок пролётного строения при их прогибе от действия подвижных нагрузок, а также от продольных и поперечных смещений концов балок, возникающие в результате температурных деформаций пролётного строения.
Линейные и угловые перемещения обеспечиваются резиновыми опорными частями. Размеры опорной части – 33*200*400 мм. Силы трения по контакту с бетоном опор и пролётных строений исключают смещение опорной части по этим плоскостям, поэтому перемещение происходит только за счёт поперечных деформаций в опорной части. Опорная часть составлена из нескольких слоёв резины и металлических прокладок толщиной 2 мм. Армирование резины в процессе её вулканизации увеличивает её несущую способность в 3-5 раз за счёт сокращения поперечных и продольных деформаций.
ВАРИАНТ 2

Схема варианта: L=15+5х18+21+15=141м.
Балочная разрезная система, состоящая из балок, армированных напрягаемой арматурой l = 21 м, h = 1,150 м и балок, армированных каркасной арматурой l = 15 м, h =1,05 м, l = 18 м, h = 1,05 м,
Конструкция пролётных строений, промежуточных и береговых опор, тротуаров, барьерных ограждений, перил, деформационного шва, водоотвода, сопряжения моста с насыпью, дорожной одежды ездового полотна, береговых устоев и опорных частей принимаются аналогично 1 варианту.
ВАРИАНТ 3

Схема варианта: L=15+33+4х21+15=147м
Балочная разрезная система, состоящая из балок, армированных напрягаемой арматурой, l = 33 м, h = 1,5 м, l = 21 м, h = 1,150 м и балок, армированных каркасной арматурой l = 15 м, h =1,05 м.
Конструкция пролётных строений, промежуточных и береговых опор, тротуаров, барьерных ограждений, перил, деформационного шва, водоотвода, сопряжения моста с насыпью, дорожной одежды ездового полотна, береговых устоев и опорных частей принимаются аналогично 1 варианту.
Определение ширины путепровода

ПО – перильное ограждение – 0,20 м,
Т – тротуар – 1,00 м,
БО – барьерное ограждение – 0,25 м,
П – полоса безопасности – 1,0 м,
Г – габарит – 8,00м,
В – полная ширина эстакады – 10,90 м.
Сравнение вариантов
Наиболее главным показателем при сравнении является ориентировочная стоимости вариантов. Определение стоимости вариантов проводится в учебных целях. Поэтому приближённо считаем, что стоимость образуется только за счёт цены материала. К расчёту принимаются старые цены, для перехода к настоящим ценам умножаем сумму по каждому варианту на коэффициент к=25. Из этих соображений составлены следующие таблицы.
Таблица 1. Ориентировочная стоимость 1 варианта
| № п/п | Наименование | Ед. изм. | Стоимость ед. измерения | Объём работ | Общая стоимость в руб. |
| Покрытие проезжей части | м2 | ||||
| Покрытие тротуаров | м2 | ||||
| Перильные ограждения | пм | ||||
| Барьерное ограждение | пм | ||||
| Деформационные швы | м | 87,2 | 4185,6 | ||
| Опорные части | шт | ||||
| Пролетное строение | пм | ||||
| Промежуточные опоры: -тело опоры - фундамент | м3 м3 | 190,0 105,58 | 24283,4 | ||
| Устои:-тело устоя -фундамент | м3 м3 |
Σ= 426053
С учётом к=25: Σ=10651325
Таблица 2. Ориентировочная стоимость 2 варианта
| № п/п | Наименование | Ед. изм. | Стоимость ед. измерения | Объём работ | Общая стоимость в руб. |
| Покрытие проезжей части | м2 | ||||
| Покрытие тротуаров | м2 | ||||
| Перильные ограждения | пм | ||||
| Барьерное ограждение | пм | ||||
| Деформационные швы | м | 98,1 | 4708,8 | ||
| Опорные части | шт | ||||
| Пролетное строение | пм | ||||
| Промежуточные опоры: -тело опоры - фундамент | м3 м3 | 202,4 112,3 | |||
| Устои: -тело устоя -фундамент | м3 м3 |
Σ= 425061,8
С учётом к=25: Σ= 10626545
Таблица 3. Ориентировочная стоимость 3 варианта
| № п/п | Наименование | Ед. изм. | Стоимость ед. измерения | Объём работ | Общая стоимость в руб. |
| Покрытие проезжей части | м2 | ||||
| Покрытие тротуаров | м2 | ||||
| Перильные ограждения | пм | ||||
| Барьерное ограждение | пм | ||||
| Деформационные швы | м | 87,2 | 4185,6 | ||
| Опорные части | шт | ||||
| Пролетное строение | пм | ||||
| Промежуточные опоры: -тело опоры -фундамент | м3 м3 | 190,0 105,58 | 24283,4 | ||
| Устои: -тело устоя -фундамент | м3 м3 |
Σ= 433001
С учётом к=25: Σ= 10825025
Экономический показатель
Наиболее дешёвым получился 2 вариант. Наиболее дорогим получился 3 вариант из-за большего количества опор и деформационных швов по сравнению с другими вариантами.
Технический показатель
Во всех трех вариантах предусматривается разрезная система. Такие системы устойчивы к деформациям, вызванным осадкой опор, хорошо работают на восприятие временных нагрузок.
Производственный показатель
Положительная черта 1,2,3 вариантов – сборка пролётных строений ведётся в специально отведённых для этого местах – заводах, конструкции перевозятся целиком и монтируются на месте кранами с колёс, это практично и экономично. Во 1 и 3 варианте использует меньше опорных частей и деформационных швов – это положительный факт.
Эксплуатационный показатель
1 и 3 вариант имеет преимущество с точки зрения количества опорных частей и деформационных швов. Их меньше чем во 2 варианте, что облегчает эксплуатацию моста.
Эстетический показатель
При выборе варианта путепровода по эстетическому показателю учитывается место строительства, сочетание с окружающей средой, обеспечение видимости при проезде по путепроводу, а также вид сооружения. Наиболее приемлем вариант 1, потому что здесь оси опор симметричны и уменьшаются от середины к концам моста.
Таблица 4. Сравнения вариантов.
| показатели | 1 вариант | 2 вариант | 3 вариант |
| экономический | – | + | – |
| технологический | + | + | + |
| производственный | + | – | + |
| эксплуатационный | + | – | + |
| эстетический | + | – | – |
Наиболее выгодным по этим данным считаем 1 вариант.
Дата добавления: 2015-08-01; просмотров: 1373;
