Технология проектирования ИХ
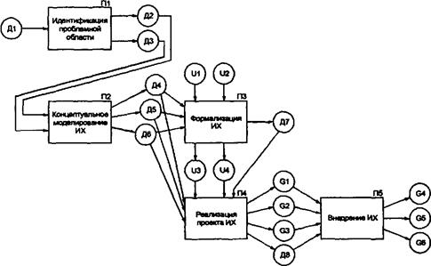
Интеграция множества источников данных в рамках единого информационного хранилища представляет собой трудоемкую и дорогостоящую проектную задачу. Поэтому к процессу проектирования систем оперативного анализа данных на основе информационного хранилища в наибольшей степени относятся требования: очередности внедрения компонентов ИХ, обеспечивающей быструю отдачу от внедрения, и адаптивности логической и физической структуры ИХ к изменяющимся в ходе проектирования и эксплуатации информационным потребностям. Рассмотрим технологическую сеть проектирования информационного хранилища (рис. 12.9).

Рис. 12.9.Технологическая сеть проектирования информационного хранилища: Д1 - материалы предпроектного обследования, Д2 - техническое задание, ДЗ - технико-экономическое обоснование проекта; Д4 - логическая структура данных ИХ; Д5- схема преобразования данных, Д6 - логическая структура данных витрин, Д7 - схема размещения ИХ в сетевой вычислительной среде, Д8 - проектная документация, U1 - универсум программных средств, U2 - универсум технических средств, U3 - универсум программных средств реализации ИХ, U4 - универсум технических средств реализации ИХ, G1 - репозиторий, G2 - настройка или процедуры инструментальных средств, G3 – наполнение информационного хранилища для MOLAP-структуры, G4 - модифицированный репозиторий, GS - модифицированные настройки или процедуры инструментальных средств, G6 - модифицированное информационное хранилище для MOLAP-структуры
Дата добавления: 2015-07-30; просмотров: 867;
