Конструктивні і технологічні особливості та відмінності
Кожний вид перекривальної арматури складається з двох основних елементів: виконавчого пристрою і привода.
Виконавчий пристрій - це закритий корпус, всередині якого переміщається затвор. Корпус в основному має два приєднувальних кінці, з допомогою яких щільно скріплюється з трубопроводом. Виконавчий пристрій, призначений для герметичного перекривання трубопроводу, називається запірним. В запірних пристроях поверхні затвора і сідла, що прилягають одна до одної в період герметичного перекривання трубопроводу, називаються ущільнюючими і є запірною парою.
Запірні пристрої арматури визначаються напрямком переміщення затвора відносно сідла [1].
У зв'язку з цим розрізняють такі типи запірних пристроїв (рисунок 1.1):

а - вентильний; б - засувний; в - крановий; г - зворотний затвір.
Рисунок1.1 - Типи запірних пристроїв арматури
- вентильний, в якому затвор переміщається поступально вздовж осі проходу сідла. Арматура з таким типом запірного пристрою називається вентилями;
- засувочний, в якому затвор переміщається в площині перпендикулярній до осі проходу сідла;
- крановий, в якому затвор виготовлений у формі кулі, яка повертається в сідлі навколо своєї осі. Типовим прикладом запірного пристрою є пробковий кран, а також кульові крани, в яких передбачено постійний контакт кульового затвора з двома сідлами кільцеподібної форми;
- зворотні затвори, в яких затвор виконаний у вигляді диска з поворотом на осі і закріпленого в проході сідла. Такий вид запірного пристрою використовується в зворотних клапанах.
Крани - це запірні пристрої, в яких рухома деталь затвора (пробка) має форму тіла обертання з отвором для пропускання потоку і при перекритті потоку обертається навколо своєї осі. Кран має дві основні деталі: нерухому - корпус і обертову - пробку.
Залежно від геометричної форми ущільнювальних поверхонь затвора крани поділяються на три основних типи: конічні, циліндричні і сферичні. Кожний кран має дві основні деталі - корпус і затвор.
Крани класифікують також за іншими конструктивними ознаками, наприклад, за способом створення питомого тиску на ущільнювальних поверхнях, за формою вікна проходу пробки, за кількістю проходів, за наявністю чи відсутністю звуження проходу, за типом керування і привода, за матеріалом ущільнювальних поверхонь тощо.
Ущільнювальні поверхні конічних кранів мають форму конуса. Конусність пробки (корпусу) у практиці арматуробудування приймається зазвичай залежно від антифрикційних властивостей застосовуваних матеріалів. Залежно від способу створення заданого питомого тиску між корпусом і пробкою для забезпечення необхідної герметичності у затворі крани з конічним затвором можна розділити на такі основні конструктивні типи: натяжні, сальникові зі змащуванням і з притисканням пробки.
Крани виготовляються із змащуванням (рисунок 1.2) і без змащування (рисунок 1.3).

1 - болт для подачі мастила; 2 - центральний канал, 3 – кульковий
зворотний клапан; 4-6 - вертикальні та кільцеві канавки
Рисунок 1.2 - Кран конічний фланцевий зі змащуванням
У залежності від характеру руху затвора розрізняють крани із обертанням затвору без його піднімання і з підніманням затвора перед поворотом і наступним опусканням після повороту.
За наявністю або відсутністю звуженого проходу – крани є повнопрохідні і неповнопрохідні.
За матеріалом, з якого виготовляється корпус і затвор, відрізняють крани бронзові, латунні, чавунні, стальні, титанові, пластмасові, керамічні тощо.

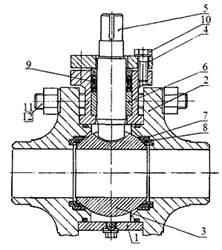
1 – пробка; 2 - сальникова гайка; 3 - сальникова набивка; 4 – піднабивочна шайба; 5 - корпус, 6 - регулювальний болт; 7 - анкерний болт
Рисунок 1.3 - Сальниковий конічний фланцевий кран
За конструкцією корпуса – із суцільним корпусом, з розбірним корпусом (паралельним, перпендикулярним і нахиленим до осі труби).
За напрямком потоку і кількості патрубків розрізняють крани прохідні кутові, триходові і багатоходові.
За наявністю підігріву (охолодження) – з оболонкою для підігрівання і без неї.
Переваги кранів порівняно з іншими видами перекривальної арматури:
- обертання поворотного вала (шпинделя) передається безпосередньо на запірний пристрій;
- прямоточність руху потоку через отвір в запірному пристрої;
- компактність конструкції і менша вага.
До недоліків можна віднести складність виготовлення затворів сферичної форми.
Серед запірних пристроїв трубопровідної арматури магістральних газопроводів в експлуатаційних умовах позитивні переваги одержали крани зі сферичними затворами. Крани зі сферичними затворами мають різні конструктивні виконання, а саме: крани з плаваючою кулею (рисунок 1.4); крани з плаваючими сідлами (рисунок 1.5).

1 - корпус; 2 - фланець; 3 – сферичний затвор; 4 - кришка; 5 - шпиндель;
6 - втулка; 7 - сідло; 8 - ущільнення кулі; 9 - ущільнення шпинделя;
10 - болт; 11 - гайка; 12 - шпилька
Рисунок 1.4 - Сферичний кран із плаваючою кулею

1 - корпус; 2 - фланець; 3 - куля; 4 - кришка; 5 - шпиндель; 6 - направляюча вісь; 7 - контрсідло; 8 - сідло; 9 – полімерне ущільнення; 10 - тарілчаста пружина; 11 - шпонка; 12 - гвинт.
Рисунок 1.5 - Сферичний кран із плаваючими сідлами
Плаваюча куля передає тиск середовища на ущільнюючі кільця і вільно переміщається у з'єднанні з поворотним шпинделем.
Сферичні крани з плаваючими сідлами відрізняються тим, що сідла з кільцями притискаються до кулі тиском середовища або пружинами.
Виготовляються крани з регулюючими сідлами з послабленням притиску кілець при повороті, і з сідлами, які автоматично відводяться під час повороту кулі та інші. Деталі запірних пристроїв виготовляються з високовуглецевих хромистих і молібденових сталей. Матеріалами для ущільнень контактних поверхонь служать шкіра, гума, ебоніт, пластмаса та інші матеріали.
Крани із сферичними затворами менш чутливі до неточності виготовлення і забезпечують кращу герметичність.
Найбільш трудомісткими операціями при виготовленні кранів є механічна обробка та притирання ущільнюючих поверхонь корпусу, кулі, фланців.
Корпус крана, фланці, кришки виготовляють із вуглецевої сталі та спеціальних сплавів. Фланці, кришки та інші деталі до корпусу кріпляться за допомогою шпильок, а в кранах «Камерон»(Франція) та «Борзіг» (Німеччина) вони приварюються до корпусу. Крани цих заводів-виробників є нерозбірними і тому незручні при ремонтах.
Тип привода запірного пристрою застосовується в залежності від експлуатаційних умов крана. Крани з ручним приводом використовуються на трубопроводах з невеликим діаметром умовного проходу при малій кількості маніпуляцій "відкрито-закрито". В залежності від зусиль та швидкості перекриття використовуються механічні редуктори.
На трубопроводах великих діаметрів умовного проходу використовуються приводи - пневматичний, гідравлічний, електричний та ін. з різними схемами управління.
Крани підземного встановлення мають видовжений поворотний шпиндель, який змонтований у захисній колоні і закріплений на корпусі крана. На колоні кріпиться привод повороту затвора, трубки для подачі мастила до стику сфера-ущільнення і трубка витоків конденсату. Крани виготовляються однофланцевими і двохфланцевими.
Дата добавления: 2015-07-06; просмотров: 1333;
