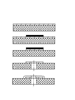
Оплавлення покриття олово-свинець та гаряче олудження
Гальванічно нанесений металорезист олово-свинець має пористу структуру, матовий світло-сірий відтінок, швидко окислюється та втрачає спроможність до паяння, створює ефект навісання після травлення міді.
Для усунення цих недоліків використовують оплавлення покриття. При цьому поверхня перетворюється на гладку блискучу, захищаються бокові стінки від корозії, покращується спроможність до паяння. Ця операція є додатковою операцією контролю якості.
Оплавлення виконують зануренням у рідкий теплоносій або під дією інфрачервоного випромінювання. В першому випадку t = 230 C на час Т = 15 сек.
Товщина покриття повинна бути <= 15 мкм, інакше відбуваються великі напливи металу в отворах. Якщо при виробництві ДП не передбачене покриття їх металорезистом, то для поліпшення паяння застосовують гаряче лудження їхнього провідного рисунка за допомогою припою.
ДВА ВИДИ:
(1).Нанесення на ДП припою в надлишковій кількості, вирівнювання його по поверхні провідного рисунка та видалення надлишків.
Нанесення - зануренням, наливом або хвилею розплаву. Вирівнювання та вилучення надлишків за допомогою центрифуг, ракелів, сіток й т. д.
(2).Припой наноситься строго дозовано. Застосовують спеціальні пасти та пари валиків, що обертаються у розплавленому припої.
16.9 Способи виготовлення односторонніх та двосторонніх друкованих плат
Способи виготовлення ОДП та ДДП за принципом формування провідного рисунка поділяються на:
- субтрактивні (subtratio (лат.)- віднімання), при яких провідний рисунок утворюється за рахунок вилучення провідного шару з дільниць поверхні, які утворюють непровідний рисунок (пробільні місця);
- адитивні (additio-додання), при яких провідний рисунок одержують за допомогою нанесення провідного шару заданої конфігурації на діелектричну основу плат;
- напівадитивні, при яких провідний рисунок одержують за допомогою нанесення провідного шару на основу зі заздалегідь нанесеним допоміжним провідним покриттям згодом видаляємим з пробільних місць;
- комбіновані, що являють собою поєднання означених засобів.
16.10 Хімічний метод
Цей спосіб в СНД називають просто хімічним, за кордоном -субтрактивним.
СУТЬ: В якості вихідного матеріалу використовуються діелектрики, що вкриті фольгою з однієї або двох сторін. На фольгу наносять рисунок схеми. Незахищені дільниці фольги видаляють шляхом травлення, в результаті чого одержується необхідний рисунок ДП.
Існують хімічний негативний та позитивний способи.
16.10.1 Хімічний негативний метод:
Технологічний процес при виготовленні ОДП та ДДП включає наступні операції:
1.Різка заготовок та підготовка поверхні, виконання базових отворів. (ГФ, СФ).
2.Отримання захисного рисунка схеми. В якості фотошаблону використовується негативне зображення провідного рисунка ДП.
3.Травлення міді.
4.Вилучення захисного рисунка.
5.Виконання монтажних та перехідних отворів.
6.Нанесення сплаву Розе (16%Sn, 32%Pb, 52%Bi) - для поліпшення паяння.
7.Фінішна обробка (обробка контура, маркування. Контроль ДП, нанесення захисної лакової плівки).

16.10.2 Хімічний позитивний метод:
Послідовність операцій:
1.Послідовність операцій:
2.Отримання захисного рисунка на пробільних місцях. Використовується позитивний фотошаблон.
3. Гальванічне нанесення металевого покриття (сплав олово-свинець).
Вилучення захисного рисунка.
5. Травлення міді.
6. Виконання монтажних та перехідних отворів.
7. Фінішна обробка (оплавлення+маркування...).

Достоїнства хімічного засобу (субтрактивної технології):
1. Простий технологічний процес.
2. Спосіб легко автоматизується.
3. Малий час хімічних впливів на ДП (25 хв.).
4. Висока міцність зчеплення фольги з діелектриком.
Недоліки:
1. Необхідність в металевих втулках при двосторонньому печатному монтажі. Спосіб застосовується для виготовлення ОДП, причому зазвичай використовується негативний спосіб.
2. Великий видаток міді (біля 60-90% фольги видаляється у процесі травлення (на 10000 м^2 готових ДП втрати міді дорівнюють 3-6 т).
3. Існує ефект бокового підтравлення елементів провідного рисунка. Звідси низька дозвільна спроможність.
16.11 Адитивний спосіб виготовлення ДП
В якості вихідного матеріалу використовують нефольгований діелектрик. На його поверхню хімічним способом осаджується мідь, що утворює провідний рисунок ДП.
Послідовність операцій:
1.Виготовлення заготовки, підготовка поверхні, утворення базових отворів.
2.Виконання отворів під металізацію.
3.Сенсибілізація та активація поверхні.
4.Отримання негативного захисного рисунка схеми.
5.Хімічне міднення ( впродовж 8 -16 г., товщина шару міді 25-35 мкм).
6.Вилучення захисного рисунка.
7.Виконання не металізованих отворів.
8.Покриття сплавом олово-свинець (ПОС-60) (біля 8 мкм).
9.Фінішна обробка.
Достоїнства:
1.Висока дозвільна спроможність (практично відповідає дозвільної спроможності нанесеного негативного захисного рисунка схеми), бо немає підтравлення.
2.Однакова товщина та однорідність міді на всіх дільницях ДП та в металізованих отворах. Звідси слідує збільшення надійності.
3.Экономія міді. НЕДОЛІКИ: Низька швидкість процесу.
Одним з варіантів адитивного засобу є фотоформування провідного рисунка схеми ("фотоформ", фотоселективна металізація). Технологічний процес виготовлення ДП цим способом включає операції нанесення фото активатора на ДП, його експонування через ФШ, проявлення та вилучення з незасвічених місць. В результаті утворюється поверхня провідного рисунка схеми (0.2-0.5 мкм), що ініціює наступне осадження на неї товстошарової хімічної міді.
В якості фотоактиватора використовують розчини, що містять з'єднання міді або заліза. Практично після проявлення утворюється шар тонкої міді на експонованих дільницях.
Достоїнства:
1) не вимагається отримання захисного рисунка;
2) дозвільна спроможність залежить від дозвільної спроможності ФШ;
3) добре зчеплення міді з діелектриком.
За цим способом можуть бути отримані провідники шириною 0.8-1 мм - витрати на виробництво ДДП таким способом у порівнянні з субтрактивною технологією нижче на 30%. Спосіб розроблений для умов лабораторного або досвідного виробництва.
Як показує практика застосування адитивної технології сприяє зменшенню вартості ДП на 15-20%, а також видатків хімікатів, скороченню виробничих площ та складу обладнання (США). До 10% ДП, що виробляються у Європі та США, виробляються за адитивним способом. Більш широкому його використанню перешкоджають патентні обмеження.
16.12 Напівадитивний спосіб.
До напівадитивної технології відноситься електрохімічний спосіб. Рисунок утворюється в результаті електрохімічного осадження метала, а не за допомогою витравлювання. Приставка "напів" означає, що в технологічному процесі операція травлення все ж таки присутня.
В якості вихідного матеріалу використовують нефольговані діелектрики. На їх поверхні спочатку хімічно одержують шар міді товщиною 5-7мм, що служить рисунком друкованих провідників, а потім, де необхідно, витравлюється.
Послідовність операцій:
1.Різка заготовок, свердлення отворів, що підлягають металізації. (Заготовка покрита з обох сторін шаром (50-80мкм) полімерного матеріалу (епоксікаучукова композиція), що служить для поліпшення зчеплення діелектрика з фольгою).
2.Підготовка поверхні - активація поверхні під металізацію. Полягає в обробці кислотою, в результаті чого на поверхні утворюються мікрозападини, що забезпечують добру адгезію металізуємого шару.
3.Сенсибілізація та активація всієї поверхні.
4.Хімічне міднення плати (інколи після цього мідь гальванічно посилюють за товщиною 5-7мкм.)
5.Нанесення захисного рисунка на пробільні місця.
6.Гальванічне міднення схеми.
7.Гальванічне покриття сплавом олово-свинець.
8.Вилучення захисного рисунка.
9.Травлення міді з пробільних місць.
10.Створення не металізованих отворів.
11.Фінішна обробка.
Достоїнства:
1.Мале бокове підтравлення, бо малий час травлення (до 1 хв.).
2.Висока дозвільна спроможність (ширина провідників може досягати до 0.15 мм).
3.Гарне зчеплення фольги з діелектриком (міцність на відрив у 1.5 раз більше, ніж при використанні фольгованих діелектриків).
4.Висока міцність металізації. Недоліки:
1.Висока вартість вихідної заготовки (наявність спеціального шару);
2.Виникнення перехідної зони між хімічною та гальванічною міддю.
3.Висока токсичність видаляємого поверхневого шару.
1.Диференціальне травлення - немає операції гальванічного покриття сплавом олово - свинець, а при травленні тонкого шару міді з пробільних місць водночас витравлюються 5-7 мкм з провідного рисунка. При гальванічному мідненні заздалегідь отримують більш товстий шар міді.
2."Тектинг - процес" - заготовка металізується повністю хімічним, а після цього - гальванічним мідненням з товщиною шару 25 - 30 мкм. Далі за допомогою сухого плівкового фоторезисту (товщиною 40 - 60 мкм) та ФШ - негативу одержується захисний рисунок з плівки фоторезисту, що перекриває всі отвори та що захищає їх від травильного розчину. Провідний рисунок утворюється після травлення - застосовується для БДП.
3.Застосування для металевих плат - спочатку одержують електроізоляційну плівку на металевій основі. Подальші операції - в послідовності, що вказана . В якості ізоляційного шару використовують чотири шари фарби ПЕП-219 з оплавленням кожного шару при t=180 C.
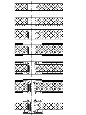
16.13 Комбінований спосіб виготовлення ДП
Комбінований спосіб являє собою поєднання хімічного та електрохімічного способів. Вихідним матеріалом служить фольгований з двох сторін діелектрик. Провідний рисунок одержують за допомогою витравлення міді, а металізація отворів здійснюється хімічним мідненням з наступним нарощуванням шару міді.
Розрізняють комбінований позитивний та комбінований негативний способи виготовлення ДП. Назву ці способи отримали від виду ФШ, що застосовується при створенні захисного рисунка . В першому випадку застосовується позитив печатної схеми, а в другому - негатив.
16.13.1 Комбінований позитивний спосіб.
Спочатку виконуються операції свердлення отворів та їх металізація, а після цього травлення міді з пробільних місць. При використанні сухих фоторезистів свердлення отворів та хімічне міднення виконується до нанесення рисунка, при використанні рідких - після нанесення рисунка. Відповідно розрізняють комбінований позитивний - I та комбінований позитивний - II способи. (I - свердлення - рисунок - травлення; II - рисунок - свердлення - травлення).
Технологічна послідовність операцій при комбінованому позитивному - I засобі:
1.Виготовлення заготовки та виконання базових отворів.
2.Виконання отворів, що підлягають металізації та їхнє очищення (свердленням, механічна зачистка або електролітичне полірування).
3.Підготовка поверхні, хімічне та попереднє гальванічне міднення (затягання). Далі - аналогічно напівадитивному засобу
4.Підготовка поверхні та формування захисного рисунка.
5.Гальванічне міднення та нанесення захисного покриття (сплав олово-свинець).
6.Вилучення захисного рисунка.
7.Травління міді.
8.Оплавлення захисного покриття.
9.Фінішна обробка.

Різновиди: без гальванічного попереднього міднення, а тільки хімічна мідь товщиною 5 мкм (тут хімічна - 1 мкм, а після цього гальванічна - до 5 мкм); інколи застосовується фольгований діелектрик товщиною 5 мкм (в цьому випадку зменшується час травлення, бо загальна товщина шару фольги =10... 12 мкм, а не 40... 50 мкм - матеріал "Слофадит").
Послідовність операцій при комбінованому позитивному-II засобі:
1.Виготовлення заготовки та виконання базових отворів.
2.Підготовка поверхні та формування захисного рисунка (резисту).
3.Нанесення захисної лакової плівки.
4.Отримання отворів, що підлягають металізації та їхнє очищення.
5.Хімічне міднення.
6.Вилучення лаку.
7.Гальванічне міднення.
8.Нанесення захисного покриття (сплав олово-свинець).
9.Вилучення захисного рисунка (резисту).
10.Травління.
11.Оплавлення.
12.Фінішна обробка.

До позитивного комбінованого - I та II засобів:
Забезпечують добру адгезію елементів провідного рисунка до діелектрика та збереження електроізоляційних властивостей діелектрика, захищеного під час обробки в хімічних розчинах мідною фольгою. Дозвільна спроможність засобу декілька нижче, ніж хімічного, що пояснюється великим боковим підтравлюванням та розрощуванням (збільшенням перетину) елементів схеми, характер якого залежить від товщини захисного шару фарби або фоторезисту, нанесеного перед металізацією. Якщо застосовують сітко графічну фарбу товщиною 5 - 7 мкм, то в процесі гальванічного осадження міді та захисного покриття відбувається розрощування елементів схеми. При використанні сухого фоторезисту товщиною 40... 60 мкм розрощування міді не відбувається.
16.13.2 Комбінований негативний спосіб
Послідовність операцій:
1.Виготовлення заготовки, виконання базових отворів, підготовка поверхні.
2.Формування захисного рисунка.
3.Травління.
4.Вилучення захисного рисунка.
5.Нанесення захисної лакової плівки.
6.Виконання отворів (свердлення), що підлягають металізації.
7.Підготовка поверхні та хімічне міднення.
8.Вилучення лакової плівки.
9.Гальванічне міднення.
10.Нанесення сплаву олово-свинець.
11. Оплавлення сплаву олово-свинець.
12.Фінішна обробка.

При негативному комбінованому засобі , зважаючи на те, що мідь витравлюється спочатку, діелектрик наражається на вплив гальванічних розчинів та складів, наприклад, при покритті сплавом олово-свинець (HCl). За цією причиною опір ізоляції готових ДП в 10 раз нижче, ніж при позитивному процесі.
16.13.3 Характеристика комбінованої технології
Основне достоїнство комбінованих засобів полягає у високій якості з'єднань шарів ДП та монтажу елементів, електрична та механічна стабільність параметрів з'єднань, надійність перехідних з'єднань.
Комбінована технологія дозволяє отримати провідники шириною до 0.15 мм (матеріал "Слофадит"), це характерно для напівадитивної технології. Звичайно - 0.2... 0.3 мм (3-й клас точності).
Недоліки :
1.Розірвання технологічного процесу за рахунок застосування ручної операції лакування, що вимагає високої кваліфікації.
2.Свердлення через лакову плівку погіршує стійкість свердел.
3.Вилучення задирок після свердлення здійснюється зенкуванням, що збільшує трудомісткість свердлення. Крім того, при свердленні створюються зусилля на відрив контактних площадок. Тому передбачається збільшення діаметру контактної площадки, що знижує щільність монтажу.
Негативний спосіб легше освоюється через занижені вимоги до стійкості фоторезисту, позитивний забезпечує більш високу щільність монтажу та кращі діелектричні властивості ДП.
Найбільш перспективним є позитивний спосіб, що здійснюється за так званим базовим технологічним процесом, структура якого аналогічна напівадитивному процесу. Основні операції: виготовлення заготовки та свердлення отворів, що підлягають металізації; підготовчі операції та хімічне міднення; стовщення шару міді до 5 - 7 мкм гальванічним мідненням; нанесення захисного рисунка на пробільні місця; гальванічне міднення; покриття сплавом олово - свинець; вилучення захисного рисунка; травлення; оплавлення; фінішна обробка. Комбінований спосіб в наш час є основним у виробництві ДДП (та БДП) для апаратури самого різноманітного призначення.
Дата добавления: 2015-07-22; просмотров: 1243;
