Дифузанти.
Дифузанти бувають газоподібні, рідкі, тверді. Акцепторні домішки: бор, галлій, індій (B, Ga, In) - p-типу. Донорні домішки: фосфор, миш`як, сурма (P, As, Sb) - n-типу.
Найбільш розповсюдженим джерелом P з твердого дифузанту є P2O5 (пентаоксид фосфору). Між Si і P2O5 відбувається хімічна реакція:
P2O5+Si=SiO2+P, що утворить склоподібне покриття пластина, з якої відбувається дифузія. "Загонка домішки" - 1-й етап (=30 - 40 хвил) 2 - 3 мкм, 2-й етап - "розгін" - перерозподіл домішки (t=800 - 10000 С, супроводжується вирощуванням SiO2). Приблизно 1.5 години. Рідке джерело P є POCl3 (оксихлорид фосфору) - Механізм дифузії аналогічний,тобто рідкі джерела реагують з О2, відтворюючи P2O5 (POCl3+O2=P2O5+Cl2). Газоподібним джерелом Р є фосфін PH3. PH3+O2=P2O5+H2O P2O5 - на поверхні Si при "загонці". Джерела Бора (В): твердий - В2О3 - борний ангідрид, рідкий - ВВr3 - трьохбромистий бор, BBr3+O2=B2O3+Br3 B2O3+Si=SiO2+B. Газоподібний - BCl3. Або: діборан B2H6: B2H6+O2=B2O3+H2O. Глибина дифузії - 4 мкм.. 100 мкм. Недоліки: висока температура процесу призводить до перерозподіл домішки в областях ,що сформувалися раніше і зміщенню p-n-переходів, що ускладнює відтворювання окремих елементів.
12.5 Елементи напівпровідникових ІМС.
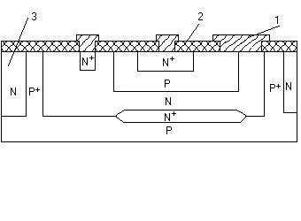
Дифузійні транзистори ІМС діляться на планарні, планарно-епитаксиальні і мезатранзистори. Планарний транзистор (plane - площина) - відрізняється тим, що всі шари, що відповідають емітеру, базі і колектору, виходять на одну поверхню.

Послідовність виготовлення планарного NPN транзистора.
Оксидування поверхні заготівлі (Si p-типу).
Фотолітографія (розкриття вікон в оксиді).
Дифузія домішок n-типу і повторне оксидування.
Фотолітографія.
Дифузія домішок p-типу і повторне оксидування.
Фотолітографія.
Дифузія домішок n-типу і повторне оксидування.
Фотолітографія і формування виводів - напиленням плівки алюмінію (Al має добру адгезію з Si і SiO2). Після металізації (0.1 - 1 мкм) видаляється зайвий метал (травленням) і одержується необхідна форма контактних площадок. (Застосовується і напилення через маску).
Недолік - Iк переборює довгу дільницю дна колекторної області (під дном бази), що має малі поперечні розміри. В дифузійному колекторі концентрація домішок розподілена нерівномірно: вона max на поверхні і min на дні колектора. Тому шар колектора під базою має високий опір, що збільшує напругу насичення і час переключення транзистора.
12.6 Епітаксія.
Епітаксія - це процес осадження атомарного Si на монокристалічну Si пластину, при якому одержують плівку, що є продовженням структури пластини. Практичне значення має випадок, коли легована епітаксіальна плівка вирощується на легованій пластині. При застосуванні в пластині і в плівці що вирощується на межі їхнього розділу утвориться p-n-перехід. На відзнаку від дифузії, при якій p-n-перехід утвориться в результаті перекомпенсації впливу вхідної домішки і утворення області з більш високою концентрацією домішки, епітаксія дасть можливість одержувати шари в широкому діапазоні питомих опорів, не що залежать від опору вхідної пластини.
Відомі три групи процесів епітаксії:
1. Автоепітаксія - це процес орієнтованого наростання кристалічної речовини, однотипної по структурі з підложкою, що відрізняється від неї тільки вмістом легованих домішок (Si на Si).
2. Гетероепітаксія - це процес що орієнтованого наростання речовини, що відрізняється по складу від речовини підложки, що відбувається при їхній кристалохімічній взаємодії (наприклад, на сапфірі).
3. Хемоепітаксія - це процес орієнтованого наростання речовини, в результаті якого утворення нової фази відбувається при хімічній взаємодії речовини підложки з речовиною, що надходить з зовнішньої середи. Отриманий хемоепітаскіальний шар відрізняється по складу як від речовини підложки, так і від речовини, що надходить на її поверхню.
Існує три основні технологічні способи епітаксії:
1. Молекулярно-променева епітаксія з молекулярних пучків в вакуумі.
2. Газофазна епітаксія за допомогою хімічної взаємодії речовини в газовій або парогазовій суміші, що називається газовою або хімічною епітаксією.
3. Рідкофазна епітаксія в рідкій фазі шляхом рекристалізації з розплаву або розчину-розплаву.
1. Епітаксія з молекулярних пучків в вакуумі є процесом прямого переносу речовини. Речовина-джерело в високому вакуумі під впливом електронного пучка або за допомогою розігріву випаровується, створюючи потік молекулярних часток, що досягають підложки без проміжних взаємодій.
2. При кристалізації з газової фази за допомогою хімічної взаємодії атоми напівпровідника переносяться в склад хімічного сполучення, що дисоціює на підложці, визволяючи атоми напівпровідника або його молекули.
3. Рідкофазна епітаксія полягає в нарощуванні монокристалічного шару напівпровідника з розплаву або розчину-розплаву, насиченого напівпровідниковим матеріалом. Напівпровідник епітаксіально кристалізується на поверхні підложки, що вантажиться в розплав, при його охолодженні. Як розчинник використовують будь-який метал, що володіє необмеженою розчинністю з напівпровідником в рідкому стані, наприклад, Ga, GaAs, GaP.
Серед найбільш розповсюджених засобів нарощування епітаксіальних шарів Ge і Si основними є відновлення і піролітичний розклад.
При відновленні застосовують тетрахлорид Si (SiCl) або тетрабромід Si (SiBr4).
SiCl4+H2=Si (осадок)+HCl при t=1200 C
SiBr4 + H2 = Si(осадок) + HBr при t = 1050 C
Для піролітичного розкладу застосовують силан SiH4:
SiH4 = Si(осадок) + H2 при t = 1000 C
Процес епітаксіального нарощування при хлоридному засобі складається з наступних операцій:
1. Завантаження пластин в реактор.
2. Продувка реактора інертним газом (N2 видаляє повітря).
3. Нагрівання пластини до 1200 С і подача Н2 і НСl з метою очищення пластин (Н2 видаляє оксидні плівки, HCl - травлення верхнього шару).
4. Подача SiCl4 для осадження і легирування епітаксіальних шарів.
5. Припинення подачі SiCl4, продувка воднем.
6. Виключення нагрівання, продувка воднем і інертним газом.
7. Розвантаження реактора.
Найбільше розповсюдження отримав хлоридний спосіб епітаксії. Достоїнства - простота і доступність вхідних матеріалів.
SiCl4 + 2H2 = Si + 4HCl при t = 1200 С
Іноді використовують трихлорсилан :
SiHCl3 + H2 = Si + 3HCl
Товщина епітаксіальної плівки - 1 - 25 мкм.
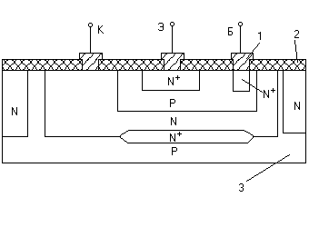
Інший варіант - епітаксіально-планарна структура з прихованим шаром. Тут епітаксіальний колектор легують помірно, а малий опір колектора забезпечують паралельно включеним шаром (n+), що має високу концентрацію домішки.

а) Вхідна пластина.
- Розкриття вікон під дифузію прихованого шару.
- Дифузія n+-домішки.
- Травлення оксиду.
- Епітаксіальне нарощування n-шару.
б) Оксидування пластини
- Фотолітографія.
- Розділова дифузія р-домішки на всю глибину епітаксіального шару і повторне оксидування.
в) Фотолітографія.
- Дифузія домішок p-типу і повторне оксидування.
г) Фотолітографія.
- Дифузія домішок n+-типу і повторне оксидування.
д) Фотолітографія і формування виводів - напиленням плівки алюмінію (Al має добру адгезію з Si і SiO2).
- Після металізації (0.1 - 1 мкм) видаляється зайвий метал (травленням) і одержується необхідна форма контактних площадок. (Застосовується і напилення через маску).
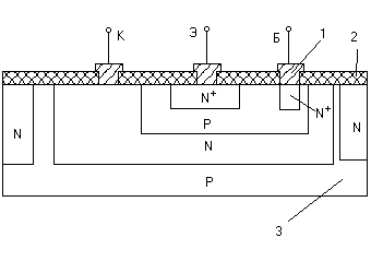
12.7 Ізопланарна структура.
Донна частина колектора ізольована від монокристалічної пластини p-n-переходом, а бокова - товстим шаром оксиду. Аналогічна епітаксіально-планарній, а розділова дифузія заміщена скрізним оксидуванням.
- а) Вхідна пластина.
- Розкриття вікон під дифузію прихованого шару.
- Дифузія n+-домішки.
- Травлення оксиду.
- Епітаксіальне нарощування n-шару.
- Осадження нітриду кремнію Si3N4.
- б) Фотолітографія.
- Травлення Si, формування мезаобластей ("Меза - геологічний термін - столова гора, тобто гора з плоскою вершиною).
- в) Скрізне оксидування на всю глибину епітаксіального шару.
- д) Вилучення нітриду кремнію Si3N4
- Оксидування підложки.
- Фотолітографія.
- Дифузія домішок p-типу і повторне оксидування.
- Фотолітографія.
- Дифузія домішок n+-типу і повторне оксидування.
- Фотолітографія і формування виводів - напиленням плівки алюмінію (Al має добру адгезію з Si і SiO2).
- Після металізації (0.1 - 1 мкм) видаляється зайвий метал (травленням) і одержується необхідна форма контактних площадок
- (Застосовується і напилення через маску).

Недолік - необхідність тривалого Оксидування, що може викликати небажане пере розподілення домішки з прихованого шару в епітаксіальний колектор.

13. МДП - технологія
МДП - метал-діелектрик-напівпроводник.
Якщо Д=SiO2, то МОП (метал-оксид-напівпроводник).
Етапи виготовлення МОП - транзистора.
Вхідна пластина SiO2.
1. Травлення вікон в діелектрикові, дифузія областей витоку (И) і стоку (C), Оксидування.
2. Травлення вікон.
3. Формування оксидного шару під затвором (важлива товщина цього шару, тобто вона визначає Uпор).
4. Вилучення шару оксиду з дифузійних областей.
5. Металізація всієї поверхні (Al).
6. Часткове вилучення металу (формування виводів).

Порівняння n - і p - МОП.
Переваги n - МОП: рухомість електронів, що є носіями зарядів в n - МОП майже в 2.5 разів вище, ніж у дірок - носіїв в p - МОП. Отже, n - МОП більш швидкодіючі схеми, ніж p - МОП. Але p - МОП дешевше. Розглянемо схему інвертора:
Щоб забезпечити вихідну напругу рівно 0.2 В треба великий R (тобто Rис велике). Отже, R=20 - 100 кОм. Отже, більша площа в інтегральному виконанні шляхом дифузії. Тому R замінюють n-моп - транзистором. Такий транзистор займає=1/20 частину площі R.
Комплементарні МДП - структури (КМДП).
Структура, що містить МДП - транзистори обох типів, дозволяє на 2-3 порядки у порівнянні з n - або p - структурами знизити потужність, що споживається пристроєм в статичному режимі. Такі структури отримали назву структур на МДП-ТРАНЗИСТОРАХ ,що доповняють або комплементарних МДП - структур (КМДП - структури).
Послідовність операцій.
а) вхідна пластина;
б) послідовне отримання способом дифузії р+ і n+ областей;
в) виборче травлення SiO2;
г) термічне Оксидування Si (отримання під затворного діелектрику);
д) виборче травлення SiO2 під контакти до витоків і стоків;
е) готова структура після отримання міжз`єднань.
14. Травлення в літографії.
Застосовують процес вологого (хімічного) травлення в рідинах і сухого травлення в плазмі. Для травлення Si використовують ізотропне і анізотропне травлення. Ізотропне - травлять Si в усіх кристалографічних напрямках приблизно з однаковою швидкістю. Воно використовуються також для хімічного полірування Si. (H3PO4: HNO3: CH3COOH - 5 мкм/хвил [111]). Анізотропне - травлять Si в напрямках [100] і [110] з більш високою швидкістю, ніж в напрямках [111]. (КОН: Н2О - 8мкм/хвил [100], [110] - швидкість травлення в цих напрямках в 600 раз більше, ніж в напямку [111]; KOH: пропіловий спирт: Н2О - 1 мкм/хвил [100] - в [111] швидкість менш в 100 раз, процес припиняється на межі з р++ областю). При використанні анізотропного травлення Si орієнтують в площини (100). Анізотропні травителі розчиняють Si в площині (100) до тих пір, доки травлення не дійде до площин (111), що починаються у краю вікна в плівці SiO2 і що зустрічаються таким чином, що вони утворять V-образний профіль. Глибина V-образної канавки залежить від ширини вікна на пластині Si. Травлення припиняється, коли ділянки площини (100), що виходять на поверхню, стравлюються. Регулюючи час травлення можна змінювати профіль канавки від трапецеїдального до V-образного. Профіль фігури травлення залежить від орієнтації рисунку на площині (100).
Обмеження фотолітографії: основним фізичним явищем, що обмежує можливості фотолітографії, є дифракція, що залежить від довжини хвилі. Довжина хвилі випромінювання Д =250.. 440 нм (це ультрафіолетове випромінювання, до нього чутливий фоторезист). Мінімальна ширина лінії при фотолітографії:
_________
bmin = 1,5 \/Д*(z+h/2),
де
z - зазор між шаблоном і підложкою
h - товщина шару фоторезисту.
При h=0.8 мкм; z=0 => bmin=0.7 мкм. (Теоретично, межа дорівнює 0.3 - 0.5 мкм). В реальних умовах z > 0. Тому типовий граничний розмір елементу зображення дорівнює 1 мкм. Для сучасних ВІС і НВІС цього замало.
15. Перспективні способи літографії.
1.Елекронолітографія.
Електронтолітографія заснована на створенні зображення за допомогою пучка електронів.
а) Довжина вільного стану електрона залежить від його енергії:
_________ ___ Д = h/(m*c) = h / \/ 2*m*e*U = 1,24 / \/ U
с - швидкість, е - заряд (1,6*10^-19 Кл),
м - маса електрона (9,1*10^-28 г),
U - напруга електричного поля ,що прискорює,
h - постійна Планка (6,62*10^-34 Вт*с).
Наприклад, при U=15кВт Д=0, 01нм (типове=0.05).
б) Доп. особливість: електрон на відзнаку від фотона несе заряд, що дозволяє формувати і відхиляти пучок електронів за допомогою електромагнітних полів, тобто засобами електронної оптики. Можна відмовитися від шаблонів і вибірково експонувати резист шляхом сканування гострозфокусованого електричного променя з включенням і виключенням по заданій програмі.
в) Енергія кванту світла Е=hc/Д, а при проходженні різності потенціалів що прискорить U енергія електрона:
Ее = m*c + e*U. При U = 15 кВ Ее = 8,33*10^-14 Дж (це приблизно 100000 раз більше енергії кванту світла). Така висока енергія випромінювання дозволяє застосовувати спеціальні чутливі полімерні склади - електронорезисти (їхня дозволяюча спроможність становить більше в 2-3 рази, ніж фоторезистів). Гранична ширина лінії при електронолітографії=0.05 мкм. Практично з допомогою електронолітографії одержують елементи з min шириною 0.2 - 1 мкм. Пристрої електронолітографії бувають скануючими і проекційними.
2.Рентгенолітографія.
При рентгенолітографії зображення на підложку переноситься з рентгеношаблона за допомогою рентгенівського випромінювання. Використовуються рентгенорезисти. Автоматичне суміщення шаблону з пластиною. Межа min ширини лінії=10 нм.
Можливі 2 напрямки:
1) Випромінювання з l=0,4 - 1,3 нм - розміри елементів - 0.5 - 1 мкм;
2) Синхронне випромінювання з l=1 - 2,5 нм, розміри - 0.05 - 0.5 мкм.
Рентгеношаблон - основа - мембрани з Si товщиною 5 мкм, а малюнок - з золота 0.3 - 0.5 мкм (не пропускає промені).
3. Іонно-променева літографія.
Використовується іонний пучок для формування зображення. l=0.05 - 0.1 нм - довжина хвилі випромінювання іонів. Принцип той же, що і в електронолітографії. Але іони володіють більшою масою, ніж електрони, і тому при взаємодії з резистом менш розсіюються. Так як іони краще засвоюються, то дифракцію можна зменшити. Min ширина лінії - 0.04 мкм.
4. Іонна імплантація (легирування)
Іонна імплантація - це процес впровадження в твердотільну підложку іонізованих атомів домішки шляхом її бомбардування. Іони легуючого елементу утворяться в плазмі дугового розряду, створеного в газорозрядній камері, робочої речовини. В мас-аналізаторі відбувається виділення потрібних іонів. В області електромагнітного аналізатору іони рухаються по траєкторіях що є колами, радіуси яких для іонів різної маси різноманітні. За допомогою щілинної діафрагми виділяються іони легуючого елементу. Виділений потік іонів влучає в прискорювач, фокусується і з високою швидкістю бомбардує поверхню матеріалу що легується. При впровадженні в мішень іони в результаті зіткнень з атомними ядрами і електронами втрачають свою енергію і зупиняються. Довжина шляху іонів від поверхні мішені до точки впровадження називають довжиною пробігу. Розподіл пробігу іонів залежить від їхньої енергії і атомної маси, а також речовини мішені. Для монокристалів на розподіл пробігу впливає орієнтація їхніх граней відносно пучка іонів і наявність ефекту каналування - рух іонів по каналах, утворених атомними площинами./p> Розподіл концентрації іонів в мішені:
- 1 - для канализируваних іонів;
- 2 - для ідеально канализируваних іонів;
Таким чином ефект канализируваних іонів дасть можливість одержувати більш глибокі леговані шари. Глибина імплантованого шару: 0.1 - 0.4 мкм.
Побічний ефект: при впровадженні в кристалічну підложку іони наражаються на електронні і ядерні зіткнення. Ядерні зіткнення призводять до зміщення атомів підложки, звідси - радіаційні дефекти. Виникають області з порушеною кристалічною решіткою, аж до переходу монокристалу в аморфний стан. Такі дефекти усувають шляхом обпікання при t=400 - 700 C (на протязі десятків хвилин). При цьому впроваджені і зміщені атоми набувають рухомість, достатню для переходу в вакантні вузли і впорядкування порушеної структури.
Переваги іонної імплантації у порівнянні з дифузією:
- 1. Більша гнучкість в управлінні концентрацією домішки.
- 2. Низька температура процесу імплантації (аж до 25 С).
- 3. Мала бокова дисперсія домішок.
- 4. Висока швидкість процесу (хвилини).
Недоліки:
- 1. Мала глибина залігання p-n-переходів.
- 2. Складність і висока вартість обладнання.
- 3. Високі вимоги до якості поверхні.
- 4. Необхідна термічна обробка пластин.
Іонна технологія використовується в МОП - схемах, тобто розроблена вже після розробки технології біполярних елементів. Але якщо все ж застосовується для біполярних елементів, то в процесах формування емітерів і баз в тонких епітаксіальних шарах.
Способи переносу зображень:
- - контактний спосіб - забезпечує можливість отримання елементів розмірами 2 мкм на полях 100х100.. 200х200 мм. Проблеми забезпечення щільного контакту по всій площі (практично неможливо це забезпечити, в результаті - оптичні викривлення і зміщення рисунку елементів).
- - проекційний спосіб - фотошаблон і пластина розміщені на значній відстані.
Може бути :
- - одночасна передача всього зображення;
- - по елементне (шагове) експонування.
Можна зі зменшенням (збільшенням) розмірів елементів. Особлива вимога до площинності підложки (тяжко забезпечити).
Тяжко створити об'єктив.
Розміри елементів - до 1 мкм на полях 100х100 мм. Оптимальний варіант - відстань між підложкою і фотошаблоном - 10.. 20 мкм. Зводяться до мінімуму дифракція і малі нелінійні викривлення в щілині. Проблема - складне обладнання.
16. Технологія виробництва друкованих плат
Вступ
ЕОМ будується з використанням ІМС та ін. електронних елементів. Найкращий варіант їхнього використання - це об'єднання всіх функціональних приладів в одне ціле. Але це рішення в нинішній час ані технічно неможливо виконати, ані економічно невиправдане. Тому пристрій потрібно розбивати на невеликі конструктивні одиниці. Основною конструктивною одиницею ЕОМ є вузол, зібраний на базі плати.
ІСТОРІЯ: спочатку на плати встановлювались елементи і з'єднувалися між собою окремими провідниками - провідний, навісний, об`ємний монтаж.
З 1952 р. В промисловості знаходять застосування друковані плати (ДП), які згодом зайняли домінуюче положення при виробництві електронних приладів.
1906 р. - Едісон описав спосіб виготовлення провідників на ізоляторі за допомогою металевого провідника.
1927 р. - К. Тевежинкен - полоси латунної фольги (провідники) наклепувалися на ізоляційну основу разом з елементами.
30-і роки - Германія - за допомогою трафаретної печаті на керамічні підложки наносили пасти металевого порошку (на основі срібла), що після сушки в процесі обпікання затверджувалися і спікалися. Звідси пішов термін "друковані плати".
1925 р. - США, Ф. Т. Гармон - описана техніка травлення, дороблена П. Айспером в 40-х роках.
16.2 Основні поняття.
ДРУКОВАНА ПЛАТА - це сполучення ізоляційної основи і металевих шарів, що служить для електромонтажу елементів і вузлів, а також для їхнього механічного закріплення. Друкована плата з встановленими на ній елементами називається печатним вузлом. Система металевих сполучень у вигляді ділянок металевого покриття (друкованих провідників) називається печатним монтажем.
ПРОВІДНИЙ РИСУНОК - рисунок ДП, утворений провідниковим матеріалом.
ПРОВІДНИЙ ШАР - провідний рисунок, що лежить в одній плоскості.
МІЖШАРОВЕ З'ЄДНАННЯ - дільниця провідникового матеріалу,що входить до рисунка ДП, призначена для електричного з'єднання провідних рисунків на різних шарах ДП.
Деякі переваги ПЕЧАТНОГО МОНТАЖУ у порівнянні з об'ємним:
1.Значне підвищення щільності монтажних з'єднань.
2. Стабільна повторюваність параметрів виробів.
3. Можливість підвищення електричних навантажень в колах.
4. Підвищення надійності та якості апаратури.
5. Можливість мікромініатюризації апаратури.
6. Висока продуктивність та низька собівартість монтажу.
7. Можливість комплексної автоматизації виробництва електронної апаратури.
Дата добавления: 2015-07-22; просмотров: 1281;
