Розрахунок двосхилих клеєних, гнутоклеєних і гнутоклеєних балок з прямолінійними скатами постійної висоти поперечного перерізу
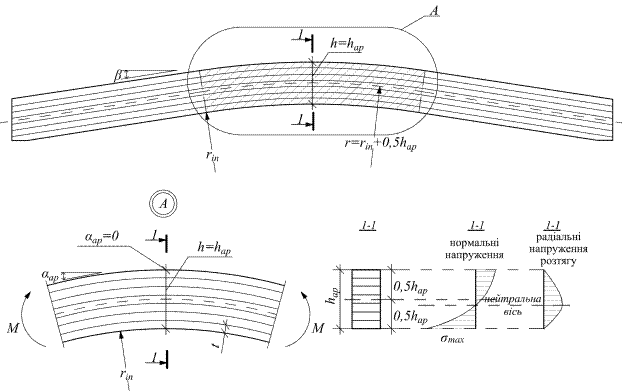
8.2.1 Ці типи балок мають прямокутний поперечний переріз і наведені на рис. 8.2. Розрахункові перевірки для цих балок такі ж, як і для односхилих балок, які були наведені в розділі 8.1. При перевірці граничних станів несучої здатності слід перевіряти максимальне напруження сколювання і максимальне нормальне напруження від згину. При перевірці граничних станів експлуатаційної здатності має бути визначений прогин. Для балок таких обрисів, на додаток до розрахункових перевірок в зоні скатів, необхідно перевіряти напружений стан в зоні гребеня з урахуванням:
- залишкових напружень, що виникли при виготовленні балок;
- розподілу напружень і об'ємних ефектів;
- спільної дії напружень зсуву і радіальних напружень розтягу поперек волокон, викликаних згином.
8.2.2 Напружена область обсягу в зоні гребеня обумовлена дією радіальних напружень (рис. 8.2) та в ДСТУ-Н Б EN 1995-1-1 вона називається гребеневою зоною. Ця зона має бути обмежена величиною 2/3Vb, де Vb – загальний об’єм балки.
8.2.3 При дії розрахункового моменту Map,d в гребеню двосхилих і гнуто-клеєних з прямими скатами балках, максимальне напруження від згину σm,d (рис. 8.2) визначається наступним чином:
, (8.9)
де b и hap – ширина і висота поперечного перерізу балки в гребені (рис. 8.2)
kl – коефіцієнт, який визначається з наступних виразів:
, (8.10)
, (8.11)
, (8.12)
, (8.13)
, (8.14)
, (8.15)
тут rin – внутрішній радіус балки (рис. 8.2, б і в)
8.2.4 При дії розрахункового моменту Map,d в гребені двосхилих і гнуто-клеєних з прямими скатами балках максимальне радіальне розтягувальне напруження, що діє поперек волокон деревини σt,90,d (рис. 8.3), визначається таким чином:
, (8.16)
де b и hap – ширина і висота поперечного перерізу в гребені (рис. 8.3); kp – коефіцієнт, який для двосхилих балок приймається 0,2 tan(αap), а для гнуто-клеєних балок з прямими скатами визначається наступним чином:
, (8.17)
, (8.18)
, (8.19)
, (8.20)
тут r – внутрішній радіус балки, який визначається з виразу (8.15).
а)
|
б)
|
в)
|
а) - двосхила балка, б) - гнуто-клеєна балка; в) - гнуто-клеєна з прямолінійними скатами
Рисунок 8.2 - Гребеневі зони в двосхилих, гнуто-клеєних і гнуто-клеєних з прямолінійними скатами балках

Рисунок 8.3 - Розподіл нормальних і радіальних напружень у перерізі 1-1, розташованому в гребені двосхилої балки
8.2.5 При дії розрахункового моменту Map,d в гребені гнуто-клеєних балок, максимальне напруження від згину σm,d (рис. 8.4) визначається наступним чином:
, (8.21)
де
, (8.22)
тут r = rin + 0,5hap, як задано у виразі (8.15).

Рисунок 8.4 - Розподіл нормальних і радіальних напружень в перерізі 1-1 розташованому в гребені гнуто-клеєних балок
8.2.6 При дії розрахункового моменту Map,d в гребені гнуто-клеєної балки, максимальне радіальне розтягувальне напруження, що діє поперек волокон деревини σt,90,d (рис. 8.4), визначається таким чином:
, (8.23)
де kcurve,t = 0,25(hap/r), а r = rin + 0,5hap.
8.2.7 Розрахункове значення міцності клеєної деревини гнуто-клеєних елементів (у гребеневих зонах балок) при їх згині визначається з виразу
, (8.24)
де
; (8.25)
kr – коефіцієнт, що враховує зниження міцності клеєної деревини в гнуто-клеєних елементах через внутрішні напруження, викликані згином шарів при їх виготовленні. Даний коефіцієнт залежить від величини rin/t і може приймати наступні значення:
- при rin/t ≥ 240 – kr =1;
- при rin/t < 240 – kr = 0,76 + 0,001(rin/t);
тут rin – внутрішній радіус криволінійної ділянки балки;
t – товщина шару (дошки).
8.2.8 Розрахункове значення міцності fr,t,90,d клеєної деревини в гребеневих зонах балок при розтягу поперек волокон, визначається з виразу
, (8.26)
де ft,90,d – визначено у п. 8.1.4;
kdis – коефіцієнт розподілу напруження в гребеневій зоні, який дорівнює:
- 1,4 – для двосхилих і гнуто-клеєних балок,
- 1,7 - для гнуто-клеєних балок з прямолінійними схилами;
kvol – об’ємний коефіцієнт, який для суцільних елементів дорівнює 1, а для клеєних елементів та LVL дорівнює:
,
тут V0 – базовий об’єм дорівнює 0,01м3; V – об'єм в гребеневій зоні з максимальним значенням 2Vbeam/3, в якому виникають напруження розтягу поперек волокон (в м3). Vbeam – об’єм балки.
Об’єм V гребеневої зони, в якій виникають напруження розтягу поперек волокон деревини, можна визначити з таблиці 8.2.
8.2.9 При перевірці міцності балок за нормальними напруженням σm,d, повинна виконуватися наступна умова
, (8.27)
де σm,d – розрахункове напруження в гребеневій зоні при згині, яке визначається згідно з п. 8.2.3 для двосхилих балок і гнуто-клеєних балок і п.8.2.5 - для гнуто-клеєних балок з прямолінійними скатами; fm,d – розрахункове значення міцності клеєної шаруватої деревини при згині в гребеневій зоні балки, що визначається згідно п. 8.2.7 цих норм.
8.2.10 При перевірці міцності балок за нормальними напруженнями розтягу поперек волокон деревини σt,90,d, що діють в гребеневій зоні, повинна виконуватись умова
, (8.28)
де σt,90,d – розрахункове напруження розтягу в гребеневій зоні, визначається для двосхилих балок і гнуто-клеєних балок з прямолінійними скатами згідно з п. 8.2.4, а для гнуто-клеєних балок - п. 8.2.6;
– розрахункове значення міцності клеєної деревини в гребеневих зонах балок при розтягу поперек волокон, що визначається згідно п. 8.13.6 цих норм.
Таблиця 8.2 - Об’єм гребеневої зони, в якому виникає напруження розтягу
| Тип балки | Об'єм, в якому виникають напруження розтягу *, V | Максимально допустиме значення величини об’єму, в якому виникають напруження розтягу |
| Двосхила балка |
|
|
| Гнуто- клеєна балка |
|
|
| Гнуто- клеєна балка з прямолінійними скатами |
|
|
| * Кути β і α в градусах. |
8.2.11 Розрахунок двосхилих клеєних балок, гнуто-клеєних і гнуто-клеєних балок з прямолінійними схилами при спільній дії зсуву і розтягу поперек волокон.
8.2.12 Якщо двосхилі балки, гнуто-клеєні та гнуто-клеєні балки з прямолінійними скатами шириною b і висотою hap в гребеневій зоні схильні до спільної дії сколюючих напружень та напружень розтягу поперек волокон, то згідно ДСТУ-Н Б EN 1995-1-1, повинна виконуватися така умова:
, (8.29)
де τd – розрахункове сколююче напруження в перерізі гребеневої зони. Якщо розрахункова поперечна сила в гребені дорівнює Qd, то розрахункове сколююче напруження буде дорівнює τd = 3Qd/2bhap; fv,d – розрахунковий опір міцності деревини при сколюванні, який для клеєної деревини балки буде дорівнювати kmodksys fv,g,k/γM; σt,90,d – розрахункове напруження розтягу в гребеневій зоні балки, для відповідних типів балок визначається згідно до п. 8.2.4, п. 8.2.6 та п. 8.2.10 цих норм;
– розрахунковий опір клеєної деревини в гребеневій зоні балки при розтягу поперек волокон, що визначається згідно п. 3.4 для клеєних елементів.
Дата добавления: 2015-07-22; просмотров: 1080;
