Будова та принцип роботи сковорід
Сковороди призначені для смаження на нагрітій поверхні м'яса, риби, птиці та інших продуктів, а також для пасерування, тушкування і припускання. До сковорід відносяться і апарати з двостороннім нагріванням, які використовують для випікання виробів з тіста (вафель, печива) або смаження скибочок ковбаси, хліба, сосисок тощо (вафельниці, контактні грилі).
На одній з опор сковороди (частіше на лівій) розміщують органи керування, а на іншій – механізм для перекидання чаші. Сковороди періодичної дії призначені для виробництва широкого асортименту виробів. Вони можуть працювати за допомогою електричного та газового обігрівання. Робоча поверхня чаші може мати пряме або непряме обігрівання (за допомогою проміжного теплоносія, який знаходиться в сорочці). Можливе централізоване постачання високотемпературного теплоносія до сковороди.
Сковороди відносяться до апаратів з плоскою жарильною поверхнею, і як правило, мають одну робочу камеру, але можуть бути і двокамерні (на спільній станині встановлюють дві чаші) або двосекційні (жарильна поверхня поділена перегородкою).
| Рис. 8.1 Принципові схеми сковорід періодичної дії а, б – електричні з прямим і непрямим обігріванням чаші; в, г – газові з прямим і непрямим обігріванням чаші; д – газова з прямим ІЧ обігріванням чаші; е – електрична з мішалкою для пасерування; 1 – чаша; 2 – кришка; 3 – штурвал поворотного черв'ячного редуктора; 4 - перемикач потужності; 5 – електронагрівачі; 6 – газовий пальник; 7 – керамічні ІЧ-випромінювачі; 8 – канал для відведення диму; 9 – заслінка; 10 – лопатева мішалка; 11 – завантажувальний отвір; 12 – проміжний теплоносій (мінеральне масло) |
Сковороди періодичної дії.Складаються з робочої камери (чаші), яка має вигляд циліндра або короба, теплової ізоляції, облицювання, сорочки з проміжним теплоносієм (якщо це передбачено конструкцією), теплогенеруючого пристрою, станини (рис. 8.1).
В сковородах зазвичай здійснюється ручне ступеневе регулювання режимів. Температура робочого середовища повинна забезпечувати швидке утворення скоринки на поверхні, що зменшить втрати маси. Форма жарильної поверхні кругла або прямокутна з площею 0,18…0,5 м2, глибина чаші 0,15 м, а місткість 30…90 дм3. На фронтальній частині чаші передбачено носик для зливання рідини та жиру.
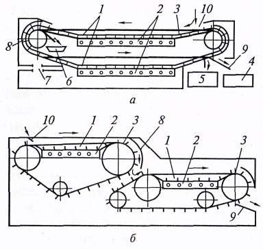
| Рис. 8.2 Принципові схеми сковорід безперервної дії а – апарат з одним транспортером; б – апарат з двома транспортерами; 1 – жарильні поверхні; 2 – електронагрівачі; 3 – пластинчаті транспортери; 4 – бункер для готової продукції; 5, 6 – бункери для збору крихти; 7 – механізм підйому та нахилу чаші; 8 – пристрій для перевертання виробів; 9 – лоток; 10 – зона завантаження |
Сковороди безперервної дії.В цих апаратах вироби переміщуються по жарильній поверхні, заповненій невеликою кількістю жиру, за допомогою транспортуючих пристроїв (рис. 8.2). Конструкція транспортерів повинна забезпечувати своєчасне перевертання виробів.
Робочі камери таких апаратів відкриті. Форма жарильної поверхні залежить від конструкції транспортуючого пристрою. Практично всі апарати мають одну робочу камеру, де може бути декілька зон. Робочі поверхні зон можуть знаходитись на одному рівні (рис. 8.2, а) або на різних рівнях (рис. 8.2, б).
Дата добавления: 2015-08-26; просмотров: 1409;
