Класифікація способів теплової обробки харчових продуктів
Під час виробництва продуктів харчування в середині них відбуваються явища різної фізичної природи, пов'язані з перенесенням теплоти. Теплове оброблення продуктів призводить до змін їх структурно-механічних, фізико-хімічних і органолептичних властивостей, які визначають ступінь кулінарної готовності.
Теплота переноситься за рахунок теплопровідності. При цьому відбувається рух води, яка міститься в продуктах. Даний процес може мати механічний, тепловий (передача теплоти) і дифузійний (передача маси) характер. Як правило, застосовуються змішані процеси: дифузійно-теплові, механіко-теплові, електродифузійні.
До теплових належать процеси передачі теплоти через стінки (поверхні нагріву) апаратів, розігріву апаратів (виходу їх на робочий режим), втрат теплоти у навколишнє середовище, розморожування і розігрівання кулінарних виробів. Найбільш широко у ресторанному господарстві використовують дифузійно-теплові процеси, які є основними для приготування страв: смаження, випікання, варіння, пасерування тощо.
Основними прийомами теплового оброблення харчових продуктів є варіння і смаження. Вони застосовуються як окремі операції або в різних комбінаціях. Для реалізації цих прийомів в тепловому обладнанні використовують різні способи нагрівання продуктів: поверхневий, об'ємний, комбінований. Під час усіх способів нагрівання зовнішній теплообмін супроводжується перенесенням маси, в результаті чого частина вологи з продуктів переходить в довкілля, а при тепловому обробленні в рідкому середовищі втрачаються також і сухі речовини сировини.
Під час смаження волога з поверхневих шарів продукту частково випаровується, а частково переміщується всередину до менш нагрітих ділянок, що призводить до утворення сухої шкоринки, в якій відбувається термічне розкладання органічних речовин (при температурі більше 100 0 С). Чим швидше нагрівається поверхня, тим інтенсивніше відбувається перенесення теплоти, і тим швидше утворюється шкоринка.
Поверхневенагрівання продукту здійснюється за допомогою теплопровідності і конвекції під час підведення теплоти до центра продукту через його зовнішню поверхню. Нагрівання центральної частини продукту та доведення до кулінарної готовності протікає в основному за рахунок теплопровідності.
Інтенсивність теплообміну залежить від геометричної форми, розмірів і фізичних параметрів продуктів і середовища. Тривалість процесу теплового оброблення поверхневим способом зумовлено низькою теплопровідністю більшості харчових продуктів.
Об'ємний спосіб підведення теплоти до продукту відбувається в апаратах з інфрачервоним (ІЧ), надвисокочастотним (НВЧ), електроконтактним (ЕК) та індукційним нагріванням.
Інфрачервоне випромінюванняперетворюється в об'ємі продукту в теплоту за відсутності безпосереднього контакту джерела ІЧ-випромінювання з продуктом. Носіями ІЧ-енергії є електромагнітні коливання змінного магнітного поля в продукті.
ІЧ-енергія в продукті утворюється під час переходу електронів на інші енергетичні рівні, а також в результаті коливального та обертального руху атомів і молекул. З підвищенням температури інтенсивність ІЧ-випромінювання посилюється. Джерелами ІЧ-променів можуть бути гази, пара, рідкі та тверді тіла. Середовище, яке оточує продукт є прозорим для ІЧ-променів, тому майже не нагрівається. Вільно зв'язана волога, яка в значній кількості присутня в пористій структурі продуктів, інтенсивно поглинає інфрачервоні промені, що дає їм змогу проникати в продукти на значну глибину.
ІЧ-нагрівання використовують переважно в процесах смаження і випікання кулінарних виробів. При його використанні для термічної обробки м'ясних кулінарних виробів тривалість процесу порівняно з традиційним способом скорочується на 40 – 60 %, питома витрата електроенергії зменшується на 20 – 60 %, а вихід готової продукції збільшується на 10 – 16 %.
НВЧ-нагріванняхарчових продуктів здійснюється за рахунок перетворення енергії змінного електромагнітного поля надвисокої частоти в теплову енергію. Прогрівання продукту при цьому не поверхневе, а відбувається по всьому об'єму продукту. НВЧ-поле здатне проникати в продукт на значну глибину і прогівати його незалежно від теплопровідності, тобто використовується для продуктів з різною вологістю. Високий ККД роблять даний спосіб нагріву одним із найефективніших для доведення продуктів до кулінарної готовності. Об'ємний характер нагрівання в полі НВЧ на порядок прискорює теплову обробку харчових продуктів порівняно з традиційними методами їх приготування. Це є принциповою перевагою НВЧ-нагрівання. Процес нагрівання в полі НВЧ характеризується безінерційністю.
НВЧ-нагрівання називають діелектричним внаслідок низької електропровідності більшості продуктів. Інша назва – мікрохвильове або об'ємне – вказує на коротку довжину хвилі електромагнітного поля і суть теплового оброблення продукту по всьому об'єму. Нагрівання продуктів здійснюється в спеціальних НВЧ шафах і, як правило, без додавання води і жиру. Оскільки через втрати тепла в довкілля температура поверхневих шарів менша, ніж температура центральних, то на поверхні продукту відсутні специфічна кірочка і забарвлення. У полі НВЧ, крім теплової обробки харчових продуктів, здійснюється також розморожування готових кулінарних виробів та їх прогрів до заданої температури. Обидва процеси протікають без істотних втрат маси, зміни зовнішньої форми і за достатньо короткий проміжок часу (2,5 – 3,5 хв).
Електроконтактне нагрівання забезпечує швидке підвищення температури продукту по всьому об'єму до потрібної величини за 15 – 60 с за рахунок пропускання через нього електричного струму. Даний спосіб застосовують в харчовій промисловості для прогрівання тістових заготовок під час випікання хліба і в процесі бланшування м'ясопродуктів.
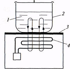
| Рис. 7.1 Схема індукційної плити 1 – продукт; 2 – посуд; 3 – настил; 4 - індуктор |
Індукційне нагріваннявикористовують в сучасних індукційних побутових плитах і в закладах ресторанного господарства. Індукційне нагрівання струмопровідних матеріалів, з яких виготовлено більшість кухонного посуду для плит, виникає під час їх розміщення у зовнішнє змінне магнітне поле, яке створюється індуктором. Індуктор встановлюється під настилом плити і створює вихровий струм, який замикається в об'ємі посуду (рис. 7.1). Продукт оброблюється в спеціальному металевому посуді, який миттєво нагрівається внаслідок направленої дії електромагнітного поля. При цьому втрати тепла в навколишнє середовище мінімальні, що скорочує витрати електроенергії на приготування страви на 40 % у порівнянні зі звичайною електричною плитою. В індукційних теплових апаратах настил плити виготовляється з керамічних матеріалів і під час теплової обробки залишається холодним.
Комбіновані способи нагрівання – це послідовний або паралельний нагрів продукції декількома відомими способами з метою скорочення тривалості теплового оброблення, підвищення якості кінцевого продукту та ефективності технологічного процесу. Наприклад, комбінована теплова обробка в НВЧ-полі та ІЧ променями дає змогу реалізувати переваги обох способів і отримати вироби з хрусткою скоринкою.
Дата добавления: 2015-08-26; просмотров: 2264;
