Машини для замішування тіста
Для виробництва різних видів тіста, які відрізняються сортом борошна, складом компонентів, консистенцією, використовуються машини для замішування тіста. Будова та принцип роботи машини повинні забезпечити розчинення сухих компонентів, рівномірний розподіл інгредієнтів у загальному об'ємі, аерацію тіста та його пластифікацію.
Робочим органом машини є місильний інструмент, виконаний у вигляді важеля спеціальної форми, який здійснює складний об'ємний рух всередині робочої камери (діжі), або у вигляді пари спіралеподібних лопатей, які обертаються назустріч одна одній всередині нерухомої діжі, а для інтенсивного замішування тіста – у вигляді лопаті, що здійснює планетарний рух всередині нерухомої діжі.
| Рис. 6.5 Збивальна машина МВ-60 а – принципова і кінематична схема; б – кінематика підйому бачка; 1 - плита; 2 – станина; 3 – електродвигун; 4 – шестерня; 5 – шестерня-сателіт; 6 – колесо; 7 – водило; 8 – верхній вал; 9 – шестерні; 10 – коробка швидкостей; 11 – нижній вал; 12, 13 – конічні шестерня та колесо; 14 – головний приводний вал; 15 – шестерня-сателіт; 16 – водило;17 – робочий вал; 18 – збивач; 19 – бачок; 20 – кронштейн; 21 – підкатний візок; 22 – блок коліс; 23 - колесо; 24 – маховик; 25 – черв'ячний редуктор; 26 – рейкова пара |
Оптимальною для замішування тіста є машина, яка має таку будову: двошвидкісний привід; вертикальний місильний орган у вигляді двозахідної спіралі, що здійснює планетарний рух; підкатні нерухомі діжі, які в аксіальному перетині мають прямокутну форму; захисний ковпак, що закриває у робочому положенні порожнину діжі. Переваги такої конструкції в тому, що є можливість скорочення тривалості замішування компонентів, утворення тіста, а також скорочення тривалості процесу в інтенсифікованому режимі; зниження розпірних зусиль між місильним органом і стінками діжі; безпека експлуатації, відсутність розпорошення борошна, зменшення вібрацій.
У закладах ресторанного господарства, а також в спеціалізованих цехах з виробництва хлібобулочних виробів для замішування тіста широко використовуються тістомісильні машини періодичної дії: МБТМ-140, ТММ-1М, МТМ-60М, МТС-140, А2-ХТМ, Л4-ХТВ, МТМ-110, МТ-60-01 і МТМ-15 для крутого тіста.
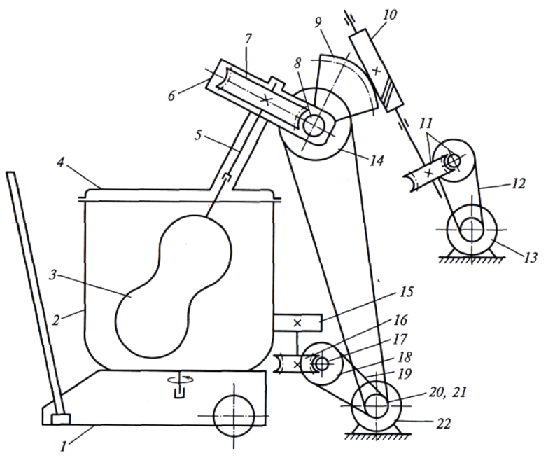
| Рис. 6.6 Тістомісильна машина МБТМ-140 1 – візок; 2 – діжа; 3 – робочий орган; 4 – кришка; 5 – робочий вал; 6 - корпус траверси; 7, 16 – черв'ячне колесо; 8, 10, 17 – черв'як; 9 – черв'ячний сектор; 11 – черв'ячна передача; 12 – клинопасова передача; 13 - реверсивний електродвигун; 14, 18, 20, 21 – шківи; 15 – фрикційне колесо; 19 – клиновий пас; 22 – електродвигун |
Машина МБТМ-140(рис. 6.6) призначена для замішування будь-якого виду тіста. Складається з корпуса, механізму передачі руху робочому органу та діжі, механізму підіймання та опускання траверси. Діжа 2 і робочий орган 3 здійснюють обертальний рух. На валу електродвигуна 22 закріплені два шківа 20 і 21, один з яких передає обертальний рух за допомогою клинового паса 19 шківу 18, на валу якого закріплений черв'як 17, і черв'ячному колесу 16. На валу черв'ячного колеса
16 закріплене фрикційне колесо 15 з гумовим покриттям, за допомогою якого за рахунок сил тертя обертається діжа.
Вісь діжі встановлена в підшипнику корпуса візка 1. Другий шків 21, розміщений на валу двигуна, передає рух шківу 14, на вал якого насаджено черв'як 8, який входить в зчеплення з черв'ячним колесом 7. Черв'ячне колесо 7 передає обертальний рух робочому валу 5 і робочому органу 3. Робочий орган має складну криволінійну конструкцію, яка під час руху охоплює увесь об'єм діжі. Робочий орган має похиле розташування.
Для підіймання та опускання траверси 6 передбачено реверсивний електродвигун 13. До складу траверси входять кришка 4 для закривання діжі під час замішування тіста. У корпусі траверси розміщено черв'ячна передача і робочий вал 5. До корпуса траверси прикріплено черв'ячний сектор 9, що входить в зачеплення з черв'яком 10, який через черв'ячну та клинопасову передачі 11 і 12 отримує рух від реверсивного електродвигуна 13.
Компоненти для замішування тіста закладаються в діжу до її встановлення на машині. Коефіцієнт завантаження діжі не повинен перевищувати 0,8.
Запитання для самоперевірки
1. Що таке перемішування, збивання, замішування?
2. Наведіть класифікацію місильно-перемішувального устаткування.
3. Яке обладнання застосовують для перемішування пластичних продуктів?
4. Як влаштовані тістомісильні машини, фаршмішалки, збивальні машини?
5. Які робочі органи використовують для тримання збитих мас?
6. Яким чином рухається робочий орган у збивальних машинах? Які переваги такого руху?
7. Як регулюється частота обертання робочих органів у збивальних машинах?
8. Яку будову повинна мати тістомісильна машина, щоб забезпечити оптимальні параметри замішування тіста?
9. Чи доцільно застосовувати тістомісильні машини безперервної дії у закладах ресторанного господарства? Чому?
10. Чим відрізняється конструкція механізму для перемішування фаршу МС25-200 від фаршмішалки МС—150?
Дата добавления: 2015-08-26; просмотров: 1920;
