Внешние силы (нагрузки)
Внешними силами называются силы взаимодействия между рассматриваемым элементом конструкции и связанными с ним телами.Внешние силы еще принято называть нагрузками.
Внешние силы (нагрузки), действующие на тело, по способу приложения разделяются на сосредоточенные, распределенные и объемные.
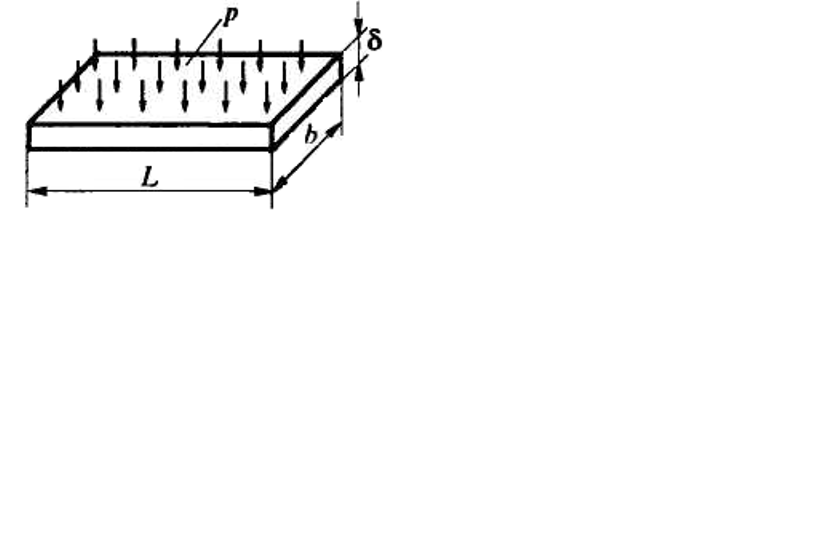
Сосредоточенными называются такие нагрузки, которые прикладываются к небольшой площадке тела (размерность Н). Нагрузки, приложенные ко всей или какой-либо части поверхности тела, относятся к распределенным (размерность Н/м2). Эти нагрузки бывают равномерно распределенные, распределенные по треугольнику – треугольные и др. (рис. 1.3).
| q |
Рис. 1.3 Рис. 1.4
К первым относится, например, давление пара в котле, а ко вторым – давление воды на плотину. Нагрузки, распределенные по всему объему тела, называются объемными (размерность Н/м3). Примером такой нагрузки является собственный вес тела, силы инерции, магнитные силы.Нагрузки, распределенные по линии (рис. 1.4), называются погонными распределенными нагрузками (размерность Н/м). По характеру действия нагрузки разделяются на статические и динамические.
Нагрузки, медленно возрастающие по времени от нуля до своего конечного значения, называются статическими (при расчетах силами инерции в этих случаях) здесь пренебрегают. Условие статического нагружения
tнараст>
,
где tнараст – время нарастания нагрузки;
Т =
– собственно период низшего тона колебаний конструкции;
w0– низшая частота.
Динамические нагрузки сопровождаются значительными ускорениями точек деформируемого тела. При этом возникают силы инерции, которыми пренебречь нельзя. Динамические нагрузки делят на мгновенно приложенные, собственно ударные и повторно-переменные.
Нагрузка считается мгновенно приложенной, или быстро приложенной, если она возрастает в течение короткого промежутка времени:
tнараст<
, или tнараст>
,
где
– скорость распространения упругой волны в материале.
Силами инерции вдоль оси Х пренебрегают, а в поперечном направлении (вдоль оси У) — их учитывают.
При собственно ударном нагружении tнараст<
.
Здесь силы инерции учитываются по всем направлениям координатных линий.
В практике динамические нагрузки встречаются либо в чистом виде, либо в комбинации со статическими. Например, действие колеса локомотива на рельс выражается статической нагрузкой от собственного веса, сил инерции и ударной нагрузкой при прохождении рельсовых стыков.
Дата добавления: 2015-08-21; просмотров: 1448;
