Плоскостной срез грунта

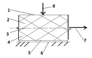
Рис 3.7 Схема прибора для плоскостного среза по горизонтальной плоскости
1 - верхний фильтр; 2 - верхнее подвижное кольцо; 3 - плоскость среза; 4 - нижнее неподвижное кольцо; 5 - нижний фильтр; ; 6 – стол; 7 - сила сдвигающая; 8 - нормальная сила

Рис 3.8 Диаграмма сдвига и диаграмма предельных сопротивлений сдвигу

S = f(τ), где τ – сдвигающее напряжение; S - деформация при сдвиге.
τ пред = f (σ), где σ – уплотняющее давление; τ пред - предельное сопротивление сдвигу.
Дата добавления: 2015-08-21; просмотров: 1101;
