Складских зданий
| Наименование склада | Параметры воздуха | Покрытие полов | |||
| Температура, °С | Влажность, % | ||||
| Материальный | 15–20 | 50–65 | Асфальтобетонное | ||
| Комплектующих изделий | 10–18 | До 60 | Асфальтобетонное | ||
| Подшипников | 10–30 | До 70 | Плиточное или асфальтобетонное | ||
| Запчастей | Не ниже +10 | До 65 | Бетонное, плиточное | ||
| Инструментов | Не ниже +5 | До 65 | Бетонное, плиточное | ||
| Строительных материалов | 10–30 | До 70 | Бетонное, асфальтобетонное | ||
| Резинотехнических изделий | 5–20 | 55–70 | Асфальтобетонное | ||
| Электротехнических изделий и электрооборудования | 5–25 | До 70 | Бетонное, плиточное | ||
| Аккумуляторных батарей | 8–15 | – | |||
| КИП и средств автоматики | 15–18 | 60–70 | Плиточное, асфальтобетонное | ||
| Проводов с хлопчатобумажной, шелковой и эмалевой изоляцией | 10–20 | 60–80 | Бетонное | ||
| Проводов с резиновой и полихлорвиниловой изоляцией | От 0 до +10 | До 70 | Бетонное | ||
| Синтетического каучука | От –5 до +20 | 50–65 | Бетонное | ||
| Абразивов и шлифовальных материалов | 5–25 | До 65 | Бетонное, плиточное | ||
| Мелкого литья и поковок | 10–18 | 60–70 | Асфальтобетонное | ||
| Продукции легкой промышленности | Не ниже + 18 | 60–70 | Асфальтобетонное | ||
| Кожи и кожевенных изделий | 8–10 | 50–60 | Асфальтобетонное | ||
| Обтирочных материалов и ваты | От 0 до + 10 | 50–60 | Асфальтобетонное | ||
| Асбестовых изделий | 5–20 | 50–60 | Бетонное | ||
| Бумаги | 12–15 | 50–60 | Асфальтобетонное | ||
| Сухих химикатов | 4–10 | 40–50 | Бетонное | ||
| Кислот | 4–10 | 40–65 | Клинкерное | ||
| Щелочей | 4–10 | 40–50 | Бетонное | ||
| Карбид кальция | Не выше + 10 | 40–50 | Бетонное | ||
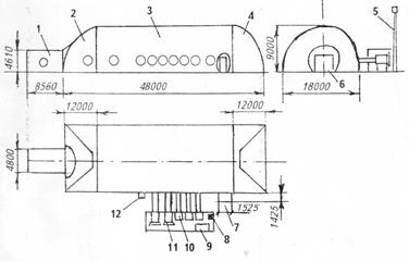
Новыми и перспективными типами конструкций складских зданий являются легкие металлические конструкции в виде пространственных форм и деревянных арочных и полуарочных клееных конструкций, а также надувные склады из резинотканевого материала (рис. 3.5).
Сооружение изготовляется из плотной прорезиненной ткани, между слоями которой накачивается воздух от вентиляторов. Сооружение монтируется на ленточном фундаменте. Площадь склада – 864 м2, установленная мощность приводов вентиляторов – 24 кВт, общая масса – 5 т, трудовые затраты на монтаж – 100 чел/дн., расход дизельного топлива – 4 кг/ч.

Рис.3.5. Надувной склад из прорезиненной ткани:
1 – транспортный шлюз; 2 – переходная часть; 3 – цилиндрическая часть;
4 –торцевая часть; 5 – мачта для анемометра; 6 – ворота; 7 – шлюз с дверью;
8 – пульт управления; 9 – дизель-генератор; 10 – вентиляторы;
11 –теплогенераторы; 12 – патрубок для рециркуляции
Одним из перспективных направлений развития складов в будущем может быть размещение их под землей. Это позволит экономить территории городов и промышленных предприятий. Так, примерно 15 % территории современных городов должны составлять подземные сооружения, в том числе складские объекты.
При этом в подземных помещениях могут храниться как штучные, так и жидкие и газообразные грузы.
При размещениях складов на промплощадке предприятий к ним должны быть предусмотрены подъезды для автомобильного и железнодорожного и других видов внутризаводского промышленного и внешнего магистрального транспорта.
Проектирование автомобильных и железнодорожных путей к складам и размещение складских зданий на промплощадке предприятия выполняется в соответствии со строительными нормами и правилами СНиП ΙΙ-46–86, СНиП ΙΙ-89–90. Как правило, склады должны блокироваться друг с другом в крупные корпуса, если это не противоречит технологическому процессу переработки грузов, санитарным и противопожарным требованиям, условиям хранения их. Служебно-бытовые помещения обычно размещаются в одном блоке с основным складским корпусом.
С точки зрения экономических показателей целесообразно строить крупные объединенные одноэтажные складские здания с пролетами 24–30 м, высотой 10–12 м и более, так как это позволяет сократить стоимость 1 м3 складского здания. По форме в плане выгодно строить складские здания, приближающиеся к квадрату, так как это позволяет уменьшить периметр здания, от которого зависит стоимость фундаментов, колонн и ограждающих его конструкций.
Кроме этого складские здания большой высоты и с широкими пролетами обеспечивают лучшие условия технологии хранения грузов, лучшее заполнение объема склада грузами, повышение производительности подъемно-транспортного оборудования и в целом достижение наиболее высоких технико-экономических показателей склада.
Соотношение стоимости элементов одноэтажных складских зданий из сборных железобетонных конструкций показано на рис. 3.6.

Рис.3.6. Соотношение стоимости отдельных элементов одноэтажного
складского здания: ЗР – земляные работы; Ф – фундаменты; К – каркас здания;
С – стены; ПК – покрытие и кровля; ПР – проемы (двери, окна); П – полы;
Пр.Р. – прочие работы
Выбор типа и конструкции зданий для цехов ремонтного предприятия осуществляется с учетом: назначения здания; характера и размеров объектов ремонта, объема производственной программы, характера технологического процесса и применяемого оборудования; типов, размеров и грузоподъемности средств и транспортных устройств;требований, предъявляемых в отношении освещения, отопления и вентиляции; условий удаления и отвода атмосферных осадков; учета возможности дальнейшего расширения здания; рода применяемого строительного материала; достижений научно-технического прогресса.
Производственные здания, как правило, строят по каркасной схеме. Каркас применяют полносборный железобетонный или металлический. В отдельных случаях может применяться неполный каркас с несущими кирпичными стенами.
Строительные объекты состоят из отдельных элементов – конструкций. К их числу относятся: фундамент, стены, перегородки, перекрытия, покрытия, колонны, окна, двери, ворота, полы, цоколь, отмостка.
В каркасных зданиях несущие функции выполняет каркас, состоящий из железобетонных или металлических колонн и балок, а ограждающие функции – стены из крупных железобетонных блоков и панелей.
В бескаркасных зданиях несущие наружные стены выполняют из кирпича или бетонных блоков. Несущие и ограждающие функции у них не разграничены. Если рассматривать расположение строительных элементов (рис.3.7) (колонны и стеновое заполнение), то можно отметить, что при каркасной схеме (рис. 3.7, а) стеновое заполнение монтируется на колонну и не выполняет несущих функций. При бескаркасной схеме (рис. 3.7, б) устраивается пилястра, на которой монтируется подкрановый путь и которая воспринимает нагрузки от покрытия.
а) б)

Рис.3.7. Схемы расположения строительных элементов зданий, построенных
по: а – каркасной; б – бескаркасной схемах
Унифицированные типовые секции (УТС) представляют собой блок, состоящий из нескольких одинаковых пролетов одной высоты.
Рекомендуются следующие типы секций зданий: размеры в плане 144
72 м =10000 м2 и 72
72 м = 5000 м2 с сеткой колонн 24
12 и 18
12 м.
Высота пролетов бескрановых и с подвесным транспортом грузоподъемностью до 5 т включительно – 6 и 7,2 м.
Здания ремонтных предприятий образуются пролетами. Пролеты по отношению друг к другу, как правило, размещают параллельно.
Пролет характеризуется следующими размерами: ширина и длина, шаг и сетка колонн, высота, объемно-планировочный элемент, планировочный элемент.
Шириной пролета называют расстояние между продольными координационными осями двух ближних рядов колонн. Наиболее распространенными являются пролеты шириной 18 и 24 м.
Длина пролета – это расстояние между осями крайних колонн одного ряда в продольном направлении пролета.
Шагом колонн называют расстояние между осями двух смежных колонн одного ряда в направлении продольной оси пролета. Обозначают его t . Шаг колонны должен быть кратным 6 м.
Ширину пролета L и шаг колонн t называют сеткой колонн.
Высота пролета Н – это расстояние от пола до низа несущих конструкций покрытия или перекрытия.
В зданиях с подвесными кран-балками:
для пролетов L=12 м принимают Н =3,6; 4,2; 5,4 и 6,0 м;
для пролетовL=18 м – Н = 4,8; 5,4; 6,0; 7,2; 8,4; 9,6;10,8 м;
для пролетов L=24 м – Н = 4,8; 5,4; 6,0; 7,2; 8,4; 9,6;10,8 м.
Объемно-планировочным элементом называют часть объема здания с размерами, равными высоте пролета, ширине пролета и шагу колонн, а планировочным элементом – горизонтальную проекцию объемно-планировочного элемента.
Сетка колонн в закрытых складских зданиях выбирается в зависимости от технологического процесса переработки грузов и применяемого оборудования для хранения и переработки их на складе. Складскиездания проектируются одноэтажными с пролетами 18, 24 и 30 м и шагом колонн по длине здания6 и 12 м, по форме в плане приближающимисяк квадрату (табл. 3.6).
Т а б л и ц а 3.6. Характеристика одноэтажных складских зданий
| Высота здания, м | Пролет, м | Шаг колонн, м | Количество пролетов | |
| по крайним рядам | по средним рядам | |||
| 10,8 | 6 и 12 | 1+8 | ||
| 1+6 | ||||
| 1 и 2 | ||||
| 12,0 | 1+8 | |||
| 1+6 | ||||
| 1 и 2 | ||||
| 13,2 | 1 и 2 | |||
| 14,4 | 1 и 2 | |||
При выборе параметров обычно руководствуются типовыми габаритными схемами иунифицированными секциями.
Новая технология складирования и переработки грузов приводит к необходимости разработки новых конструкцийзданий и архитектурных форм (арочные здания, с опиранием покрытия и кровли на металлоконструкции стеллажей, в виде высотных башен, встроенных в многоэтажные производственные корпуса и т. д.). Наименьшая длина однопролетных зданий – 36 м, многопролетных – 60 м.
Высота склада выбирается из типового ряда высот, кратных 0,6 м.
Крупные склады тарно-штучных грузов строятся одноэтажными высотой до 25 м и более. Каркас здания состоит из колонн и ферм или балок покрытия.
Фундаменты под колонны проектируют в виде ступенчатых железобетонных конструкций, а под стены предусматривают ленточные фундаменты из железобетонных балок. При проектировании фундаментов применяют типовые серии: 1.412.1;1.412.2; 1.412,3. Размеры подошв фундаментов под колонны выбирают в зависимости от типа их пролета, нормативной нагрузки, района строительства склада и некоторых других факторов.
Конструкции полов склада выбирают в зависимости от нагрузок, типа движущихся транспортных средств и других факторов в соответствии со СНиП П-В.8 – 71. Чаще всего на складах применяют бетонное, цементно-песчаное и асфальтобетонное покрытия полов.
В проекте склада должно быть предусмотрено оборудование для подметания полов и уборки складских помещений (табл.3.7).
Площадь склада между противопожарными стенами с технологическим процессом категории В при степени огнестойкости здания Ι и ΙΙ не ограничивается, при степени огнестойкости ΙΙΙ – должна быть не более 5200 м2.
Вспомогательные участки склада (ремонтная и тарная мастерские, зарядная станция для электропогрузчиков) проектируются на основании соответствующих норм технологического проектирования.
Т а б л и ц а 3.7. Характеристика уборочного оборудования
| Марка машины | Назначение | Производительность | Стоимость, руб. |
| «Пионер» | Мытье полов | 800 м2 в смену | |
| КУ-405 | Подметально-пылесосная | 2700 м2 в смену | |
| ПМ-1 | Полотерная | – | |
| КУ-403 А | Подметально-пылесосная | – | |
| КУ-402 | Подметальная вакуумно-щеточная | – | |
| КУ-404 | Подметальная аккумуляторная | – |
Дата добавления: 2015-08-21; просмотров: 1369;
