Суда для перевозки крупногабаритных грузов
Существует два основных типа судов для перевозки крупногабаритных и тяжеловесных грузов (СКГТ). Первый можно отнести к типу судов с горизонтальной грузообработкой. Иногда их называют суда типа Ro-Flow (рис. 5.28). Суда такого типа имеют надстройку в носу, а большая часть корпуса в плане напоминает конструкцию плавучего дока (двойное дно и две башни) с кормовыми воротами. Груз заводят через кормовые ворота на понтоне, предварительно притопив судно. Возможна погрузка с помощью кранов, перемещающихся вдоль башен (рис. 5.29), или накатом на специальных тележках. Такие суда часто перевозят и лихтеры, поэтому их называют лихтеровозами.
СКГТ второго типа имеют надстройку в носу и располагающуюся за ней площадку (рис. 5.30). Они часто используются для транспортировки буровых платформ, поэтому иногда называются платформовозами. В притопленном положении перед наводкой платформы из воды виднеется только носовая часть с надстройкой. После размещения платформы над грузовой площадкой осушаются балластные цистерны судна и оно всплывает, поднимая груз над водой.

Рис. 5.28. СКГТ типа Ro-Flow

Рис. 5.29. Судно – тяжеловоз с башнями /1/
Рис. 5.30. Судно для перевозки крупногабаритных грузов
«Mighty Servant»
5.6. Другие универсальные и специализированные
сухогрузы
До 60-х годов XX в. архитектурно-конструктивный тип сухогрузов был стабильным. Это были универсальные суда, которые составляли основу транспортного флота. Обычно это суда с собственными грузовыми устройствами, двойным дном и несколькими палубами. Они могут иметь отдельные трюмы для навалочных и жидких грузов. До середины XX в.
машинное отделение и многоярусная надстройка обычно располагались в средней части, что обеспечивало хорошую удифферентовку судна при различной загрузке. Позже машинное отделение стали чаще сдвигать в корму (в основном с целью повышения грузовместимости – рис. 5.31).
|
Рис. 5.31. Универсальный сухогруз
В настоящее время эти суда на многих линиях с большими грузопотоками вытеснены различными специализированными судами, более приспособленными для скоростной обработки в портах.
Система набора корпуса сухогрузов обычно смешанная: днище и верхняя палуба имеют продольную систему набора, а борта и нижние
палубы – поперечную (рис. 5.32). Суда длиной менее 90 - 100 м чаще имеют поперечную систему набора (рис. 5.33). Борт обычно одинарный, с однородными шпангоутами. Комингс-карлингсы палуб часто поддерживаются пиллерсами или, при широких люках, мощными рамными (консольными) полубимсами (рис. 5.34). На рис. 5.35 и 5.36 приведены примеры конструкций речных сухогрузных судов.
К специализированным сухогрузам относятся самые разнообразные суда (рис. 5.37), но кроме уже рассмотренных (контейнеровозы, ролкеры, лихтеровозы, лесовозы, пакетовозы и пр.) отметим рефрижераторные суда. Они предназначены для перевозки скоропортящихся грузов (рыба, мясо, фрукты и др.) при пониженных (до -25 °С) температурах и часто высокой (до 90 - 100 %) влажности.
Рефрижераторы должны иметь мощные системы охлаждения и термоизоляцию грузовых помещений. Для сохранения холода грузовые люки также имеют относительно небольшие размеры. Часто используются бортовые лацпорты (рис. 5.38).
|
Рис. 5.32. Мидель-шпангоут сухогруза со смешанной системой набора
Рис. 5.33. Мидель-шпангоут универсального сухогруза
с поперечной системой набора
При работе конструкций в условиях низких температур повышается вероятность образования хрупких трещин, поэтому для корпуса рефрижераторов необходимо использовать стали с повышенным сопротивлением хрупкому разрушению. Также следует уделять повышенное внимание к конструктивному оформлению узлов, исключая концентрации напряжений.

Рис. 5.34. Консольные полубимсы /13/
Рис. 5.35. Мидель-шпангоут речной баржи проекта 278 /16/
Рис. 5.36. Мидель-шпангоут речной сухогрузной баржи

Рис. 5.37. Судно для перевозки домашнего скота

Рис. 5.38. Схема мидель-шпангоута многопалубного рефрижератора
с грузовыми лацпортами в бортах /1/
6. ПЛАВУЧИЕ ДОКИ, ПРОМЫСЛОВЫЕ, ПАССАЖИРСКИЕ
И ДРУГИЕ ВОДОИЗМЕЩАЮЩИЕ СУДА,
ОБЕСПЕЧИВАЮЩИЕ СУДОХОДСТВО
Плавучие доки
По назначению доки делятся на ремонтные, передаточные (служащие для спуска судна на воду со стапеля) и транспортные (для транспортировки судов и других плавучих сооружений через акватории с ограничениями по осадке или мореходным условиям).
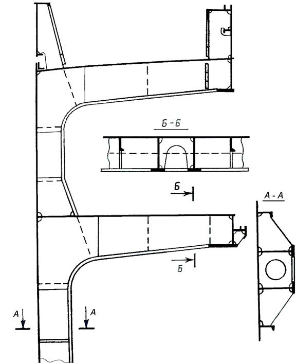
Наиболее типичные доки состоят из одного или нескольких понтонов и башен. Верхняя часть понтона называется стапель-палубой. Кроме двухбашенных или U-образных доков (рис. 6.1 – 6.4), некоторые плавдоки, для более удобного доступа к судну, имеют только одну башню - это так называемые однобашенные или L-образные доки /5/. Имеются плавдоки без башен - док-понтоны. Некоторые доки в одной оконечности имеют водонепроницаемую переборку, а в другой оконечности - водонепроницаемые ворота, которые открываются на момент ввода судна и закрываются перед всплытием плавдока. Вода при этом откачивается не только из цистерн в башнях, но и из межбашенного пространства.

Рис. 6.2. Разрез по основному шпангоуту плавучего дока
грузоподъёмностью 60 тыс. т /5/

Рис. 6.3. Мидель-шпангоут плавучего дока грузоподъёмностью
25 тыс. т /5/
|
Рис. 6.4. Мидель-шпангоут композитного плавучего дока /16/
Плавучие доки бывают стальные, железобетонные и композитные (у которых обычно понтон железобетонный, а башни стальные – рис. 6.4). Башни и понтоны имеют ряд непроницаемых переборок, ограничивающих балластные цистерны. Система набора у большинства доков продольная или смешанная.
Дата добавления: 2016-05-25; просмотров: 446;
