ВЫСОКОСКОРОСТНЫЕ СУДА
К высокоскоростным относятся суда, у которых число Фруда при эксплуатационной скорости не менее 1. К ним относятся некоторые водоизмещающие суда и суда с динамическими принципами поддержания (СДПП). В группу СДПП входят суда: глиссирующие, на подводных крыльях (СПК), на воздушной подушке (СВП), на воздушной каверне, экранопланы, а также разнообразные суда, у которых сила поддержания корпуса над поверхностью воды обеспечивается несколькими способами (рис. 7.1).
Рис. 7.1. Типы высокоскоростных судов
Конструкции СДПП во многом схожи с самолётными. Так же, как и к корпусу самолёта, к корпусу СДПП предъявляются жёсткие требования к массе. Поэтому основным материалом корпуса являются лёгкие (обычно алюминиевые) сплавы. Широко внедряются элементы конструкций из композитов. Для создания динамической силы поддержания применяются специальные устройства и элементы конструкций (у СПК – подводные крылья, у СВП – ограждение воздушной подушки, у глиссеров – реданы и т.п.).
Большие мощности двигателей и большие скорости СДПП приводят к значительным ударным и вибрационным нагрузкам. Это может вызвать повышенный износ конструкций, усталостные трещины и повреждения. Поэтому при проектировании конструкций СДПП большое внимание уделяется сглаживанию концентраций напряжений в узлах соединений, исключению жёстких точек, применению виброизоляции. Для снижения шума (особенно у амфибийных СВП и экранопланов) широко применяют звукоизоляционные панели.
Малый модуль упругости алюминиевых сплавов приводит к пониженной устойчивости продольных связей и повышению общей вибрации. Для повышения жёсткости корпуса даже у относительно небольших судов обычно применяется продольная система набора.
Малые толщины элементов и применение разнородных материалов часто не позволяют выполнить традиционную для судостроения шовную сварку конструкций. В этих случаях конструкции соединяются клёпкой, точечной сваркой, склеиванием, клееклёпкой, клеесваркой.
Шпация продольного набора скоростных судов при малой толщине обшивки требуется также небольшой (150 – 350 мм). Технологические сложности крепления набора к обшивке привели к широкому применению прессованных и трёхслойных панелей. В конструкциях из прессованных панелей для упрощения технологии соединения перекрёстных балок набора и уменьшения концентраторов напряжений широкое распространение получила навесная конструкция набора.
Наиболее широко распространены пассажирские высокоскоростные суда. Они имеют развитые надстройки с большими оконными вырезами, снижающими общую продольную прочность судна (особенно от срезывающих сил). Для обеспечения прочности требуются специальные подкрепления вырезов либо исключение надстроек из общего изгиба судна путём усиления корпуса и применения подвижных соединений надстройки с корпусом.
Глиссирующие суда
С точки зрения гидродинамики на тихой воде, для достижения больших скоростей глиссирования должно применяться плоское днище. Но именно днище плоской формы сильнее всего страдает от перегрузок и сильных ударов при встрече с волнами. Кроме того, такое днище чисто структурно не приспособлено к тому, чтобы выдерживать сильные удары. Даже при умеренном волнении глиссирующим катерам приходится уменьшать свой ход, так как из-за перегрузок, возникающих при соударениях с волнами, могут подвергнуться поломке внутренние связи корпусов. Часто ломаются шпангоуты в носовой части катера, появляются трещины в днище.
Для снижения ударных нагрузок при сохранении быстроходности применяются различные формы обводов глиссирующих судов (рис. 7.2).
Рис. 7.2. Классификация корпусов глиссирующих судов /19/
Большинство глиссирующих катеров в нашей стране изготовляется с корпусами из легких сплавов - дюралюминия (при клепаной конструкции) и алюминиево-магниевых сплавов (при использовании сварки). В последнее время растёт доля судов из композиционных материалов.
|
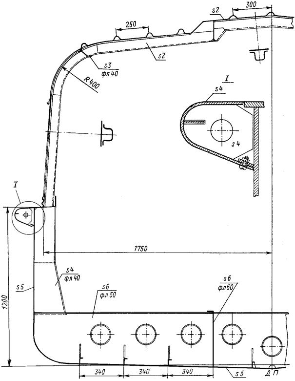
На рис. 7.3 – 7.5 приведены примеры глиссирующих судов.
Рис. 7.3. Глиссирующая моторная яхта /23/

Рис. 7.4. Глиссирующее речное пассажирское судно «Заря»

Рис. 7.5. Мидель-шпангоут судна «Заря» /16/
Дата добавления: 2016-05-25; просмотров: 405;
