определение модуля юнга методом изгиба
Если прямой упругий стержень обоими концами свободно положить на твердые опоры и нагрузить в середине грузом весом P, то середина стержня опустится, т. е. стержень согнется (рис. 10.1).
Легко понять, что при таком изгибе верхние слои стержня будут сжиматься, нижние – растягиваться, а некоторый средний слой, который называют нейтральным слоем, сохранит длину и только претерпит искривление. Перемещение d, которое получает середина стержня, называется стрелой прогиба. Стрела прогиба тем больше, чем больше нагрузка, и, кроме того, она должна зависеть от формы и размеров стержня и от его модуля упругости. Для деформаций растяжения и сжатия модуль упругости называется модулем Юнга и численно равен напряжению (т. е. упругой силе, приходящейся на единицу площади поперечного сечения тела), возникающему в образце при увеличении (уменьшении) его длины в два раза.
Найдем связь между стрелой прогиба и характеристиками упругого стержня. В данной работе используется пластина прямоугольного сечения размерами L (длина), h (высота), b (ширина). Под воздействием внешней силы пластина искривляется, и ее форма может быть описана функцией y(x) (см. рис. 10.1). Возникающие в пластине силы упругости пропорциональны кривизне пластины, т. е. второй производной
. Условие равновесия имеет вид:
, (10.1)
где E – модуль Юнга;
– коэффициент, определяемый геометрией пластины;
– изгибающий момент.
Таким образом, получаем дифференциальное уравнение для формы пластины:
, интегрируя которое, находим:
.
Постоянную интегрирования C определим из условия равенства нулю наклона пластины в ее центре:
, откуда
. После второго интегрирования имеем:
. (10.2)
Стрела прогиба d по модулю равна смещению середины пластины:
, откуда окончательно:
. (10.3)
Порядок выполнения работы
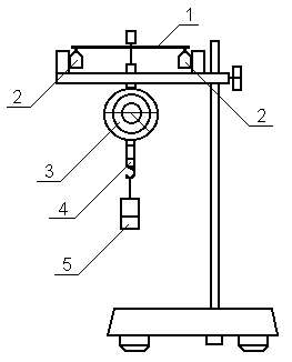
1. Установить одну из исследуемых пластин 1 на призматические опоры 2 (см. рис. 10.2). Установить часовой индикатор 3 таким образом, чтобы его наконечник коснулся пластины.
|
Рис. 10.2. Схема установки.
2. Повесить на скобу 4 гирю 5 массой m. По шкале индикатора определить величину прогиба. Для повышения точности повторить измерения 4-5 раз.
3. Повторить задание п. 2, увеличивая массу гири с помощью дополнительных грузов. Всего провести измерения для 3-4 значений m.
4. Измерить штангенциркулем размеры пластины.
5. Вычислить модуль Юнга исследуемого вещества по формуле (10.3) при каждой массе гири, затем найти среднее значение.
Расчет погрешности
Из формулы (10.3) получаем для относительной погрешности определения модуля Юнга при определенном значении массы гири:
. (10.4)
Для среднего значения модуля Юнга:
,
где N – число измерений.
| <== предыдущая лекция | | | следующая лекция ==> |
| ОПРЕДЕЛЕНИЕ УСКОРЕНИЯ СВОБОДНОГО ПАДЕНИЯ МЕТОДОМ ОБОРОТНОГО МАЯТНИКА | | | Экспериментальная проверка законов Ньютона |
Дата добавления: 2016-03-15; просмотров: 1275;
