Фундаменти, вимоги до них, класифікація
Підземний конструктивний елемент будівлі, який сприймає навантаження від надземних частин і передає його на основу, називають фундаментом.
Фундаменти повинні бути міцними, стійкими, довговічними та економічними.
Згідно з цими вимогами вибирають матеріал фундаменту, глибину закладання, конструктивний тип, форму і розміри перерізу.
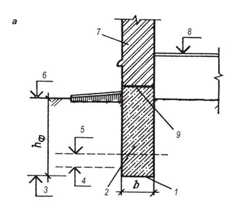
| Рис.4. 3 Визначення глибини закладання фундаментів - схема: 1 - підошва фундаменту, 2 - тіло фундаменту, 3 - позначка глибини закладання фундаменту, 4 – глибина промерзання ґрунту, 5 - позначка рівня ґрунтових вод, 6 - розпланувальна позначка, 7 - стіна, 8 - рівень підлоги першого поверху, 9 - обріз фундаменту, hф - глибина закладання фундаменту, b - ширина підошви фундаменту |
Верхня площина фундаменту, на якій розташовуються надземні частини будівлі, називають обрізом, а нижня площина його, що безпосередньо стикається з основою - підошвою фундаменту (рис. 4.3).
Відстань від планованої поверхні ґрунту до рівня підошви називається глибиною закладання фундаменту.
Глибина закладання фундаменту залежить від призначення будівлі, навантаження на основу, наявності підвалу, підземних комунікацій, геологічних умов, характеру та якості ґрунтової основи, рівня ґрунтових вод, глибини промерзання ґрунту, рельєфу місцевості та інших факторів.
|
| Рис.4. 4 Визначення глибини закладання фундаментів: - карта нормативних глибин промерзання суглинистих ґрунтів |
Глибина закладання фундаменту повинна дорівнювати глибині залягання шару ґрунту, який можна прийняти за природну основу для будівлі.
В ґрунтах, що не здимаються (велико- уламкових, а також пісках гравелистих, крупних і середньої крупності), глибина закладання фундаментів не залежить від глибини промерзання, проте вона повинна бути не меншою як 0,5 м.
Якщо основа складається з вологого дрібнозернистого ґрунту (піску дрібного або пилуватого, супіску, суглинку або глини), то підошву фундаменту треба розташовувати нижче рівня промерзання ґрунту на 0,2 м. Дані про глибину промерзання суглинистих і глинистих ґрунтів наведені в Будівельних нормах і правилах на схематичній карті, на якій нанесені лінії однакових глибин промерзання в сантиметрах (рис. 4.4).
Нормативну глибину промерзання пилуватих глин і суглинків, дрібних і пилуватих пісків і супісків приймають по карті, але з коефіцієнтом 1,2.
Глибина закладання фундаментів під внутрішні стіни опалюваних будівель не залежить від глибини промерзання ґрунту і приймається не менше 0,5 м від рівня землі або підлоги підвалу.
Фундаменти класифікують за такими ознаками:
1. Матеріалом: із дерева, природного каменю, бутобетонні, бетонні, залізобетонні, цегляні.
2. Характером роботи: «жорсткі», що працюють на стиск, і «гнучкі», які працюють на стиск і згин. До гнучких фундаментів належать залізобетонні фундаменти.
3. Глибиною закладання: фундаменти звичайні (до 3 м від поверхні землі) та глибокого закладання (більше 3 м).
Або малозаглиблені, мілкого закладання, заглиблені та глибокого закладання:
До малозаглиблених слід відносити фундаменти, підошва яких розташовується в межах глибини промерання грунтів.
До мілкого закладання слід відносити фундаменти будівель із підпіллям, цокольним чи підвальним поверхами.
До заглиблених слід відносити фундаменти будівель та споруд з одним або декількома підземними поверхами.
До глибокого закладання слід відносити фундаменти, які прорізають шари ґрунтів з особливими властивостями і передають навантаження на інженерно-геологічні елементи ґрунтової основи, які забезпечать вимоги до несучої здатності і деформативності фундаменту і об'єкта в цілому.
4. Способом влаштування: збірні з індустріальних конструкцій заводського виготовлення; монолітні - які виготовляються в опалубці з бутобетону, бетону або викладають із бутового каменю, цегли.
5. Конструктивною схемою (рис. 4.5): стрічкові, розташовані по всій довжині стін або у вигляді суцільної стрічки під рядами колон; стовпчасті, що влаштовуються під окремі опори (колони, стовпи), а в ряді випадків під стіни; суцільні, що являють собою монолітну плиту під усією площею будівлі, пальові - у вигляді окремих заглиблених у ґрунт стержнів.
За конструкцією фундаменти поділяють на (ДБН В.2.1-10-2009. ОіФ):
- окремо розташовані стовпчасті, стрічкові, щільові просторові, спеціальні з анкерами, із забивних блоків чи коротких паль, перехресні системи стрічок, плитні, коробчасті, просторово-рамні, які можуть бути малозаглиблені, мілкого закладання та заглиблені для споруд, що влаштовують у котлованах;
- підземні просторові системи "палі-колони - перекриття - огороджувальні конструкції", що застосовують як заглиблені фундаменти для споруд із більш ніж одним підземним поверхом, які виконують з поверхні (без улаштування котловану);
- палі-колони, стовпи, глибокі опори, оболонки, кесони, "стіни в грунті"; комбіновані системи паль, глибоких опор або оболонок, об'єднаних кущовими, стрічковими, плитними ростверками або просторово-рамними чи коробчастими системами, які застосовують як фундаменти глибокого закладання.
Вибір типу фундаменту залежить від конструктивної схеми будівлі, величини навантаження, що передається на основу, а також від несучої здатності та деформації ґрунту.
Для безкаркасних будівель найчастіше застосовують стрічкові або пальові фундаменти під несучі стіни; для каркасних — стовпчасті або пальові; для багатоповерхових будівель — суцільні або пальові. Остаточний вибір варіанту конструкції фундаменту здійснюється за результатами техніко-економічного аналізу варіантів.

Рис.4. 5 Конструктивні схеми фундаментів:
а-стрічковий під стіни; б-стрічковий під колону; в - стовпчастий під стіни; г-стовпчастий під колону; д - суцільний безбалковий; е - суцільний балковий; ж - пальовий;
1 - фундаментна плита; 2 - армований шов; 3 - бетонний стіновий блок; 4 - армований пояс; 5 - колона; 6 - залізобетонна стрічка; 7,8 - плита; 9 - паля; 10 - ростверк
Рис.4. 6 Профілі стрічкового фундаменту:
а - прямокутний; б - ступінчастий; в-трапецієподібний; г-ступінчастий; 1-обріз фундаменту; 2 - подушка фундаменту


Рис.4. 7 Стрічкові монолітні фундаменти під цегляну стіну:
а-фрагмент плану бутового фундаменту; б-бутовий фундамент; в-бутобетонний

Рис.4. 8 Елементи збірних бетонних і залізобетонних фундаментів:
| Рис.4. 9 Стрічковий збірний фундамент із великих блоків: а-фрагмент схеми розташування фундаментних плит ; б-розріз і фрагмент розкладки конструкцій фундаменту; в-загальний вигляд; 1-армований шов; 2-стіна; 3 - фундаментний блок; 4 - фундаментна плита; 6 - піщана підготовка |
|
|
|
Дата добавления: 2016-02-20; просмотров: 8817;
