Основная 6 страница
В отечественной практике используются гидроциклонные пескоотделители для грубой очистки ПГ 60/300 и гидроциклоны ГЦ-360, предназначенные для отделения частиц шлама из неутяжеленного раствора на водной основе. К сожалению, гидроциклонные шламоотделители, как правило, неприменимы для очистки утяжеленного бурового раствора вследствие больших потерь утяжелителя со шламом.
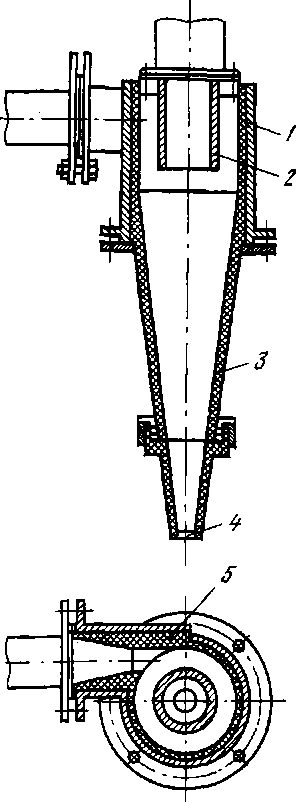
Принцип действия гидроциклона заключается в следующем. Вышедший из скважины или поступивший после вибросита буровой раствор подается центробежным насосом по тангенциальному патрубку 5 в цилиндрическую часть 1 гидроциклона рис. 3.4.9. Под действием центробежных и гравитационных сил более тяжелые частицы шлама отбрасываются к периферии и по конусу 3 гидроциклона опускаются вниз и сливаются наружу через регулируемое отверстие 4. Очищенный от крупных частиц раствор собирается в центральной части гидроциклона и выходит через патрубок 2.
В качестве третьей ступени очистки неутяжеленного бурового раствора используются илоотделители, выпускаемые под шифрами ИГ 45/75, ИГ 45М и ИГ-Т-45М. Они обеспечивают удаление твердых частиц размером от 0,05 до 0,07 мм.
Технические характеристики илоотде-лителей приведены в табл.10.2, а общий вид показан на рис.10.1.

Рис. 10.1. Гидроциклон

Рис. 10.2 Илоотделитель ИГ45/75: 1 - приёмный коллектор;
2 - выкидной коллектор; 3 - отвод очищенного раствора; 4 - лоток для шлама; 5 - рама; 6 - гидроциклон
Описание конструктивного устройства илоотделителя ИГ 45/75 приведено в [2,3,7 и 9]. Принцип действия илоотделителя такой же, как и у пескоотделителя. Отличие заключается в диаметре (от 75 до 100 мм) гидроциклонов и их количестве (6 и 16 шт) в одном комплекте.
Эффективность разделения суспензии с помощью гидроциклонов повышается с увеличением подачи бурового раствора, что приводит к увеличению давления на входе. Однако опыт работы с буровыми растворами показывает, что оптимальное давление для пескоотделителей составляет 0,25 МПа, а для илоотделителей - 0,32 МПа.
У гидроциклонов нижнее (песковое) отверстие является каналом разгрузки от шлама. Режим работы гидроциклонов регулируется изменением размера пескового отверстия путем смены Песковых насадок для сбрасывания песка или ила.
Таблица 10.1

Увеличение диаметра Песковых насадок снижает эффективность работы циклона и увеличивает потери раствора со шламом.
Правильно отрегулированный и настроенный гидроциклон имеет наилучшие характеристики только в том случае, когда выход шлама происходит в виде зонтика, а не в виде шнура. При правильной работе циклона допустимы потери раствора до 5 %. Основной контролируемой характеристикой гидроциклонов является плотность выходящей внизу массы пульпы. Плотность ее должна быть на 300 - 420 кг/м3 выше плотности очищенного раствора.
Сито-гидроциклонные сепараторы В последние десятилетия для очистки буровых растворов применяются так называемые сито-гидроциклонные сепараторы (см. рис. 10.2). В сито-гидроциклонном сепараторе СГС 65/300 в качестве шламоотделителя используют пескоотделитель ПГ 60/300, а в СГС 45/150 - четыре гидроциклона илоотделителя ИГ 45М.
10.3 Центробежные сепараторы (центрифуги)
Обычные илоотделители для очистки утяжеленных буровых растворов неприменимы, так как, удаляя частицы шлама размером 25 мкм, они удаляют из раствора практически весь баритовый утяжелитель с частицами размером более 16 мкм и часть утяжелителя с частицами меньшего размера. При очистке илоотделителем тяжелых растворов 95 % шлама будут составлять крупные частицы, в среде которых будет находиться до 50 % утяжелителя.
Основным современным аппаратом для регулирования содержания и состава твердой фазы в буровых растворах являются центрифуги. Современная центрифуга при нормальном режиме работы обычно обрабатывает до 6-7 л/с бурового раствора.
Центрифуга - высокоэффективный аппарат для разделения суспензий.

Рис. 10.2 Сито-гидроциклонный сепаратор СГС 45/150:
1 - выкидной коллектор; 2 - приемный коллектор; 3 - гидроциклон; 4 - лоток для шлама; 5 - осушающее вибросито; 6 - рама; 7 – вибратор
Однако её конструкция довольно сложна. При высокой частоте вращения, вязкой и абразивной среде наличие сальниковых уплотнений, винтовых питающих насосов требует тщательного ухода. Конструктивное устройство центрифуги с бесступенчатым регулированием скорости вращения ротора показано на рис 10.3

Рис. 10.3 Конструктивное устройство центрифуги:
1 - шнек; 2 - ротор; 3 - кожух; 4 - двигатель привода шнека; 5 - основной приводной двигатель; 6 - рама
10.4 Очистка бурового раствора от газа
Наличие газа в буровом растворе препятствует ведению нормального технологического процесса бурения. Во-первых, вследствие снижения эффективной гидравлической мощности уменьшается механическая скорость бурения, особенно в мягких и средней твердости породах. Во-вторых, в результате снижения эффективной плотности бурового раствора в скважине возможно возникновение газопроявлений. В-третьих, возникает опасность взрыва или отравления ядовитыми и вредными пластовыми газами, например сероводородом.
Попадающий в поток циркулирующего раствора газ приводит к изменению технологических свойств бурового раствора, а также режима промывки скважины. Пузырьки газа препятствуют удалению шлама из раствора, в связи с чем эффективность работы очистного оборудования снижается. Кислые газы (сероводород и углекислый газ) могут привести к снижению рН раствора и вызвать его флокуляцию.

Рис.10.3. Пневмогидравлическая схема дегазатора «Каскад-40»:
1 - вакуум-насос; 2 - ресивер; 3, 19, 20 - клапан; 4 - клапан-разрядник;
5 - камера; 6 - разгрузочная камера; 7 - трубопровод; 8 - шибер;
9 - пластины; 10 - поддон; 11, 12 - клапаны сливные; 13 - регулятор;
14 - рычаг; 15 - золотник; 16 - мембрана; 17 - шток; 18 - пружина;
21, 22 - седла
Особенности конструктивного устройства вакуумных дегазаторов типа ДВС-Ш и «Каскад-40» показаны на рис. 3.4.13.
Вакуумный дегазатор «Каскад-40» представляет собой двухкамерный аппарат циклического действия, оснащенный водо-кольцевым вакуумным насосом типа ВВН-2 с приводом от электродвигателя, системой всасывающих и сливных клапанов и золотниковым устройством для его управления. Остаточное содержание газа в очищенном буровом растворе составляет не более 2 %. Принцип его действия подробно описан в [3], а общий вид показан на рис.3.4.13.
Дегазатор ДВС-Ш по принципу действия несущественно отличается от дегазатора типа «Каскад-40».
Контрольные вопросы:
1. Оборудование для очистки бурового раствора.
2. Вибросито.
3. Гидроциклонные шламоотделители.
4. Центробежные сепараторы (центрифуги).
5. Очистка бурового раствора от газа.
ЛЕКЦИЯ 11
БУРОВЫЕ СООРУЖЕНИЯ
В процессе строительства скважин, проведения сопутствующих работ буровые сооружения выполняют вспомогательные функции. Они предназначены для монтажа и размещения основного и вспомогательного оборудования, обеспечения их конструктивной и функциональной взаимосвязи при бурении и транспортировке.
В состав буровых сооружений входят: фундаменты, основания, буровые вышки, при-вышечные сооружения, каркасно-панельные укрытия или каркасы укрытий, приемные мостки и стеллажи.
11.1 Фундаменты
Фундаменты - это земляные или бетонные инженерные сооружения, предназначенные для монтажа металлоконструкций оснований буровых установок. Фундамент -опора для буровой установки и привышеч-ных сооружений, через которую передаются на грунт нагрузки, возникающие в процессе монтажа и эксплуатации оборудования.
Как правило, комплектные буровые установки ОМЗ не нуждаются в специальных фундаментах и подготовка площадки под блоки ограничивается выравниванием и нивелировкой площадки под опорные балки или созданием бетонной подушки (лент) под эти балки. Металлоконструкции основания, лебедочного, приводного и насосного блоков обладают необходимой жесткостью и массой, обеспечивающей нормальную работу установленного оборудования, и исключают появление недопустимой вибрации без крепления этих металлоконструкций к специальным фундаментам.
Отсутствие необходимости применения специальных фундаментов под основания буровых установок значительно сокращает денежные расходы и время строительства буровой. Однако в районах с низкой несущей способностью грунтов, а также при строительстве глубоких и сверхглубоких скважин требуется строительство достаточно сложных фундаментов.
Раздельные фундаменты под буровые установки строят по проектам, разработанным специализированными строительными организациями, с учетом заданий, выданных заводами-поставщиками оборудования.
Возведение фундаментов всегда сопровождается рытьем котлованов, сооружением опалубок, доставкой щебенки, цемента, песка и других материалов, что приводит к значительным денежным и временным затратам.
Основные рекомендации, которые следует учитывать при проектировании и строительстве фундаментов буровых установок, следующие:
1. Базой для привязки фундаментов под буровую установку следует считать центр скважины.
2. Удельная нагрузка на грунт не должна превышать допустимой для данного вида грунта. Так, для природных и почвенных условий группы месторождений районов Западной Сибири, для буровых установок разведочного и эксплуатационного бурения удельное давление на грунт от опор оснований должно быть не более 0,1-0,12 МПа.
3. Габариты площадки под кустовую буровую должны позволять разместить буровую установку и обеспечить возможность ее монтажа. Привышечные сооружения (котельная, вагончик мастера, столовая, топливный блок и т.д.) должны устанавливаться с соблюдением правил безопасности в нефтегазодобывающей промышленности и противопожарных разрывов между агрегатами с учетом размещения противовыбросового оборудования, а также с учетом числа скважин на данной площадке. Конструкция фундамента должна выбираться в зависимости от глубины бурения и конструкций скважин, типа буровой установки, способности грунта к восприятию удельного давления от возникающих в процессе работы нагрузок, а также экономической целесообразности применяемых материалов.
4. Необходимо применять экономически обоснованные конструкции фундаментов, которые позволят сократить сроки строительства. Поэтому решающее значение для выбора конструкции оснований под буровую установку имеет состав и свойства грунта, на котором предполагается монтировать буровую установку.
5. Располагать оборудование необходимо так, чтобы можно было полнее использовать рельеф местности, водоемы, подъездные пути, линии электропередач, максимально сокращая при этом площади под буровую установку и вахтовый поселок буровой бригады.
6. Следует учитывать преобладающее направление ветров для буровых с дизельным приводом, чтобы при установке выхлопных трубопроводов, емкостей с топливом и маслом защитить обслуживающий персонал от воздействия выхлопных газов.
7. Верхняя плоскость фундамента, на которую будут опираться фундаментные рамы и балки, должна быть выдержана на одной отметке.
8. Анкерные болты, если они заранее закладываются в фундамент по всем координатам, в том числе и по высоте, должны быть установлены с точностью до 5 мм.
9. Рамы оснований и агрегатов при установке на бетонный фундамент опорными плоскостями должны плотно прилегать к плоскостям фундаментов, для чего между ними заливают цементный раствор.
10. Основания должны быть выверены по плоскости с точностью до 1 мм на 1 м в двух направлениях.
11. При возведении фундаментов и установке металлоконструкций основания необходимо отвести от них воду, которая быстро размывает грунт, вызывая проседание и перекос фундамента, нарушающие нормальную работу установки.
11.2 Основания
Основание предназначено для установки на нем оборудования. Оно должно обеспечивать удобную эксплуатацию этого оборудования, а также его транспортировку без демонтажа на новую точку. Комплекс механизмов буровой установки занимает значительную площадь и устанавливается на различных высотных отметках, достигающих 8-10 м. Для сокращения сроков строительства буровой и упрощения монтажа, демонтажа и транспортировки необходимо все оборудование установки, в том числе и вышку, смонтировать на таких металлоконструкциях, которые позволяли бы с минимальными затратами перевезти все оборудование на новую точку, смонтировать (желательно без специальных фундаментов) и начать бурение новой скважины.
Основание буровой установки в зависимости от размещенного на нем оборудования подразделяют на блоки:
- вышечный, на котором устанавливают вышку с механизмом крепления неподвижной ветви талевого каната, устройство для подъема вышки, буровую площадку, на которой устанавливается ротор с приводом, подсвечники, пульт бурильщика, ключ буровой и другое вспомогательное оборудование;
- лебедочный, на котором устанавливают буровую лебедку;
- приводной (энергетический) для силовых агрегатов;
- насосный для буровых насосов;
- блоки циркуляционной системы и
другие блоки.
Число и размеры блоков определяются типом буровой установки, количеством, габаритными размерами и массой устанавливаемого оборудования.
Для безопасного обслуживания установок в целом в составе оснований или самостоятельно предусматриваются лестницы, переходные или иные площадки, ограждения с учетом требований действующих Правил безопасности в нефтяной и газовой промышленности. Все основания сварные, выполненные из профильного и листового проката в виде балок, рам, ферм.
11.3 Буровые вышки
Вышка является ключевым узлом оборудования буровой установки. Они предназначены для выполнения следующих функций:
- проведения спуско-подъемных операций с бурильными и обсадными трубами;
- поддержания бурильной колонны на талевой системе при бурении с разгрузкой;
- размещения комплекта бурильных труб и утяжеленных бурильных труб (УБТ), извлеченных из скважины;
- размещения талевой системы и средств механизации спуско-подъемных операций, в частности механизмов АСП; КМСП или платформы верхового рабочего, устройства экстренной эвакуации верхового рабочего, системы верхнего привода, вспомогательного оборудования.
Вышки и мачты должны отвечать следующим эксплуатационно-техническим требованиям:
- быть достаточно прочными и устойчивыми при максимальных нагрузках, возникающих в процессе бурения или ликвидации аварий;
- иметь необходимый запас высоты для размещения талевого блока, элеватора и манипулирования с буровыми свечами;
- удовлетворять Правилам безопасности в нефтяной и газовой промышленности;
- иметь возможно меньшие массу и габаритные размеры, а также конструкцию, обеспечивающую транспортабельность и простоту монтажно-демонтажных работ.
От конструктивного исполнения вышки зависит объем монтажных работ. В течение ряда лет совершенствуются такие конструктивные схемы, которые, не ухудшая параметров, определяющих характеристику буровой установки, позволяют снижать трудоемкость монтажных работ, способствуют повышению безопасности труда и уменьшают ее металлоемкость. Предусматриваемая при проектировании вышек возможность механизации сборки, демонтажа, погрузочно-разгрузоч-ных работ и транспортирования способствует повышению долговечности этих узлов и оборудования, поскольку наибольший ущерб их состоянию наносится во время этих работ. Буровые вышки «ОМЗ» разработаны в соответствии с требованиями спецификации Американского нефтяного института (АНИ).
Вышки и мачты классифицируются по назначению, способу монтажа и транспортирования, конструкции и параметрам.
По назначению вышки можно разделить в зависимости от назначения и типа БУ: вышки для стационарных, передвижных (мобильных), буровых установок, для агрегатов капитального ремонта скважин. Особый класс составляют вышки для морских буровых установок.
По конструкции буровые вышки различаются в зависимости от пространственной геометрической формы несущей конструкции, способа и устройств для монтажа.
Несущая конструкция - сооружение над устьем скважины, предназначенное для размещения необходимого оборудования для бурения скважины и осуществления спуско-подъемных операций.
По конструкции буровые вышки можно разделить на две группы: мачтовые и башенные.
Мачтовые в свою очередь подразделяются, в зависимости от исполнения несущей конструкции, на А-образные, П-образные, четырехопорные и вышки с открытой передней гранью.
Мачта (вышка мачтовая) - сооружение на высоких опорах, состоящее из одной или нескольких секций с механизмом подъема, монтаж которой может осуществляться следующими способами:
- сборка в горизонтальном положении на некотором расстоянии от уровня земли и затем подъем в рабочее положение;
- подъем в промежуточном положении с последующей раздвижкой или разворотом в рабочее положение.
Башня (вышка башенная) - сооружение квадратного или прямоугольного сечения, секции которого имеют ферменную конструкцию во всех четырех гранях. Это сооружение не содержит механизма подъема, и его монтаж осуществляется следующими способами:
- последовательным наращиванием секций в вертикальном положении с помощью специального подъемника;
- с помощью крана.
В сложившейся на практике терминологии башенными вышками называют конструкции, имеющие не менее трех опор, воспринимающих полезную нагрузку, а мачтами - конструкции с одной или двумя такими опорами. Буровые мачты применяют при бурении скважин различной глубины, при равной с башенными вышками высоте и грузоподъемности они менее металлоемки и имеют меньшее число разъемных деталей. Применение мачт вместо вышек снижает затраты времени на монтажно-де-монтажные работы с 8 до 2 % от времени на собственно бурение скважины, уменьшает транспортные и другие эксплуатационные расходы.
Буровые мачты представляют собой несущий ствол - стержень или конструкцию А -образной формы, смонтированную на основании. Несущий ствол выполняют в виде стойки, фермы или решетчатого стержня закрытого типа с открытой передней гранью (П - образного сечения). Мачты с открытой передней гранью широко применяют в установках с подвижными вращателями и при бурении глубоких скважин роторным способом. Ноги А - образных мачт выполняют в виде трехгранных или четырехгранных пространственных ферм, а иногда в виде трубчатых колонн.
Мачты небольшой высоты (до 12 - 14 м) обычно неразборные, а при большей высоте их выполняют секционными для уменьшения размеров при транспортировке. Секционные мачты разделяют на сборные, складные и телескопические.
Сборные мачты состоят из отдельных цельносварных секций, что значительно ускоряет монтажно-демонтажные работы. Сборные А-образные мачты широко используют при бурении нефтяных и газовых скважин. Складные мачты имеют шарнирно связные секции, что позволяет складывать их в транспортное положение. У телескопических мачт верхняя секция при демонтаже опускается в нижнюю. На конструкцию буровой вышки оказывают влияние конструктивные особенности ее элементов (кронблока, свечеприемника, направляющих механизмов подъема и опускания и вспомогательных устройств).
Кронблок
Кронблок удерживает на весу подвижную часть талевой системы. Он монтируется на верхней раме мачты или на подкронблоч-ных балках вышки и является неподвижной частью талевого механизма. Конструкции кронблоков зависят от типа используемых вышек и различаются по числу шкивов, грузоподъемности и конструктивной схеме.
Магазин (свечеприемник)
Свечеприемник предназначен для размещения и удержания бурильных свечей и утяжеленных бурильных труб (УБТ), которые устанавливаются вертикально на подсвечник и в магазин. Нижний конец свечи устанавливается на подсвечник, который размещается на основании в пределах буровой площадки, верхний - заводится в магазин, смонтированный на несущей конструкции вышки на высоте, несколько меньшей, чем длина свечи. Магазин представляет собой раму, разделенную на секции в виде гребенки. В установках с ручной расстановкой свечей на этой же высоте монтируется платформа верхового рабочего, а в установках, оснащенных комплексами АСП и КМСП, расположен механизм расстановки свечей.
Направляющие
Предназначены для обеспечения направленного перемещения вращателя или вертлюга в определенной плоскости. Они применяются в установках для бурения сейсмоскважин и структурно-картировоч-ном бурении. Направляющими является сама мачта или предусматриваются соответствующие элементы ее конструкции (открытая передняя грань).
В последние годы в связи с развитием систем верхнего привода установки могут оснащаться специальными съемными направляющими, воспринимающими реактивный момент при работе верхнего привода. Они могут быть изготовлены из труб или профильного проката. Их длина определяется длиной хода вращателя (верхнего привода). В установках для ремонта скважин с применением силового вертлюга направляющие могут быть выполнены в виде струн каната.
Механизмы подъема и опускания вышек
Механизмы подъема и опускания вышек должны отвечать следующим требованиям: быть надежными и безопасными в работе, иметь небольшую массу и габаритные размеры, а также легкое и удобное управление, позволяющее оперативно регулировать скорость движения.
Подъем вышек и мачт и их опускание в транспортное положение могут осуществляться:
- гидравлическими подъемниками;
- винтовыми подъемниками.
- тракторами;
- лебедками буровых установок;
- специальными лебедками.
Перед подъемом мачт производится их сборка в горизонтальном положении.
Наиболее полно требованиям, предъявляемым к механизмам подъема и опускания мачт, отвечают гидравлические подъемники, в качестве которых применяют специальные гидроцилиндры, а в установках с подвижными вращателями возможно использование гидроцилиндров механизма подачи.
В тех случаях, когда требуемый ход штока превышает длину корпуса гидроцилиндра, применяют телескопические гидроцилиндры. Для подъема буровых мачт применяют двухступенчатые телескопические гидроцилиндры.
Подъем мачт с помощью лебедок буровых установок осуществляется с использованием специальных конструкций типа подъемных стрел и системы блоков.
Выдвижение секций телескопических мачт осуществляется либо лебедкой, либо гидравлическим цилиндром.
Вспомогательные устройства для работы и обслуживания
К вспомогательным устройствам относят такие элементы, как лестницы, перила, ограждения, площадки, укрытия, освещение и заземление, растяжки.
Лестницы и ограждения необходимы для подъема на основания. Их число определяется конструкцией буровой установки. Размеры лестниц, перил, ступенек выполняются в соответствии с правилами безопасности. Перила лестниц изготавливаются из гнутого профиля или профильного проката таврового сечения, перила и стойки - из труб.
Укрытия предназначены для утепления помещений и защиты обслуживающего персонала и оборудования от метеорологических воздействий.
Оттяжка (растяжка) - трос, один конец которого прикреплен к вышке или мачте, а другой - к якорному узлу для обеспечения конструкционной и/или боковой поддержки мачты в условиях рабочих нагрузок.
Основные параметры буровых вышек
Грузоподъемность вышки (допускаемая нагрузка на крюке) - ее главный параметр, это также основной параметр общей характеристики буровой установки. По этому параметру классифицируются как БУ, так и вышки.
Основные технические данные и характеристики, которые должны быть указаны в паспорте на вышку:
а) допускаемая нагрузка на крюке при определенной оснастке талевой системы, кН (тс);
б) расстояние от стола ротора до низа рамы кронблока, м;
в) расстояние между осями нижних и верхних опорных шарниров по вертикали, м;
г) база нижняя (расстояние между осями опорных шарниров ног вышки), м;
д) база верхняя (расстояние между опорами рамы кронблока), м:
- вдоль оси приемного моста,
- поперек оси приемного моста. Вышки рассчитаны на следующие сочетания нагрузок:
а) при спуско-подъемных операциях -скорость ветра не более 20 м/с в сочетании с нагрузкой на крюке, пакетом свечей, установленным на подсвечник;
б) в нерабочем состоянии (отстой при урагане) - скорость ветра 33,5 м/с, нагрузка на крюке отсутствует, пакет свечей установлен на подсвечник.
Структура (расшифровка) обозначения вышек

Вышки для мобильных (передвижных) буровых установок
В мобильных буровых установок обычно применяются вышки мачтового типа (секционные или телескопические). В мобильных установках ОМЗ применяются вышки мачтовые секционные, а в установках для ремонта скважин - телескопические.
Основная несущая конструкция вышки УМ 31/160-ОГР (рис. 3.5.8) - трехсекцион-ная мачта с открытой передней гранью, шарнирно опертая в четырех точках на под-вышечные опоры. Сечение ног - квадратный замкнутый профиль.
Составные части вышки: модули секций - монтажно-сборочные единицы повышенной заводской готовности; платформа верхового рабочего с площадкой для размещения устройства эвакуации; устройство оттяжек; гидроцилиндры. Соединение модулей секций между собой быстроразъемное пальцевое. Вышка оснащена лестницей-стремянкой до кронблока и страховочным устройством для подъема персонала. Центрирование вышки относительно центра скважины - двумя гидроцилиндрами.
Контрольные вопросы:
1. Буровые сооружения.
2. Фундаменты.
3. Основания.
4. Буровые вышки.
ЛЕКЦИЯ 12
ПРИВОД БУРОВЫХ УСТАНОВОК
Приводом называют двигатели, передачи (трансмиссии) и системы управления, передающие энергию исполнительным органам буровой установки.
Двигатели преобразуют тепловую, электрическую или гидравлическую энергию в механическую. Передачи предназначены для соединения двигателей с исполнительными органами с целью передачи энергии и согласования параметров энергетического потока двигателя с параметрами каждого исполнительного органа. Система управления предназначена для регулирования параметров привода в ручном или автоматическом режиме в зависимости от хода технологического процесса с целью реализации оптимальных технологических параметров.
По назначению приводы разделяют на основной и вспомогательный. Основным является привод основных органов (лебедка, ротор, буровые насосы). Вспомогательный привод предназначен для привода вспомогательных механизмов, выполняющих вспомогательные функции. К таким механизмам можно отнести механизмы циркуляционной системы, средства механизации вспомогательных работ (СПО, погрузочно-разгрузочные работы и другие операции). Число таких механизмов и устройств в современной буровой установке достигает 30 единиц.
По конструкции приводы классифицируется в зависимости от типа используемых двигателей, способа распределения энергии, числа двигателей, а также конструкции силовой передачи (трансмиссии).
В зависимости от типа двигателей, различают приводы:
- дизельный, электрический, газотурбинный (для привода основных механизмов);
- электрический, пневматический, гидравлический (для привода вспомогательных механизмов).
По способу распределения энергии различают групповой, индивидуальный и смешанный приводы. При групповом приводе один или несколько двигателей используются для привода нескольких исполнительных механизмов. При индивидуальном - каждый исполнительный механизм имеет свой привод. На буровых установках чаще всего применяется смешанный привод. Например, если привод основных механизмов может быть групповым и индивидуальным, то привод вспомогательных - чаще всего индивидуальный.
По числу двигателей различают одно-двигательные и много двигательные приводы. Многодвигательные приводы практически всегда дизельные, групповые.
По конструкции силовых передач различают механические, гидротехнические, электрические и комбинированные передачи энергии исполнительным органам. Распределение существующих буровых установок по типам приводов приведено в табл. 12.1.
Таблица 12.1

По параметрам приводы различаются приводной мощностью (мощность двигателя); структурой мощности, потребляемой исполнительным органом, и механической характеристикой привода.
Дата добавления: 2015-09-14; просмотров: 4051;
