ВОПРОС 4. НАСОСЫ РОТОРНЫЕ
Роторный насос — это объемный насос, в котором вытеснение жидкости происходит из перемещаемых рабочих камер в результате вращательного или вращательно-поступательного движения вытеснителей.
Особый характер процесса вытеснения жидкости в роторных насосах и перенос рабочих камер с жидкостью из полости всасывания в полость нагнетания делает излишними всасывающий и напорный клапаны. Отсутствие всасывающих и напорных клапанов в роторных насосах является основной их конструктивной особенностью, которая отличает этот класс насосов от класса поршневых насосов.
Роторные насосы являются обратимыми. Обычно состоят из следующих основных частей: статора (неподвижного корпуса), ротора, жестко связанного с валом насоса, и вытеснителя (одного или нескольких).
Рассмотрим классификационную схему роторных насосов (рис. 5). По характеру движения вытеснителей класс роторных насосов делится на два подкласса: роторно-вращательные и роторно-поступательные.

Рис.5.Классификационная схема роторных насосов
Как показывают названия, в первом подклассе вытеснители совершают лишь вращательное движение, а во втором — одновременно с вращательным еще и возвратно-поступательное движение относительно ротора.
Роторно-вращательные насосы делятся на зубчатые и винтовые. В первом ротор и вытеснитель имеют форму зубчатых колес, а жидкость в насосе перемещается в плоскости их вращения. В винтовых насосах ротор имеет форму винта, а жидкость в нем перемещается вдоль оси его вращения.
Основной разновидностью зубчатых насосов являются насосы шестеренные.
Роторно-поступательные насосы делятся на шиберные (в основном пластинчатые) и роторно-поршневые насосы. Различие между ними заключается не только в форме вытеснителя (пластин и поршней) и характере движения жидкости в насосе, но и в способе ограничения (образования рабочих камер).
Роторно-поршневые насосы по расположению рабочих камер делятся на радиальные и аксиальные.
Шестеренный насос — это зубчатый насос с рабочими органами в виде шестерен, обеспечивающих передачу момента с ведущего звена на ведомое. Различают шестеренные насосы с внешним и внутренним зацеплением.
На рис. 6 изображен насос с внешним зацеплением. При вращении шестерен 3 на стороне всасывания создается разрежение и жидкость под атмосферным давлением заполняет впадины между зубьями шестерен, перемещаясь в сторону нагнетания, где зубья одной шестерни входят во впадины другой и вытесняют перекачиваемую жидкость в нагнетательный патрубок.

Рис. 6. Шестеренный насос:
1-крышка; 2-корпус; 3-шестерни.
В зависимости от свойств перекачиваемой жидкости проточная часть корпуса 2и шестеренные роторы могут быть изготовлены из чугуна и стали или из бронзы и стали. С торцов насос закрывается крышками 1.
Насосы с малым модулем зубчатого зацепления могут хорошо работать на Маловязких жидкостях и плохо перекачивают густые и вязкопластичные среды. Существенным недостатком шестеренных насосов является неравномерность подачи, которая зависит от числа зубьев шестерен. К недостаткам шестеренных насосов относятся также повышенные значения утечек, связанных с обратным перепуском перемещаемой среды из зоны нагнетания в зону всасывания через зазоры между шестернями и корпусом, шестернями и крышками.
Винтовые насосы в отличие от других объемных насосов обладают рядом преимуществ: создают высокое давление, имеют значительную высоту всасывания и малое перемешивание перемещаемой жидкости, конструктивно просты, компактны, не имеют клапанов и сложных проходов, что обуславливает низкие потери энергии в местных сопротивлениях, они легче поршневых в 5... 10 раз.
Одновинтовой насос (рис. 7) состоит из корпуса, снабженного всасывающим 4и нагнетательным 1 патрубками, резинового статора — обоймы 2и винтового ротора 3.Вращение ротору передается от приводного вала с помощью карданного вала 6с шарнирами 7, закрепленных в кронштейне 5.Насос работает по принципу замыкания и последующего вытеснения объемов среды из полостей, образованных винтом ротора и обоймой.

Рис. 7. Одновинтовой насос:
1-нагнетенный патрубок; 2-обойма; 3-винтовой ротор; 4-всасывающий патрубок; 5-кронштейн; 6-карданный вал; 7-шарниры.
Профилированная внутренняя поверхность обоймы выполнена в виде двухзаходного винта с шагом, в два раза превышающим шаг однозаходного винта — ротора. При наличии эксцентриситета между неподвижной обоймой и винтом — ротором, когда первая на стороне всасывания, полость увеличивается в объеме, давление в ней понижается до величины, меньшей давления в приемной части насоса. За счет разности давлений полость заполняется перемещаемой средой. Дальнейшее вращение винта обеспечивает замыкание полости, и среда перемещается к нагнетательной части обоймы в результате вытеснения ее винтом (за один оборот винта перемещение равно одному шагу обоймы). При постоянной частоте вращения винта подача насоса строго постоянна.
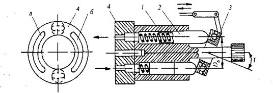
Для перекачки вязкопластичных технологических сред широко применяют пластинчатый (эксцентриковолопастный) насос (рис. 8). Основными частями простейшего пластинчатого насоса однократного действия являются: вращающийся ротор 2, помещенный с эксцентриситетом в неподвижном кольце статора 5. Кольцо статора запрессовано в корпус 1 и имеет загрузочную горловину 3. В пазах ротора находятся пластины 4, способные при вращении перемещаться радиально. Их наружные концы скользят по окружности статора. Пазы для пластины имеют наклон в сторону вращения ротора для предотвращения заклинивания пластин. Насосы такого типа используются при давлениях 10...12МПа.

Ограниченность давления обусловлена контактными нагрузками между пластинами и статором, а также односторонней нагрузкой ротора силами давления со стороны полости, находящейся под давлением. Полной уравновешенности ротора удается достигнуть в пластинчатых насосах двойного действия (рис. 9).
Статорное кольцо и ротор прикрыты с обеих сторон крышками, в которых профрезерованы дугообразные окна А, В, С,D. По мере поворота ротора в зонах окон Ви Впространство между двумя соседними пластинами увеличивается, образуется вакуум и происходит процесс всасывания. В зонах окон А и С объем между пластинами уменьшается и происходит процесс нагнетания. В результате перекрестного размещения областей Ви Внизкого давления и областей А и С высокого давления ротор и, следовательно, подшипники разгружены от действия радиальных сил.

В радиально-поршневом насосе (рис. 10) поршни 1, вращаясь вместе с блоком цилиндров 2,участвуют одновременно в возвратно-поступательном движении в радиальном направлении, т. к. они опираются на кольцевую направляющую поверхность статора 3,размещенную с эксцентриситетом еотносительно оси вращающейся части насоса (ротора). Оси поршней перпендикулярны оси вращения ротора или составляют с ней углы более 45°.
Поршни выдвигаются из цилиндров центробежными силами и действием давления жидкости, подаваемой из напорной линии насоса в тыльную часть поршней. Для уменьшения напряжений в месте контакта поршней со статором площадь поверхности поршней стремятся сделать меньше, а их число больше. Одновременно это содействует выравниванию подачи и уменьшению радиальных габаритных размеров.

Роторные аксиально-поршневые насосы — насосы, у которых рабочие камеры вращаются относительно оси ротора, а оси поршней или плунжеров параллельны оси вращения или составляют с ней угол меньше 45°. Насосы и гидродвигатели с аксиальным или близким к аксиальному расположением цилиндров являются наиболее распространенными в гидравлических системах. По числу разновидностей конструктивного исполнения они во много раз превосходят прочие типы гидромашин. Они обладают наилучшими габаритными и весовыми характеристиками, отличаются компактностью, высоким КПД, пригодны для работы при высоких частотах вращения и давлениях, обладают сравнительно малой инерционностью, а так же просты по конструкции.
На рис. 11 изображена схема аксиально-поршневого насоса с наклонной шайбой. Оси цилиндров 1 расположены в нем параллельно оси вращения блока 2. Цилиндры с помощью пружин прижимаются к наклонной шайбе (диску) 3.
Поскольку цилиндровый блок 2 у рассматриваемого насоса вращается, упрощается распределение жидкости, которое обычно выполняется через серпообразные окна а и в в распределительном золотнике 4. При работе насоса торец цилиндрового блока скользит по поверхности распределительного золотника. При этом цилиндры попеременно соединяются с окнами а и в золотника и через них — с зонами всасывания и нагнетания.
К объемным насосам специального назначения могут быть отнесены шланговые насосы и водокольцевой вакуум-насос.
Рабочим органом шлангового насоса (рис. 12) является установленный на специальном профилированном корпусе 1 шланг из эластичного материала (например, резины или пластмассы) 2. Шланг периодически сжимается обкатываемым роликом 4, и перекачиваемая среда, которой заполнен внутренний его объем, выжимается.

Рис. 11. Схема аксиально-поршневого насоса:
1 — цилиндр; 2 — цилиндровый блок; 3 — шайба (диск); 4 — распределительный золотник; а и б — серпообразные окна

Для надежной и непрерывной подачи среды по шлангу и предупреждения возврата вытесняемой среды установлено три ролика, закрепленных в держателе 3. При вращении обоймы с роликами происходит последовательное сжатие шланга и вытеснение среды роликами. За один оборот вала держателя вытесняется три дозы жидкости. Концы шланга закрепляются в корпусе или в специальных зажимах, к которым присоединяются трубопроводы. Во избежание быстрого износа шланг и профильную поверхность корпуса смазывают силиконовым составом или непрерывно смачивают водой.
Шланговый насос обеспечивает импульсную объемную подачу, которая зависит от частоты вращения вала с держателями роликов и диаметра шланга, а также количества шлангов, расположенных параллельно друг другу в корпусе насоса.
Вакуумные насосы (вакуум-насосы) предназначены для откачки воздуха из всасывающих линий центробежных насосов при заливе их водой перед пуском, а также тогда, когда требуется удалить воздух из системы и создать вакуум. Наибольшее распространение получили водокольцевые вакуум-насосы, (рис. 13). На валу насоса закреплено колесо с радиальными лопатками 6, расположенное эксцентрично по отношению к цилиндрической камере корпуса 5. Возле ступицы колеса имеются два серповидных выреза а и в, соединенных соответственно с напорным 3 и всасывающим 4 патрубками насоса.
Если перед пуском насоса в его корпус 5 залить воду, то при вращении рабочего колеса 6 образуется водяное кольцо 1, расположенное концентрично по отношению к камере насоса и эксцентрично по отношению к колесу 6.
Между ступицей колеса, лопатками и внутренней гранью водяного кольца образуются полости, объем которых за первую половину оборота колеса, т. е. до вертикального диаметра, увеличивается. При увеличении объема полостей в них водокольцевого возникает разрежение и через серповидное отверстие (подводящее секторное отверстие 7) начинает поступать воздух.
При дальнейшем вращении колеса объем полости уменьшается, воздух сжимается и при достижении очередной полостью выходного серповидного отверстия а (нагнетательного отверстия 2) под действием избыточного давления выталкивается через напорный патрубок в атмосферу (или в трубопровод). Если всасывающий патрубок вакуум-насоса соединить с герметичной полостью, то в ней вследствие постоянного отсоса воздуха возникает вакуум.
В целях предотвращения перегрева воды в водяном кольце к вакуум-насосу подводят свежую воду, которая, непрерывно поступая в насос, замещает нагревшуюся.
Величина создаваемого насосом разряжения (вакуума) не может быть больше давления насыщенных паров поступающей в насос воды, поэтому понижение температуры воды ведет к повышению величины разрежения.
|
Дата добавления: 2015-08-21; просмотров: 1739;
