Масляный центробежный фильтр МЦ-1
1 – болт; 2 – крышка; 3 – гайка; 4 – стержень; 5 – корпус; 6 – кольцо; 7 – сопло; 8 – сливной патрубок; 9 – штуцер; 10 – пята ротора; 11 – корпус ротора; 12 – прокладка; 13 – крышка ротора; 14 – трубка; 15 – фильтр; 16 – резиновое кольцо; 17 – втулка; 18 – втулка; 19 – пружина; а – отверстие.

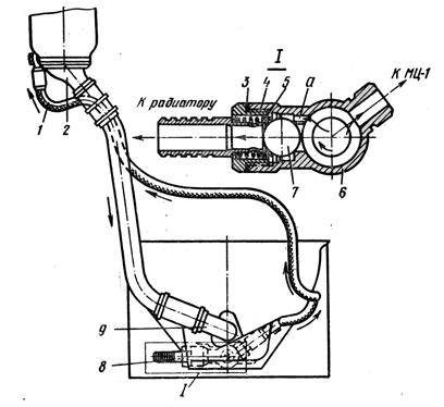
Установка фильтра МЦ-1:
Шланг подвода масла; 2 - масляный центробежный фильтр МЦ-1; 3 - кольцо медное; 4 - штуцер; 5 - пружина; 6 - корпус клапана; 7 - шарик; 8 - клапан (редукционный); 9 - патрубок (сливной); а - отверстие.
Сливной патрубок 8 крепится к корпусу фильтра шпильками. Стык между ними уплотнен паронитовой прокладкой.
Редукционный клапан 8 масляного насоса поддерживает необходимое давление масла на входе в масляный центробежный фильтр. Он установлен на штуцере, отводящем масло из откачивающих секций масляного насоса, и состоит из корпуса 6, штуцера 4, шарика 7 и пружины 5. Стык корпуса клапана со штуцером уплотняется медным кольцом 3.
Работа центробежного фильтра МЦ-1 основана на использовании центробежных сил для разделения масла и механических примесей вследствие разности их плотностей. Фильтр, подключенный параллельно к откачивающей магистрали, имеет свободный слив отфильтрованного масла в картер двигателя.
При работе двигателя большая часть масла (70—80%) из откачивающих секций масляного насоса проходит через штуцер редукционного клапана 8 к радиаторам и баку. Так как перепускное отверстие в корпусе клапана небольшого диаметра, то в маслопроводе, подводящем масло к центробежному фильтру МЦ-1, создается давление, которое ограничивается пружиной_ редукционного клапана. Пружина отрегулирована на давление открытия клапана, равное 6 кгс/см2.
Если давление в корпусе клапана достигает 6 кгс/см2, то клапан открывается, и часть масла дополнительно перепускается в штуцер к радиаторам и в бак. Меньшая часть масла иод давлением, поддерживаемым редукционным клапаном, поступает к центробежному фильтру и по каналам в корпусе фильтра и стержня попадает в рабочую полость ротора. Затем масло проходит через щелевые фильтры стальных трубок и поступает к соплам. Вытекая из сопел в виде двух противоположно направленных струй, масло создает реактивный момент, который вращает ротор вместе с находящимся в нем маслом.
В результате вращения возникают центробежные силы, под действием которых механические примеси, находящиеся в масле и имеющие большую плотность, отбрасываются и отлагаются на стенках ротора плотным слоем. Очищенное масло свободно сливается по патрубку 9 в картер двигателя. На эксплуатационных оборотах и при нормальных давлении и температуре масла в магистралях двигателя ротор масляного центробежного фильтра вращается с частотой 5500— 6000 об/мин.
Д) Масляные радиаторы.В машине установлены два масляных радиатора двигателя. Они соединены последовательно и предназначены для охлаждения масла, выходящего из двигателя. Радиаторы размещены в стеллаже над водяными радиаторами справа по ходу машины.
Радиатор трубчато-пластинчатого типа, трехзаходный. Он состоит из сердцевины 2 (рис. 53) и двух коллекторов 3 и 6. К передним коллекторам 6 каждого радиатора приварены фланцы 5 (один подводящий масло из двигателя, другой отводящий охлажденное масло из радиатора в масляный бак). Сердцевина 2 радиатора состоит из двух рядов плоских трубок и двух концевых пластин, к которым припаиваются коллекторы. Для увеличения поверхности охлаждения внутри трубок припаяны ребра.

Масляный радиатор:
1 — патрубок; 2 — сердцевина радиатора; .3 — задний коллектор; 4 — ручка для транспортировки; 5 —фланец: 6 — передний коллектор
Е) Маслозакачивающий насос МЗН-2.Маслозакачивающий насос МЗН-2 служит для подачи масла к крышке центрального подвода системы смазки двигателя перед его пуском. Он установлен под кронштейном конического редуктора привода вентилятора системы охлаждения и крепится к нему прижимной планкой. Насос приводится во вращение электродвигателем МН-1-2С. Вал электродвигателя соединяется с хвостовиком ведущей шестерни шлицевой втулкой.

Маслозакачивающий насос МЗН-2:
1 — выходной канал; 2 — ведомая шестерня; 3 — крышка насоса- 4 — патрубок для подвода подогревающей жидкости; 5 — сальник; 6 — соединительная муфта; 7 —корпус насоса; 8 — электродвигатель; 9 — вал электродвигателя; 10 — ведущий валик насоса; 11 — пружина редукционного клапана; 12 — трубка для отвода подогревающей жидкости; 13 — полость для подогревающей жидкости; 14 — шарик редукционного клапана; 15 — ведущая шестерня; 16— входной канал; 17 — заглушка
Маслозакачивающий насос состоит из корпуса 7, крышки 3, ведущей шестерни 15, ведомой шестерни 2, самоподжимного сальника 5, соединительной муфты 6 и редукционного клапана с шариком 14 и пружиной 11.
Корпус насоса имеет двойные стенки. В полость между стенками по патрубку 4 подводится охлаждающая жидкость из системы охлаждения и подогрева двигателя. Жидкость, проходя по зарубашечной полости, нагревает находящееся в насосе масло, а затем по трубке 12 отводится из насоса в подводящий трубопровод подогревателя.
Крышка корпуса насоса отлита из алюминиевого сплава и крепится к корпусу четырьмя болтами, из которых два болта призонные. Шестерни насоса засасывают масло через входной канал 16 из масляного бака и подают его в полость нагнетания. В полости нагнетания установлен редукционный клапан, отрегулированный на давление открытия 10 -14 кгс/см2. Если давление в полости нагнетания достигает этой величины, то шарик, отжимая пружину, отходит от седла, и часть масла перетекает из полости нагнетания в полость всасывания. Из полости нагнетания масло по трубопроводу поступает к крышке центрального подвода масла.
Ж) Контрольно-измерительные приборы.Для контроля работы системы смазки в нее включены дистанционные электрические манометры ТЭМ-15 и термометр ТУЭ-48-Т. Датчик масляного манометра расположен на картере левой КП и подсоединен гибким шлангом и специальной трубкой с поворотным угольником к трубке центрального подвода масла. Указатель манометра установлен на щите контрольных приборов механика-водителя. Манометр показывает давление масла, поступающего в коленчатый вал двигателя.
Датчик термометра установлен в откачивающей магистрали в трубопроводе, соединяющем откачивающие секции масляного насоса с перепускным клапаном на масляном баке. Указатель термометра установлен на щите контрольных приборов механика-водителя.
З) Работа системы смазки.При работе двигателя нагнетающая секция масляного насоса 16 забирает масло через фильтр 12 из основного масляного бака 8 и под давлением подает его через масляный фильтр МАФ к крышке центрального подвода масла, откуда оно поступает к трущимся деталям двигателя.
Основная часть масла поступает во внутреннюю полость коленчатого вала, откуда по сверлениям подается к шейкам и вкладышам подшипников, а также к нижним головкам прицепных шатунов. Стекающее с шеек коленчатого вала масло разбрызгивается в картере, образуя масляный туман, которым смазываются стенки гильз цилиндров, верхние головки шатунов и поршневые пальцы.
Часть масла по сверлениям в картере двигателя и трубопроводу поступает к верхнему вертикальному валику, валику привода топливного насоса и воздухораспределителя, валику привода тахометра и к наклонным валикам привода распределительного механизма.
Из подшипников наклонных валиков часть масла по двум трубопроводам поступает к подшипникам распределительных валов, смазывая тарелки и стержни клапанов, и далее к верхним опорам наклонных валиков. Из магистрали распределительных валов масло стекает на головки блоков, откуда по специальным сверлениям в головках и кожухам наклонных валиков стекает в нижний картер двигателя, смазывая шестерни механизма передач. Из крышки центрального подвода масло поступает по сверлениям к нижнему вертикальному валику и, стекая в нижнюю половину картера, смазывает привод к масляному насосу, а затем поступает по сверлениям к топливоподкачивающему насосу двигателя.

Схема системы смазки двигателя:
1 — указатель температуры масла; 2 — масляный фильтр МАФ; 3 — двигатель 4— масляный центробежный фильтр МЦ-1; 5 — дренажный трубопровод; 6 — масляные радиаторы; 7 — перепускной клапан 8 — основной маслобак; 9—пополнительный маслобак; 10 — заправочная горловина; 11 — обратный клапан (предотвращает перелив масла из основного маслобака в пополнительный); 12— заборный фильтр; 13 — маслозакачивающий насос МЗH-2; 14— датчик манометра; 15— датчик термометра; 16 — масляный насос двигателя; 17 — указатель давления масла; 18 — клапан слива масла
Часть масла при выходе из фильтра МАФ по трубопроводу поступает на смазку нагнетателя. Масло из нагнетателя стекает в картер двигателя.
Масло, собирающееся в переднем и заднем маслосборниках нижнего картера, откачивается секциями масляного насоса и по трубопроводу подается через масляные радиаторы 6 в основной бак 8. При низкой температуре масло из двигателя в бак может проходить через перепускной клапан 7, минуя радиатор.
Часть масла (около 20—30%) из откачивающих секций масляного насоса под давлением поступает к масляному центробежному фильтру 4, где очищается от механических примесей и затем сливается обратно в картер двигателя.
При включении маслозакачивающего насоса 13 перед пуском двигателя масло из масляного бака забирается маслозакачивающим насосом и подается непосредственно в крышку центрального подвода масла, минуя масляный фильтр МАФ.
По мере расхода масла двигателем масло из пополнительного бака 9 по трубопроводу поступает в основной бак 5. Для предотвращения перелива масла из основного бака в пополнительный на подъемах в пополнительном баке имеется обратный клапан 11.
Система смазки открытого типа. Связь с атмосферой осуществляется через дренажный трубопровод 5, трубу слива из МЦ-1 и картер двигателя. Картер двигателя соединен с атмосферой через систему вентиляции картера.
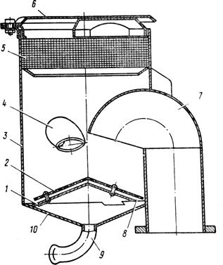
И) Система вентиляции картера.Система вентиляции картера предназначена для сообщения внутренней полости картера двигателя с атмосферой и отвода отработавшего газа. На двигателе установлена система вентиляции картера, состоящая из маслоотделителя 9, трубопроводов 15 и 17, подводящих отработавший газ из картера к маслоотделителю, масляного трубопровода 16, соединяющего отстойник маслоотделителя с откачивающим масляным насосом 14 системы вентиляции картера.
Маслоотделитель установлен в развале блоков над воздухоочистителем и служит для отделения капель и паров масла из потока отработавшего газа. Маслоотделитель состоит из сварного корпуса 3, включающего в себя подводящие трубки 4 и 7, двойного конуса — сетчатого 2 и сплошного 1 с окнами 8, отстойника 10 с отводящей трубкой 9, сетчатого фильтра 5 и крышки 6.

Маслоотделитель:
Дата добавления: 2015-08-21; просмотров: 3578;
