Полуоси
Полуоси применяют для привода ведущих неуправляемых колес.
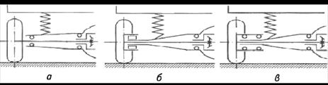
В зависимости от конструкции внешней опоры полуоси в балке моста, и, следовательно, от испытываемых нагрузок полуоси делят на полуразгруженные, разгруженные на ¾ и полностью разгруженные.

Полуразгруженная полуось (а) в качестве внешней опоры имеет шариковый или роликовый подшипник, установленный между полуосью и балкой моста. Со стороны колеса такая полуось воспринимает все силы и моменты, действующие от дороги. Полуразгруженные полуоси имеют наиболее простую конструкцию и поэтому широко применяются на легковых автомобилях.
На ¾ разгруженная полуось (б) в качестве внешней опоры имеет роликовый подшипник, установленный между балкой моста и ступицей колеса. Силы и моменты, действующие от дороги, воспринимаются частично подшипником, частично – полуосью. Боковая сила вызывает перекос подшипника, что резко сокращает срок его службы, поэтому полуоси такого типа получили ограниченное распространение.
Полностью разгруженная полуось (в) в качестве внешней опоры имеет два роликовых или радиально-упорных шарикоподшипников, установленных между балкой моста и ступицей колеса. Такая конструкция применяется на автобусах и грузовых автомобилях средней и большой грузоподъемности, при этом полуось теоретически нагружается только передаваемым к колесу крутящим моментом.
Дата добавления: 2015-08-14; просмотров: 1000;
