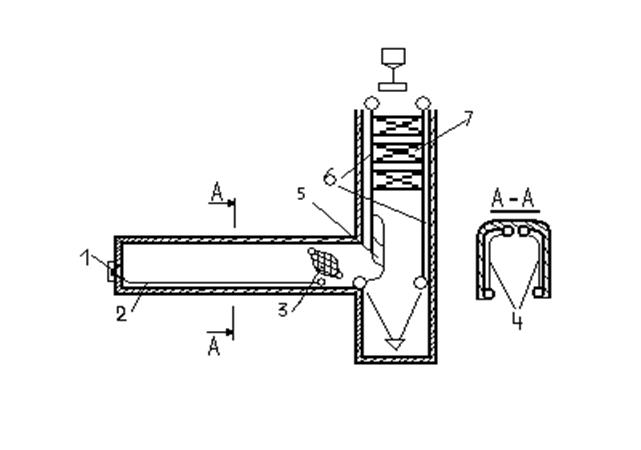
КГВМ-10(КГВМ-20)
КГВМ-10(КГВМ-20)-эти котлы одногорелочные, с горизонтальной топкой и вертикальной конвективной шахтой. Компоновка котлов L-образная.

1-горелка2-подовый экран3-промежуточный задний экран топки4-фестон 5-экраны конвект шахты,6-конвективная поверхность7-дорбеочистка, 8-боков экраны топки. Топка котла полностью экранирована трубами диаметром 60мм. Промежуточным задним экраном, состоящим из 2-х рядов труб, топка разделена на камеру горения и камеру дожигания.Пространство между кот заполн огнеупорной футеровкой. На выходе из топочной камеры организ фестон, вып из труб переднего экрана конвективн шахты. Передний и задний экран конвективной шахты явл одновременно коллекторами для ширм конвективн пакетов.Ширмы конвективных пакетов представл собой U-образные трубки, диаметром 28 мм.Имеют шахматное расположение боков. Стенки конвективн шахты также экранированы трубами, диаметром 60мм. Обмуровка котла выполняется облегчённой, натрубной, толщиной 110мм. График работы 70/150С. Расход воды 247 т/ч . КПД: 90% Котлы КВГМ выпуск тепловой мощностью на 10, 20, 30, 50 Гкал/ч.
Вид сверху 
26. Котел ГМ-50-14Газомазутный паровой котел производительностью 50 т/ч с рабочим давлением 14 кг/см2 имеющий вертикальную П-образную компоновку. Завод-изготовитель – «Белэнергомаш» г.Белгород. Парогенератор(котел) 2-х барабанный, топочная камера полностью экранирована, в верхней части трубы заднего экрана образуют фестон, состоящий из 3-х рядов труб. Два барабана располож в горизонт газоходе поперек котла. Верхний и нижний барабаны соединены трубами с шахматным расположением которые образуют конвективную часть. Газомазутные горелки установлены на боковых стенах, по 2 с каждой стороны. Перегрев пара осуществляется в горизонтальном пароперегревателе, имеющем шахматное расположение труб диаметром 32 мм. После пароперегревателя установлен воздухоподогреватель, выполненный из труб диаметром 40 мм. В подъемн шахте устан чугунный водяной экономайзер.
1- газомазутные горелки, 2- экранные трубы, 3- выносной циклон, 4-нижний барабан, 5- верхний барабан,6- фестон, 7- гориз пароперегреватель, 8 вп, 9- чугунный экономайзер, 10-система дробеочистки, 11- верхний коллектор экрана, 12- нижний коллектор экрана.К горелкам установлены по два на каждой боковой стенки циркуляционного контура Все экраны питаются из нижнего барабана за исключением фронтального экрана, выделенного во 2 ступень испарения, который питается из выносного циклона. Для очистки поверхности нагрева расположеннызх в выпускном газорходе исп система система дроюбеочистки. КПД котла 89-92%. Экранные поверхности разделены на 8 самостоятельных циркуляционных контуров, все контуры замкнуты на опускные трубы, 16 из которых расположены в середине конвективного пучка, а 14 – с торцевой стороны барабана и являются не обогреваемыми КПД котла 89-92%.
27. E-320-140 ГМ 
1- два ряда газомазутных горелок, 2- барабан. 3- выносной цикл, 4 – экранные трубы, 6 - пароперегреватель, 7 – стальной экономайзер, 8 - дробеочистка
Этот котел является энергетическим парогенератором, производительностью 320т/ч и давлением пара на выходе из пароперегревателя 140 атм. Температура перегретого пара 560°С. В качестве топлива используется газ или мазут. Котел вертикальный, P-образной компоновки, однобарабанный с естественной циркуляцией.
Топочная камера призматическая, размерами 5,4´12,1м. Полностью экранирована трубами D=60мм с шагом 64мм. Под топки образован трубами фронтального и заднего экранов. Для лучшего перемешивания продуктов сгорания в верхней части топки имеется выступ, образованный трубами заднего экрана. На фронтальной стене установлено в 2 яруса 6 газо-мазутных горелок. Экраны топочной камеры разделены на 16 самостоятельных циркуляционных контуров. Схема испарения двухступенчатая: первая ступень испарения (частовой отсек) включена непосредственно в барабан котла, а вторая ступень испарения (солевой отсек) организована в контурах циркуляции, включенных на выносные циклы. Пароперегреватель радиационно-конвективный. Радиационная часть выполнена в виде ширмовых поверхностей, расположенных в верхней части топки, конвективная часть выполнена из змеевиков, расположенных в горизонтальном и опускном газоходах. В опускном газоходе установлен также кипящий водяной экономайзер, выполненный из стальных труб D=32мм. Температура питательной воды на входе в экономайзер равна 230°С. Подогрев воздуха, необходимого для горения, производится в регенеративном воздухоподогревателе, вынесенном за пределы котла. Очистка газоходов котла осуществляется с помощью дроби, а поверхностей водоподогревателя - паром. Температура пара на выходе из котла 560С, температура пит воды -230С. КПД котла равен 91,5 - 92,5%.
Дата добавления: 2015-07-10; просмотров: 2861;
