Конструкция и схема включения
а) Магнитный пускатели. Магнитный пускатель на номинальный ток 10 А (рис. 3.1, а) имеет мостиковую контактную систему (позиции 3, 9, 11) с металлокерами-ческими контактами 4, расположенными в ДУ 1. Контактное нажатие создается пружиной 14, упирающейся в траверсу 2. На контакты воздействует электромагнит 10 с Ш-образным магнитопроводом и короткозамкнутым витком 13, расположенным на неподвижной части магнитопровода 6.
Возвратная пружина 7 расположена внутри электромагнита. На его среднем стержне размещена катушка 8. При IНОМ > 10 А ДУ выполняется в виде дугогасительной решетки на каждом разрыве. В системе вспомогательных контактов можно установить до четырех дополнительных контактов 5 (рис. 3.1,б). Детали пускателя прикреплены на основании 11.
Рис. 3.1. Магнитный пускатель серии ПМЛ
б) Тиристорные пускатели. Бесконтактные тиристорные пускатели находят широкое применение во взрыво- и пожароопасных производствах и других областях техники, требующих высокой надежности.
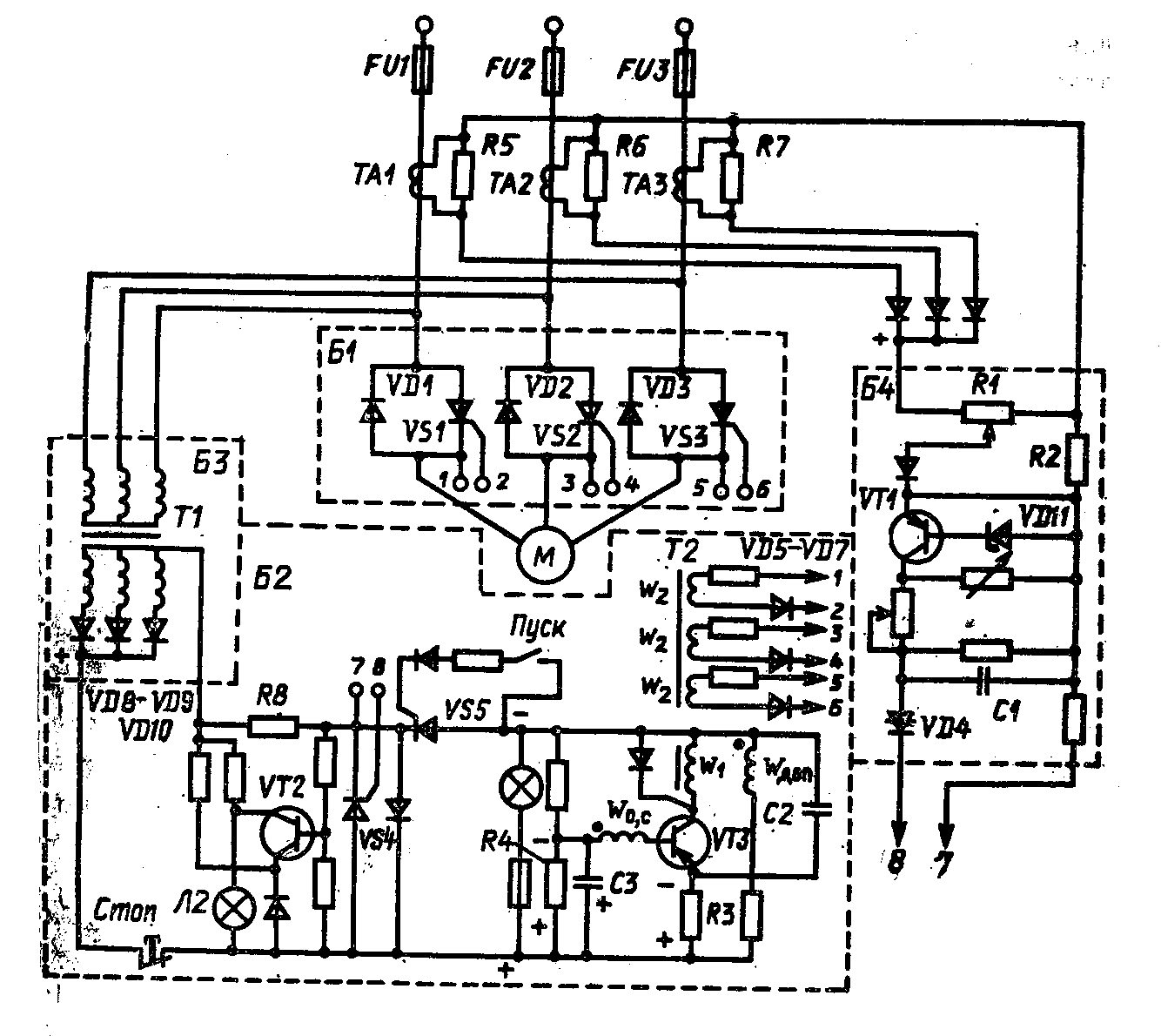
Силовой блок пускателя содержит силовые тиристоры и диоды, рассчитанные на номинальный и пусковой токи двигателя (рис. 3.2). При подаче сигнала управления на электроды тиристоры открываются и двигатель подключается к сети. В отрицательный полупериод, когда тиристоры закрываются отрицательным анодным напряжением, ток двигателя проходит по диодам. Диоды могут быть заменены тиристорами.

Рис.3.2. Тиристорный пускатель
При снятии сигнала управления (при перегрузке, потере фазы, нажатии кнопки "Стоп") тиристоры закрываются. Следующий период тока пропускается диодами. После этого диоды закрываются и двигатель отключается от сети. Защита двигателя и силовых тиристоров от токов КЗ в данном пускателе осуществляется быстродействующими предохранителями типа ПНБ-5.
По сравнению с контактными тиристорный пускатель обладает следующими преимуществами:
1. Отсутствие электрической дуги при коммутациях делает аппарат незаменимым в во взрывоопасных и пожароопасных средах.
мВысокая электрическая износостойкость (15*10
циклов)
2. Совершенная защита от токов перегрузки и КЗ, а также при потере фазы, что обеспечивает увеличение срока службы двигателя.
3. Допустимое число включений достигает 2000 в час.
4. Длительность отключения не превышает 0,02с.
5. Высокая надежность и долговечность, а также отсутствие необходимости в уходе при эксплуатации.
Недостатками тиристорного пускателя является сложность схемы, большие габариты и высокая стоимость.
Дата добавления: 2015-08-11; просмотров: 765;
