Теоретические сведения и расчетные соотношения
Для получения электрических сигналов различной формы используются генераторы гармонических колебаний и импульсов. В основе работы этих генераторов лежат усилительные элементы, охваченные цепью положительной обратной связи. При этом в генераторах гармонических колебаний усилительные элементы работают в активном (усилительном) режиме, а в импульсных генераторах характерными являются граничные режимы усилительного элемента (насыщение или отсечка), переход которых из одного состояния в другое происходит лавинообразно через промежуточный усилительный режим. Скорость этого перехода определяет длительность фронтов генерируемых импульсов и должна быть максимальной.
Гармонические колебания в генераторах поддерживаются частотно-избирательными четырехполюсниками: резонансными 2-С-контурами или другими резонирующими элементами (кварцевые или объемные резонаторы и т.п.), или с помощью фазирующих LС-цепей, включенных в цепь ПОС усилителей.
В импульсных генераторах, которые могут работать в двух режимах:
автоколебательном или ждущем, ПОС создается с помощью LС-цепей или импульсных трансформаторов.
Генераторы гармонических, колебаний. При охвате усилителя ПОС он самовозбуждается, так как коэффициенты усиления на определенных частотах достигают бесконечно большого значения (5.30). Такая схема работает в автоколебательном режиме и является автогенератором, если соблюдаются условия баланса амплитуд
KyU *b ³ 1 (6.1)
и условие баланса фаз
jk+ jb = 2*p*n, (6.2) где п = О, 1, 2, 3,... .
Генераторы гармонических колебаний разделяются на LС-автогенераторы, RС- автогенераторы и кварцевые генераторы.
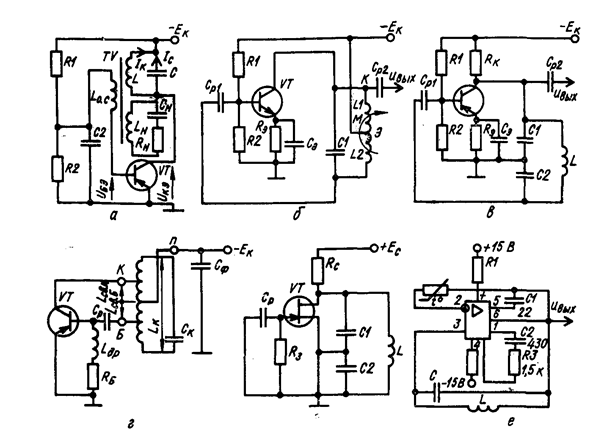
Основные типы LС- генераторов приведены на рис. 6.1. Они делятся на схемы с трансформаторной связью (рис. 6.1, и), индуктивной (рис. 6.1, б и г) и емкостной (рис. 6.1, в и д) трехточкой.
В схеме рис. 6.1, а используется индуктивная связь обмотки резонансного контура LС, являющегося нагрузкой однокаскадного усилителя по схеме с ОЭ, со второй обмоткой Loc включенной в цепь возбуждения усилителя (в цепь базы). Элементы R1 , R2 предназначены для обеспечения необходимого режима по постоянному току. За счет конденсатора С2, реактивное сопротивление которого на частоте генерации незначительно, заземляется один конец базовой обмотки. Сопротивление контура на резонансной частоте носит чисто активный характер.
Для получения устойчивого автоколебательного процесса с частотой fг необходимо выбирать транзистор, у которого
h21Э ³ (h11Э + rос )*C*RK / M + M / L (6.3)
В схемах LС - автогенераторов рис. 6.1, б, в, г, и часть резонансного кон-тура используется для получения обратной связи. Такие схемы получили название трёхточечных.

В схемах рис. 6.1, б,г, известных под названием индуктивной трехточки, секционирована индуктивная ветвь колебательного контура, общая точка которого через нулевое сопротивление источника питания переменной составляющей тока присоединена к эмиттеру. Обратная связь между индук- тивностями L1 и L2 (рис. 6.1, б) осуществляется за счет взаимоиндуктивнос-ти M
Режим по постоянному току и его термостабилизация осуществляются в трехточечных схемах за счет таких же элементов, что и в усилителях (R1,R2, RЭ, CЭ ) Реактивное сопротивление конденсатора обратной связи
Сд на частоте генерации принебрежимо мало.
Частота генерируемых колебаний и критический коэффициент усиления определяются соответственно из выражении:
fг » (1/2*p)* Ö1 / [ C1 *( L1 + L2 +2*M)] ; (6.4)
h21Э » (L2 + M)/( L1 + M) (6.5)
LC-автогенератор по схеме емкостной трехточки (рис. 6.1, в д) содержит в емкостной ветви колебательного контура два конденсатора С1 и С2. Напряжение обратной связи с последнего поступает во входную цепь усилительного звена. При таком включении конденсаторов полярности мгновенных значений напряжении на их обкладках относительно общей точки противоположны.
Частота генерируемых колебаний и критический коэффициент усиление определяются соответственно из выражении:
fг » (1/2*p)* Ö1 / [ L*C1*C2 /(C1 + C2 )] ; (6.4)
h21Э » C2 / C1 (6.5)
Высокими техническими показателями обладают LС- автогенераторы гармонических колебании, использующие в качестве усилительных звеньев
ОУ.
Большой коэффициент усиления ОУ позволяет, кроме положительной обратной связи, через частотно-избирательный резонансный контур вводить достаточно глубокие дополнительные отрицательные обратные связи, что существенно повышает стабильность частоты генерируемых колебаний. Кроме того, ОУ имеет большое входное и очень малое выходное сопротивления, что позволяет не учитывать их при расчете и проектировании конкретных схем LС-автогенераторов.
Один из типичных вариантов LС- автогенератор а на ОУ типа 153УД1 показан на рис. 6.1, е. В этой схеме LС- контур включен в цепь ПОС между выходом (вывод 6) и неинвертирующим входом (вывод 3) ОУ. Включение в цепь отрицательной обратной связи между выходом и инвертирующим входом усилителя (вывод 2) терморезистора обеспечивает высокий уровень термостабилизации амплитуды и частоты генерируемых колебаний.
В RС- автогенераторах, в отличие от резонансной частоты w0 колебательного LC- контура, частоту w0 называют квазирезонансной.
Для того чтобы из всего возможного спектра частот RС- автогенератор генерировал лишь одну, условия самовозбуждения генератора (6.1), (6.2) должны быть выполнены на этой частоте. По принципу построения RС- авто-генераторы подразделяются на автогенераторы с поворотом фазы сигнала в цепи ПОС на ± 180° на квазирезонансной частоте w0 и автогенераторы без поворота фазы, у которых фазовый сдвиг сигнала в цепи ПОС на квазирезонансной частоте равен нулю.
RС - автогенераторы с поворотом фазы содержат усилитель, фаза выходного напряжения которого отличается от (разы входного на 180 °. Поэтому выполнение условия баланса фаз возможно в том случае, когда цепь частотно-зависимой обратной связи (фазирующая цепочка) также обеспечит поворот фазы напряжения на частоте генерации на 180°.
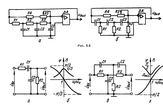
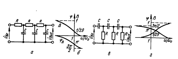
В качестве фазирующих используют цепочки, состоящие из простейших Г-образных RС- звеньев (обычно трех или четырех). Трехзвенная цепочка, так называемая С- параллель, показана на рис. 6.2, а, а R-параллель — на рис. 6.2, в. Частотные и фазовые характеристики цепочек С- и R-параллель приведены соответственно на рис. 6.2, б и 6.2, г.
Как видно из рис. 6.2, б и 6.2, г, на квазирезонансной частоте фазовый сдвиг wb между входным и выходным напряжениями для цепочки R-параллель равен + 180°, а для цепочки С-параллель— —180°.
На этой же частоте коэффициент передачи напряжения b = Uвых / Uвх для обеих цепочек имеет вещественное значение b0 и равен 1/29. Таким образом, усилительный каскад со сдвигом фазы напряжения усилительного сигнала на 180°, в котором осуществлена ПОС с помощью трехзвенных цепочек R- или С-параллель, может генерировать гармонические колебания с частотой f0 (для цепочки R-параллель f0 = w0 / 2*p = 1/(2*p*R*С*Ö6), для цепочки С-параллель f0 » w0 / 2*p = Ö6 /(2*p*R*С)), если его коэффициент усиления превышает 29, что соответствует также выполнению условия баланса амплитуд (неравенство (6.1)).
На рис. 6.3 с приведены принципиальные схемы RС-автогенераторов на биполярных транзисторах цепочками С-параллель (а, б) и R-параллель (в, г).

Частота генерируемых колебаний и критический коэффициент усиления ,
определяются соответственно из выражении:
для схем рис. 6.3, а, б
f г = 1 * Ö(7+ (3/m)); (6.8)
2*p*R*С
h21Э.кр = 21 + 32*m + 3/m, (6.9)
где R = R1 = R2 = R3 = m*R0 ; C= C1 /m = C2 = C3 ; R3 = R‘3 = Rвх ; m » [(1+ h21Э )*U0K] / [3*(ЕK - U0K )] ;
для схем рис 6.3, в, г
f г = 1 * Ö (1/(4* m +6 )); (6.10)
2*p*R*С
h21Э.кр = (23 + 29*m + 4/m)* R3 /(R3 + Rвх ), (6.11)
где m = Rвых /(R3 ½½Rвх ) = 2...5; R = R1 = R2 = R3 ½½ Rвх ; C= C1 * m = C2 = = C3 .
Зависимость критического коэффициента передачи по току от входного сопротивления усилительного каскада обусловливает необходимость применения транзисторов с h21Э > 45…60 , что может быть обеспечено далеко не каждым транзистором. Этот недостаток можно устранить применением составного включения транзисторов или дополнительного каскада по схеме с ОК, согласующего фазирующую цепочку с усилительным звеном (рис.6.2, б, г). Однако наибольший эффект может быть получен при использовании в качестве усилительного звена ОУ.
На рис. 6.4, а, б показаны схемы RС-автогенераторов на ОУ с фазирующими цепочками С-параллель и R-параллель. Поскольку частотно-избирательная RC-цепь включена между выходом и инвертирующим входом ОУ, общий Фазовый сдвиг в замкнутой петле равен 360, что обеспечивает выполнение условия баланса фаз. В связи с избыточностью коэффициента усиления ОУ условие баланса амплитуд обеспечивается без затруднения. Большое входное и малое выходное сопротивления ОУ позволяют осуществить режим практически идеального согласования фазирующей цепи

с усилительным звеном. При этом частота генерации определяется выражениями
fг = Ö6 /(2*p*R*С)) — для схемы 6.4, а; (6.12)
fг = (2*p*R*С*Ö6) —для схемы рис. 6.4, б. (6.13)
RС- автогенераторы без поворота фазы используют в качестве частотно-зависимых элементов последовательно-параллельную RС- цепочку (мост Вина) (рис. 6.5, а), квазирезонансная частота и коэффициент передачи которого определяются выражениями
f0 = 1 /(2*p*R*С); (6.14)
b0= 1/3, (6.15)
где R = R1 = R2 , C= C1 = C2 , а его АЧХ и ФЧХ приведены на рис. 6.5, б, или двойной Т- образный мост (рис. 6.5, в), АЧХ и ФЧХ которого приведены на рис. 6.5, е.
Квазирезонансная частота и коэффициент передачи двойного Т- образного моста определяются выражениями
f0 = Ö (n /(2*p*R*С)), (6.16)
b0 =(4* n-1)/ [4* n+(1/(2*n)+ 1] (6.17)
где R = R1 = R2 , C= C1 = C2 ; 2C/C3 = R/2R3 = n.
В зависимости от выбора значения n изменяются соотношение между элементами и качественные показатели. При n = 2C1 = C2 = C3 = С ,R3 = 0,25R;
при n = 0,5 C3 = 4 С, R1 = R2 = R3 .
На рис. 6.6 приведены принципиальные схемы RС- автогенераторов на биполярных транзисторах, выполненных с мостом Вина (а) и двойным Т-образным мостом (б). Включение эмиттерного повторителя на транзисторе VТЗ исключает влияние входного сопротивления схемы с ОЭ на параметры фазирую-щей цепи, а следовательно на f0 и b0 .
При отсутствии эмиттерного повторителя из-за шунтирования резистора R2 входным сопротивлением Rвх схемы с ОЭ на транзисторе VТ1, которое невелико, частота квазирезонанса и значение коэффициента передачи определяются выражениями:

f0 = fг = 1/(2*p*Ö((R1 * [ R2 * Rвх /(R2 + Rвх]* С1*С2) (6.16)
b0 = 1/ {1+ [R1*R2 + Rвх ) / R2*Rвх] + С1 / С2 } (6.17)
Из формул (6.18) и (6.19) следует, что квазирезонансная частота увеличивается, а коэффициент передачи напряжения при этом уменьшается.
В схеме рис. 6.6, б с двойным Т-образным мостом ПОС не зависит от частоты и реализуется с помощью элементов RЭ1 , RЭ2 , Cр1 , Rос .Так как транзистор VТ1 с ОЭ сдвигает фазу входного сигнала на 180°, то избира-тельный 2T-мост образует цепь ООС и общий фазовый сдвиг по замкнутой петле усилитель —2Т-мост равен 180°. При этом на частоте квазирезонанса, f0 отрицательная связь отсутствует, т.е. jb = 0 , jк = 0, а b0 = тin.
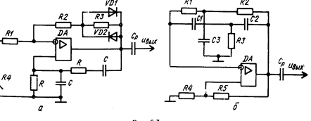
На рис. 6.7, а показана схема автогенератора на ОУ с мостом Вина, который подключен между выходом и неинвертирующим входом ОУ, пой, этому общий фазовый сдвиг по замкнутой петле равен нулю, что обеспечивает условие баланса фаз. Частотно-независимая ООС осуществляется с помощью двухполярных диодных ограничителей VD1, VD2, которые уменьшают значение сопротивления R3 при увеличении амплитуды выходного сигнала.
На рис 6.7, б приведена схема генератора с 2T-мостом, включенным между выходом и инвертирующим входом ОУ. На частоте квазирезонанса сдвиг фаз 2T-мостом равен 0°.
Генераторы прямоугольных импульсов с RС- связями. Эти генераторы находят наиболее широкое применение и могут работать в автоколебательном или ждущем режимах. Они могут выполняться на дискретных элементах, логических интегральных микросхемах и операционных усилителях.
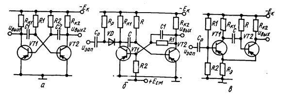
Наиболее распространенная схема транзисторного автоколебательного мультивибратора (МВ) приведена на рис. 6.8, а. В этой схеме в каждом из квазиустойчивых состояний один транзистор открыт, а другой —закрыт. При этом конденсатор закрытого плеча заряжается через эмиттерный переход от-крытого транзистора (вспомогательный цикл), а конденсатор открытого плеча заряжается через эмиттерный переход плеча перезаряжается от исходного напряжения » ЕК к—ЕК через открытый транзистор и соответствующий резистор R1 или R2.


Пороговым напряжением является напряжение отпирание транзистора, составляющее доли вольта, поэтому обычно принимают Uпор » 0. При достижении напряжения на конденсаторе (а значит, и на базе закрытого транзистора) Uпор схема переключается и начинается новый цикл. На выходах uвых1 и uвых2 формируются прямоугольные импульсы с противоположными фазами и длительностями, определяемыми по формулам [16; 21]:
tи1 = R2C2 ln(2EK + IK0 (R2 – RK2 ) ) / (EK + IK0 R2 ) (6.20)
tи2 = R1C1 ln(2EK + IK0 (R2 – RK1 ) ) / (EK + IK0 R2 ) (6.21)
Если выполняются условия
EK > IK0 R1 , EK >> IK0 R2 , (6.22)
будем иметь
tи1 » 0.7*R2C2 (6.23)
tи2 » 0.7*R1C1 (6.24)
Длительность отрицательного фронта выходного импульса при запирания транзистора из-за заряда конденсатора через коллекторное сопротивление равна
t -ф1 » 3*RК1C1 (6.25)
t -ф2 » 3*RК2C2 (6.26)
Длительность положительного фронта обычно принимают t+ф »3ta. Условие насыщения открытого транзистора
R1,2 £bmin RKI,2 (6.27)
а максимальная скважность импульсов
Qmax = bmin /3 +1 (6.28)
Рассмотренная схема может быть преобразована в ждущий генератор (одновибратор) (рис. 6.8, б). Из-за положительного смещения от источника

Есм через делитель RI, R2 на базу VТ1 последний в ждущем режиме заперт (устойчивое состояние). При запирании VТ2 по цепи ПОС открывается VТ1.
Основные параметры рассчитываются аналогично схеме МВ. Время восстановления в исходное состояние составляет t вос » 3*RК1C .
В схеме ждущего генератора (рис. 6.8, в) ПОС осуществляется через общее эмиттерное сопротивление RЭ, а выходная цепь не связана с процессами перезаряда конденсатора, поэтому она имеет меньшую длительность t -ф и меньшую зависимость процессов переключения от нагрузки.
Расчет выходных параметров импульсов ведется по формулам [16, 21]
t и » 0,7RC, (6.29)
t вос »( 3…5)RК1C. (6.30)
Автоколебательный мультивибратор на логических элементах И-НЕ представлен на рис. 6.9, а. Схема представляет собой два усилителя, охваченных перекрестными ПОС через времязадающие RС - цепи. Скачок напряжения на выходе, например, первого логического элемента (ЛЭ) DD1 через конденсатор передается на вход второго ЛЭ DD2, устанавливая на его выходе ноль. При этом конденсатор С1 разряжается до нуля, восстанавливая свое исходное состояние, а С2 заряжается через резистор R2. При этом квазиустоичивое состояние схемы сохраняется до тех пор, пока уменьшающийся из-за заряда конденсатора С2 ток не приведет к уменьшению напряжения на входе DD2 до порогового значения. С этого момента схема переключается в другое квазиустойчивое состояние.
Длительность импульсов на выходах схемы определяется уравнениями [5, 16, 21]:
tи1 =(R2 + R1вых )С2 ln((U1вых -U0вых + UR2 )/Uпор ) »
» (R2 + R1вых )С2 ln((U1вых /Uпор ) (6.31)
tи2 =( R1 + R1вых ) С1 ln((U1вых - U0вых + UR1 )/Uпор ) »
» ( R1 + R1вых ) С1 ln((U1вых / Uпор ) (6.32)
где U1вых и U0вых —напряжения логической единицы и логического нуля; UR2 и UR1 —падения напряжения на резисторах R1 и R2 от протекания входного тока I0вх микросхемы при низком уровне входного сигнала; R1вых —выходное сопротивление микросхемы при высоком уровне входного напряжения.

Для исключения «жесткого» запуска мультивибратора, при котором оба ЛЭ могут иметь низкий уровень напряжения на выходе, в схему включаются элементы DD3 и DD4 (см. рис. 6.9, б). При этом если uвых1 = uвых2 = U0вых, на выходе DD3 устанавливается 1, на выходе DD4—0, который, передаваясь на вход DD2, устанавливает на его выходе U1вых , исключая тем самым начальное нерабочее состояние.
Подобно схемам на дискретных элементах автоколебательный MB на ЛЭ может быть преобразован в схему ждущего MB (рис. 6.10, а). В этой схеме при
uзап =0, uвых1 = U0вых, , uвых2 = U1вых, конденсатор практически разряжен. При поступлении короткого запускающего импульса элементы DD3 и DD1 переключаются, uвых1 = U1вых,. Этo напряжение через конденсатор С передается на вход DD2, также переключая его. Это состояние сохраняется до тех пор, пока падение напряжения на входе DD2 от тока заряда конденсатора не снизится до Uпор, После этого схема возвращается в исходное состояние, которое устанавливается после разряда конденсатора. Длительность
выходного импульса при R > > R1вых, [14]
tи » RC ln((U1вых - U0вых + UR )/Uпор ) » RС ln((U1вых /Uпор ) (6.33)
где UR= I 0вх R.
Более стабильно работают схемы ждущих MB с элементами задержки вынесенными из цепи ПОС (рис. 6.10, б). В исходном состоянии на выходе элемента DD2 — логическая единица, так как на его входе действуют взаимоинверсные сигналы, на выходе DD1 — логический нуль, так как на его Входах две единицы. Конденсатор С заряжен до напряжения U1вых . С приводом короткого положительного запускающего импульса опрокидывается элемент DD4, затем элементы DD1, DD3 и DD2. На выходе элемента DD3 устанавливается логический нуль, который после окончания запускающего импульса поддерживает схему в квазиустойчивом состоянии. Конденсатор С разряжается через резистор R и выход открытого элемента DD3. Когда напряжение на нем уменьшится до порогового напряжения DD2, схема возвращается в исходное состояние, которое характеризуется восстановлением напряжения на конденсаторе С.
_ Длительность выходного импульса определяется приближенной формой 16, 21]
tи »( R + R0вых ) С ln((U1вых / Uпор ) ( 6.34)
Схема автоколебательного MB на ОУ представлена на рис. 6.11 ,а. Схема скачком переходит из одного квазиустойчпвого состояния в другое при напряжении на конденсаторе С.


Напряжение же uвых меняет свой знак при переключении схемы, принимая значения U+вых max или U-вых max и формируя тем самым новое значение порога схемы.
Длительность квазиустойчивых состояний для положительного и отрицательного выходных импульсов [5, 21]
(6.35)
Для изменения частоты и скважности выходных импульсов можно подать в точку а напряжение Е или ввести ассиметрию вовремязадающую цепь (показано шгрихами).
Аналогичный принцип может быть использован и для построения на ОУ ждущего МВ (рис. 6.11, б). В ждущем режиме uвых = U-вых max диод VD1 открыт и шунтирует конденсатор С. Напряжение на неинвертирующем входе определяется делителем на резисторах R1, R2 :

При подаче на вход положительного импульса выходное напряжение ОУ инвертируется, принимая значение U+вых max , диод VD1 закрывается и начинается заряд конденсатора С через резистор R к напряжению U+вых max. Это продолжается до тех пор, пока напряжение на нем не достигнет напряжения на неинвертирующем входе, равного Uсь2 = g U+вых max .
После этого схема возвращается в исходное состояние, определяемое перезарядом конденсатора от напряжения Uсм2 до 0 .
Длительность выходного импульса определяется уравнением (6.35),
(6,36)
Блокинг-генераторы. В этом типе генераторов прямоугольных импульсов ПОС осуществляется при помощи импульсного трансформатора, связывающего выходную и входную цепи транзистора. Основная схема блокинг-генератора (БГ) в автоколебательном режиме представлена на рис. 6.12. Параметры импульсов, генерируемых этой схемой, определяются следующими соотношениями [24].

Длительность фронтов выходного импульса
tф »2,3 * nБ [ta ( 1 + (R’вх /R’н) + R’вх С) ], (6.37)
где nБ = wБ /wК — коэффициент трансформации; wБ ,wК — число витков базовой и коллекторной обмоток; R’н = Rн / n2н , R’вх = Rвх / n2Б —сопротивления нагрузки и входное сопротивление транзистора, приведенные к коллекторной цепи; СК —емкость коллекторного перехода.
Длительность вершины зависит от соотношения между постоянными времени tb транзистора и входной цепи tвх » (Rвых + Rд)СБ , где Rвх.н - входное сопротивление транзистора в режиме насыщения.
Если tвх >> tb , то
tи = Lm((nБ b/ Rвх )- 1/ R’н ) . (6,38)
(Lm / СБ )*(nБ b/ R2вх )+1
Если tвх << tb, то
tи » 1- tb /(nБ b СБ R’н ) . (6,39)
1/tb +tb/(nБ Lm СБ )
где Lm —индуктивность намагничивания.
Длительность паузы
tп =CR ln(1+(UСБmax /(EK + IK0 R ))) , (6.40)
где UСБmax —максимальное напряжение на конденсаторе в начале паузы.
Генераторы пилообразном напряжения (ГПН). Этот тип генераторов составляет особый класс импульсных генераторов, в которых усилительные элементы для стабилизации тока заряда конденсатора, обеспечивающей линейность нарастания напряжения на конденсаторе времязадающей цепи, работают в активном (усилительном) режиме, а состояние отсечки или насыщения характерно для стадии восстановления напряжения исходного состояния конденсатора.
Схема ГПН с параметрическим токостабилизирующим элементом на транзисторе VТ2 приведена на рис. 6.13, п. Транзистор VТ1 предназначен для восстановления напряжения на конденсаторе С после его линейного разряда через транзистор VТ2.
Коэффициент нелинейности схемы [24]
e =(Umax RЭ /UБ2 )*((1/ Rвых Б2 )+ 1/ Rн ) (6,41)
где Umax » UБ2 tи /( RЭ С) — амплитуда выходною напряжения; RвыхБ2 »1/h22Б - выходное сопротивление транзистора VТ2, включенного по схеме с общей базой.

Длительность выходного импульса tр определяется длительностью входного, а время восстановления tвос =3СRK .
Схема ГПН с ПОС представлена на рис. 6.13, б. Коэффициент нелинейности в ней равен [24]
e =Umax /EK [(1-kU )+ (C/ C0 )+ (R /Rвх )], (6,42)
где kU = bRЭ /( h11Э +bRЭ)— коэффициент усиления по напряжению эмиттерного
повторителя; Rвх » bRЭ — входное сопротивление эмиттерного повторителя.
Время восстановления исходного состояния
tвос » (UmaxСRБ )/( bЕK)+ 3C0R0. (6.43)
Схема ГПН с ООС представлена на рис. 6.13, в, где транзистор VТ2 — токостабилизирующии, а VТ1 — ключевой.
Коэффициент нелинейности этой схемы 124]
e »(Umax /EK )*(R/bЕK), (6,44)
а время восстановления tвос =3СRK1 .
Большой эффект для повышения качества работы ГПН дает применение ОУ (рис. 6.14). Наиболее простая схема ГПН с ООС (рис. 6.14, и).

Её коэффициент нелинейности
e » tи вх /КОУ RС , (6,46)
а максимальная амплитуда выходного напряжения
Umax =-(Uвых max /RC)tи вх ). (6,46)
В схеме рис. 6.14, б ОУ заменяет эмиттерный повторитель в схеме 6.13, б.
Задавая коэффициент усиления Коу с помощью резисторов R1 и R2, можно получить коэффициент нелинейности, близкий к нулю, если соблюдается соотношение [16]
R2 /R1 =С /C0 +R/Rвх ОУ (6,47)
Значение минимального е определяется разбросом номиналов резисторов R1 и R2 и входного сопротивления Rвх ОУ .
Максимальная и минимальная амплитуды выходного напряжения [16]
Umax =(EK / RKC)tи вх , (6,48)
Umin =-(Eсм / R2)*R1 . (6,49)
Время восстановления пилообразного напряжения
tвос » tи /(( RK b / RБ )-1) , (6,50)
Схема автоколебательного ГПН с ООС приведена на рис. 6.14, в [16]. В ней ОУ DА1 работает как компаратор, а ОУ DА2 — как токостабилизирующий элемент, подобный схеме (рис. 6.14, а).
Максимальная амплитуда выходного сигнала в этой схеме
Umax =(2Uвых max / R3)*R4 , (6.51)
длительность рабочего хода
tр = 2R2С(R4 /(R3+R4 )) ; (6.52)
длительность восстановления
tвос = 2*(R1R2 /(R1+R2 ))*С* (R4 /(R3+R4 )) ; (6.53)
Дата добавления: 2015-08-08; просмотров: 1318;
