По технологии изготовления
В соответствии с технологией получения в кристалле зон с различными типами проводимости транзисторы деляся на:
- точечный (практически не применяется);
- сплавные;
- диффузионные;
- диффузионно- планарные;
- сплавно-диффузионные;
- планарно-диффузионные
- планарно-эпитаксиальные.
Точечный транзистор (старинный)

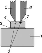
Рис. 8.13 точечный транзисторp-n-p, изображенный схематически.
1 - латунный или иной кристаллодержатель;
2 - области p-типа (эмиттер и коллектор);
3 - припой или золотой сплав (контакт базы);
4 - кристалл n-типа (база);
5 - эмиттерный точечный контакт (бериллиевая бронза);
6 - коллекторный точечный контакт (фосфористая бронза);
7 - область n-типа.
Две заостренные проволочки прижаты к полупроводниковому кристаллу n-типа (германий), припаянному к металлическому кристаллодержателю.
Особенность: хороший коллектор точечного транзистора обязательно должен содержать примесь n-типа.
Коллекторные переход и контакт и эмиттерный переход формируются подачей на коллекторный вывод импульса сильного тока. При этом медь (I-валентная) проволочки с большой скоростью диффундирует в материал n-типа в области коллектора и эмиттера (германий) и в небольшой области превращает его в материал p-типа. Медленно же диффундирующий материал примеси в область коллектора (фосфор, V-валентный, фосфористая бронза) в непосредственной близости от контакта коллектора снова превращает материал в германий n-типа.
В результате образуется структура p-n-pn-транзистора (транзистор с коллекторной ловушкой).
Эмиттерный контакт можно сделать почти из любого металла в данном случае контакт содержит примесь бериллия (II валентный, бериллиевая бронза)
Cплавной плоскостной транзистор

Рис. 8.14 сплавной плоскостной транзистор типа p-n-p, показанный схематически в разрезе.
p-n переходы образуются как и при технологии изготовления сплавного диода, рассмотренного выше.
Эпитаксиально - планарный транзистор
Рис.8.15 Эпитаксиально - планарный транзистор n-p-n изготовленный методом двойной локальной диффузии.
На подложке n+ выращен эпитаксиальный слой n и затем последовательно произведена двойная локальная диффузия (через маску SiO2).
Дата добавления: 2015-08-08; просмотров: 736;
