Расчет главной балки на временные нагрузки
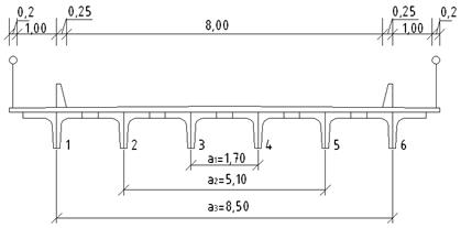
Для учета временной нагрузки на пролетное строение применяем метод КПУ, определяется КПУ по обобщенному методу внецентренного сжатия, в этом случае максимальное значение всегда будет значение для крайней балки. КПУ определяется для каждого вида временной нагрузки. Строится линия влияния усилий, действующих на крайнюю балку пролетного строения. Расчет проводим на три вида нагрузок: НК-80, А-11(по 1-ой схеме загружения), А-11(по 2-ой схеме загружения).
Определим КПУ методом внецентренного сжатия. КПУ определяет долю временной нагрузки на 1 главную балку. В общем виде ординаты линии влияния по методу внецентренного сжатия определяется по формуле:
Где amax-расстояние между крайними балками, n-количество балок,
ai-расстояние между осями главных балок

I Нагрузка НК-80
Эта нагрузка устанавливается в поперечном сечении пролётного строения по одной расчётной схеме, когда одна колонна автомобилей располагается в пределах проезжей части.
В поперечном направлении нагрузка НК-80 размещается таким образом, чтобы внешняя поверхность колес совпадала с началом полосы безопасности. В продольном направлении нагрузка размещается над максимальным моментом линии влияния, таким образом, что вторая ось тележки находилась над максимальной ординатой.








Выбираем максимальное значение: 
Определим величину изгибающего момента в середине пролёта главной балки от нагрузки НК-80. Для расчёта примем динамический коэффициент и коэффициент надёжности по нагрузке для НК-80.

Динамический коэффициент принимаем согласно СНиП 2.05.03-84 “Мосты и трубы” п 2.22 3): (1+μ)нк=1,1
Коэффициент надежности для нагрузки НК-80 принимаем согласно СНиП 2.05.03-84 “Мосты и трубы” п 2.23 в): γfнк=1;
Расчётный изгибающий момент от нагрузки НК-80:

Нормативный изгибающий момент от нагрузки НК-80:

Вычислим суммарный изгибающий момент в середине пролета главной балки от постоянной и временной нагрузки НК-80


II Нагрузка А-11 (1 случай)
В данном случае нагрузка А11 приближена к бордюру, при этом не учитывается поперечная нагрузка на тротуары. Ординаты для построения линий влияния аналогичны как при расчете нагрузки НК-80.
Вычисляем КПУ для тележки и полосовой нагрузки отдельно.
тележки: 
полосовая: 




Выбираем максимальное значение: 



Выбираем максимальное значение: 
Определим величину изгибающего момента в середине пролёта главной балки от нагрузки А-11. Для расчёта примем динамический коэффициент и коэффициент надёжности по нагрузке для А-11.
Примем соответствующие коэффициенты:
Динамический коэффициент принимаем согласно СНиП 2.05.03-84 “Мосты и трубы” п 2.22 б) для а/д и городских мостов:

Коэффициенты надежности для нагрузки А-11 принимаем согласно СНиП 2.05.03-84 “Мосты и трубы” п 2.23 Таблица 14: γfАт=1,5-(30-14,6)/100=1,346, γfа=1,2; 
Расчётный изгибающий момент от нагрузки А-11:
Нормативный изгибающий момент от нагрузки А-11:

Вычислим суммарный изгибающий момент в середине пролета главной балки от постоянной и временной нагрузки А-11 (1 случай)


III Нагрузка А-11 (2 случай)
В данном случае нагрузка А11 устанавливается на проезжей части, не заезжая на полосу безопасности, при этом учитывается нагрузка толпы на тротуар.
В поперечном направлении нагрузку А-11 размещаем в 2 колонны таким образом, чтобы внешняя поверхность колес находилась на границе полосы безопасности, без ее учета. Нагрузка от толпы загружается по середине тротуара. Наибольший изгибающий момент в середине пролета главной балки возникает в том случае, когда одна из осей находится над максимальной ординатой.



Выбираем максимальное значение: 




Выбираем максимальное значение: 



Выбираем максимальное значение: 
Определим величину изгибающего момента в середине пролёта главной балки от нагрузки А11+толпа.

Согласно СНиП 2.05.03-84 "Мосты и трубы"(стр.23) определяем нормативную временную нагрузку от толпы на тротуарах Pт.

T=1,00 м – ширина тротуара.
Динамический коэффициент принимаем согласно СНиП 2.05.03-84 “Мосты и трубы” п 2.22 б) для а/д и городских мостов:

Коэффициенты надежности для нагрузки А-11 принимаем согласно СНиП 2.05.03-84 “Мосты и трубы” п 2.23 Таблица 14: γfАт=1,5-(30-14,6)/100=1,346, γfа=1,2.

Расчётный изгибающий момент от нагрузки А-11+ толпа:
Нормативный изгибающий момент от нагрузки А-11:

Вычислим суммарный изгибающий момент в середине пролета главной балки от постоянной и временной нагрузки А-11+ толпа (2 случай)


Выбираем наибольший момент из моментов, полученных ранее от нагрузок НК-80,А-11 и А-11 +толпа
– расчётный момент
– нормативный момент.
Дата добавления: 2015-08-01; просмотров: 3067;
