Электрические манометры
Принцип действия приборов основан на измерении электрических величин, связанных с измерением давления [2]. Чувствительные элементы электрических манометров производят непосредственное преобразование давления в какую-либо электрическую величину, функционально связанную с давлением. Различают емкостные датчики давления, пьезоэлектрические и др.
Емкостный манометр
Емкостные преобразователи используют метод изменения емкости конденсатора при изменении расстояния между обкладками. Известны керамические или кремниевые емкостные первичные преобразователи давления и преобразователи, выполненные с использованием упругой металлической мембраны. При изменении давления мембрана с электродом деформируется и происходит изменение емкости.
В элементе из керамики или кремния пространство между обкладками обычно заполнено маслом или другой органической жидкостью (рис. 6).

Рис. 6. Емкостный керамический преобразователь давления
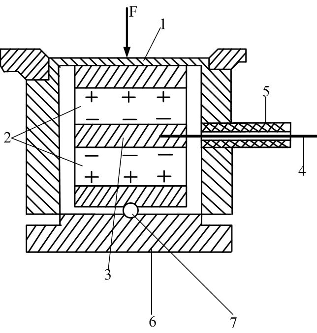
Пьезоэлектрический датчик давления
На рис. 7 показано устройство пьезоэлектрического датчика давления с двумя кварцевыми пластинами [4].
| Рис. 7. Пьезоэлектрический датчик давления |
Кварцевые пластины обычно расположены таким образом, что в измерительную схему подается отрицательный потенциал. Положительный потенциал подается на корпус датчика. Для уменьшения утечки зарядов необходима очень качественная изоляция. С этой же целью поверхность кварцевых пластин тщательно полируют. Использование двух (а иногда и больше) пластин повышает выходную ЭДС, поскольку выходные сигналы пластин складываются [4].
Пьезоэлектрический датчик подобен электрическому конденсатору. Количество электричества q, появившееся под воздействием механической силы, заряжает грани пьезоэлемента и соединенные с ним проводники до напряжения U, определяемого как

где С – емкость между проводниками (включая емкость пьезоэлемента).
Устройство и принцип действия датчика
избыточного давления «Сапфир-22 ДИ»
Датчик САПФИР-22ДИ (рис.8) для измерения избыточного давления состоит из измерительного блока 4 и унифицированного электронного устройства 5. Внутри основания 2 блока 4 размещен мембранный тензопреобразователь 7, полость 8 которого заполнена кремнийорганической жидкостью и отделена от измеряемой среды гофрированной мембраной 10. Мембрана приварена по наружному контуру к основанию 2. Чувствительным элементом тензопреобразователя является пластина из монокристаллического сапфира с кремниевыми пленочными тензорезисторами, прочно соединенная с мембраной 10. Основное свойство тензорезисторов – способность изменять свое электрическое сопротивление в зависимости от степени прогиба мембраны тензопреобразователя [5].
Измеряемая величина (давление среды в технологическом аппарате или трубопроводе) подается в камеру 11 фланца 9 измерительного блока и через жидкость, заполняющую тензопреобразователь, воздействует на мембрану, вызывая ее прогиб и изменение электрического сопротивления тензорезисторов. Электрический сигнал от тензопреобразователя передается из измерительного блока в электронное устройство 5 по проводам через вывод 6. Электронное устройство преобразует этот сигнал в токовый выходной сигнал манометра, значение которого зависит от измеряемого давления [5].
| Рис. 8. Датчик САПФИР – 22ДИ: 1 – прокладка; 2 – основание; 3 – полость; 4 – измерительный блок; 5 – электронное устройство; 6 – гермовывод; 7 – мембранный тензопреобразователь; 8 – полость тензопреобразователя; 9 – фланец; 10 – мембрана; 11 – камера |
Дата добавления: 2015-08-01; просмотров: 5291;
