Внешний цилиндрический насадок
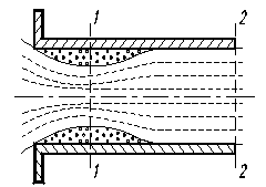
Струя жидкости при входе в насадок сжимается (как и при истечении через отверстие), после чего вновь расширяется и заполняет всё его сечение, рис.3.2. В промежутке между сжатым сечением и стенками насадки образуется вихревая зона. Так как струя выходит из насадки полным сечением, то ε=1 и
.
Применяя уравнение Бернулли к сечениям 1-1 и 2-2, как показано на рис.3.2, получаем
|
потери напора в насадке складывается из потерь на вход в насадок, на внезапное расширение сжатой струи и на потери по длине, т.е.
|
Из уравнения неразрывности следует
Рис.3.2
|
(здесь принято переобозначение V2≡V). Подставляя (3.4) в (3.3) получим
уравнение (3.2) с учётом (3.5) примет вид |
|
скорость истечения из насадки выразится так
|
|

Для внешнего цилиндрического насадка характерно что давление в сжатом сечении струи внутри насадки меньше атмосферного. Действительно
, т.е. скорость в сжатом сечении насадки на 64% больше скорости истечения из него. Это означает, что давление внутри насадка должно быть меньше, чем давление на выходе из насадки. Т.к. давление на выходе атмосферное, то внутри должен быть вакуум. Для определения величины вакуума в сжатом сечении применим уравнение Бернулли к сжатому сечению и сечению на выходе из насадки
|
где
- потери напора при внезапном расширении струи внутри насадка. Из (3.9) получается
или
. Подставляя в последнюю зависимость значение ε =0,611, получим
. Из (3.7) следует, что
.
При истечении воды и воздуха из внешнего цилиндрического насадка в обычных условиях можно полагать
. Из (3.7) следует, что
окончательно
. При истечении воды обычно принимают
.
Задача 3.2. Получить условие для допустимых относительных размеров внешнего цилиндрического насадка в виде
, где L и d – длина и внутренний диаметр насадки, λ – коэффициент гидравлического трения в насадке, ε – коэффициент сжатия струи.
Решение Основным условием является неравенство
, где Qн – расход через насадок, Qотв – расход через отверстие
Коэффициент расхода насадки
.
При равном напоре в случаях истечения из отверстия и из насадка, насадок обеспечивает больший расход, если
. Отношение площади струи Sc в сжатом сечении насадка к сечению на выходе равно коэффициенту сжатия струи ε.
Тогда
. Коэффициент сопротивления отверстия ζон, отнесённый к скорости на выходе из насадки, связан с коэффициентом сопротивления ξо, отнесённый к скорости в сжатом сечении Sс соотношением
.
Таким образом, условие
можно записать в виде
. После преобразований последнего неравенства устанавливаем требуемое условие
.
Дата добавления: 2015-08-01; просмотров: 1255;

Рис.3.2