База наружной ветви
Требуемая площадь плиты:

где:
(бетон В12,5).
Ширина плиты
равна (см. рис.8):
Принимаем В = 60 см.
Принимаем 50 см.

Среднее напряжение в бетоне под плитой.
.

Определяем изгибающие моменты на отдельных участках плиты:
При 
Принимаем C1=12 см.
Участок 1 (консольный свес
).
.
Участок 2 (консольный свес
).

Участок 3 (плита, опёртая на 4 стороны).
таблица 8.5 [3].
.
Участок 4 (плита, опёртая на 4 стороны).

.
Требуемая толщина плиты:
(
2 мм на фрезеровку).
Принимаем
для листовой стали С-245 t=20-40мм.
Высоту траверсы определяем из условия размещения сварных швов. Сварка полуавтоматическая, проволокой Св-0,8А, d=1,4-2,0мм,
= 0,8 мм.


Принимаем высоту траверсы
.
Проверка прочности траверсы производится как для балки на двух опорах.
Равномерно распределённая нагрузка:



Условие прочности траверсы имеет вид:
, где
.


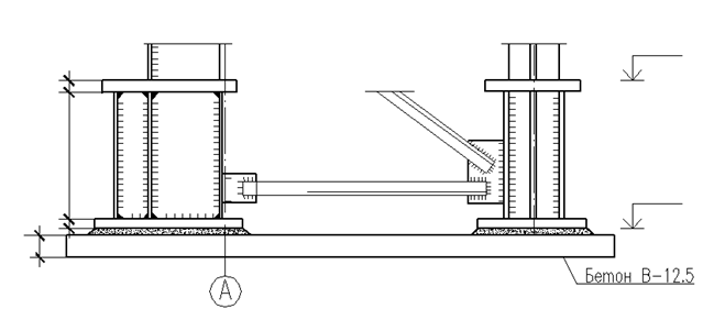
Рисунок. 8. База колонны
5.9 Расчёт анкерных болтов
Расчётные усилия в колонне для расчёта анкерных болтов:

Принимаем, что центр соединения анкерных болтов каждой ветви совпадает с центром оси ветви колонны. Усилия в анкерных болтах для сквозной колонны равны:

Принимаем анкерные болты из стали 40 Х «селект»
- расчётное сопротивление болтов на растяжение по таблица 61*[1].

Принимаем по шесть болтов с каждой стороны базы диаметром d=24 мм.

Нагрузка на подкрановую ветвь меньше, чем на наружную.
Требуемая площадь опорной плиты:
.
Принимаем размер плиты:
,
.
Проверка фактического соотношения жесткости нижней и верхней частей колонны.

Отличие фактического соотношения составляет
:
- допустимого расхождения.
6 Конструирование и расчёт сквозного сечения ригеля
Постоянная распределённая нагрузка условно прикладывается в верхних узлах ферм. Равномерно распределённая нагрузка определена в таблице №1, из которой видно, что
.
Схемы действия нагрузок показаны на рисунке 9.
Величина узловой постоянной нагрузки
:

, где
- длина панели по верхнему поясу;
В - шаг ферм.
Снеговая нагрузка определяется по СниП 2.01.07-85 «Нагрузки и воздействия». С учётом принятого уклона кровли i=0.015 коэффициент неравномерности снега С=1. Узловая снеговая нагрузка
равна:


Нагрузка от опорных моментов (таблица 6):
· опорный момент (слева) – M1= -470,1 кН·м (1;2;3-*;4-*;5)
· опорный момент (справа) – М2=-136,69 кН·м (1;2;3-;4-;5*)
· опорный момент (слева) – M3=-270,45 кН·м (1;3*;4-*;5)
· опорный момент (справа) – М4=62,96 кН·м (1;3;4-;5*)
Величины распоров Н определяются по эпюрам поперечных сил с учётом расчётных сочетаний нагрузок (рисунок 5, таблица 6):
· рамный распор 1, (от левой ст.) → H1=-70,78 кН (1;2;3(-);4(-);5(-))
· рамный распор 2, (от правой ст.) ← H2=-31,15 кН (1;2;3*(-);4*(-);5*)
· рамный распор 3, (от левой ст.) → H3=-61,19 кН (1;3(-);4(-);5(-))
· рамный распор 4, (от правой ст.) ← H4=-21,56 кН (1;3*(-);4*(-);5*)
При вычислении усилий в нижнем поясе от каждой пары распоров
принимается, что разность этих значений распределяется линейно между элементами нижнего пояса.
Дата добавления: 2015-07-30; просмотров: 1406;
