ГРОМАДСЬКИХ БУДІВЕЛЬ І СПОРУД
ЗАГАЛЬНІ ПРИНЦИПИ ПРОЕКТУВАННЯ
3.1. Поняття функціонального зонування громадських будівель
Функціональні процеси, які протікають у громадських спорудах, у багатьох випадках є дуже складні і часто складаються з кількох процесів, які деколи зливаються в єдиний (наприклад, процес підготовки і організації театральної дії і видовищний процес), а деколи існують паралельно. Тому з метою правильного вирішення складних завдань необхідно різні функціональні процеси, які відбуваються у спорудах, привести в певну систему, яка буде основою при проектуванні будь-якого виду громадських споруд.
Всі функції громадської будівлі можна розділити на «домінуючі» і «супутні» . Всі функціональні процеси в громадській будівлі незалежно від його домінуючої функції можна розділити на: загальні, специфічні, допоміжні.
У великих громадських будівлях при великій кількості різноманітних приміщень доцільно їх групувати виходячи з принципу спільності функціонального призначення та внутрішнього взаємозв’язку. Такий принцип називається функціональне зонування споруди. Функціональне зонування – диференціація споруди на зони з однорідних груп приміщень, виходячи із спільності їх функції. Функціональні блоки – загальні по функції групи приміщень. Основна задача функціонального зонування – виявлення взаємозв'язків між приміщеннями (або групами приміщень) при збереженні їх чіткого розмежування.
Зонування споруди для розміщення окремих груп приміщень повинно проводитися на основі єдиної спільної ідеї функціональної організації споруди і архітектурного прийому композиції. Зонування і розташування окремих груп може проводитися у системі єдиного корпусу або по корпусам єдиного архітектурного комплексу. Використання принципу функціонального зонування у плануванні громадських споруд вносить функціональну і архітектурну зрозумілість у структуру плану і конструктивну схему кожної зони.
Розрізняють наступні типи функціонального зонування: горизонтальне функціональне зонування – всі функціональні блоки розташовані в одному рівні і зв'язані між собою горизонтальними комунікаціями; вертикальне функціональне зонування – всі функціональні блоки розташовані в різних рівнях і зв'язані між собою вертикальними комунікаціями; горизонтально-вертикальне функціональне зонування будується на поєднанні двох приведених вище типів і є на практиці найбільш поширеним.
3.2. Типи об'ємно-планувальних структур громадських будівель
Об'ємно-планувальна структура будівлі – це система об'єднання головних і допоміжних приміщень вибраних розмірів і форм в єдину цілісну композицію.
Розрізняють такі основні типи об’ємно-планувальних структур громадських будівель:
· Централізована (компактна) схема будується на основі зальних, атріумних і комбінованих схем групування приміщень. Як правило, це один корпус простого чи складного обрису. Така схема розрахована на будівництво на територіях зі спокійним рельєфом, її доцільно використовувати у районах з холодним кліматом.
· Блокована схема включає коридорні, галерейні і анфіладні схеми угрупування приміщень. Як правило, споруда складається з кількох корпусів, які пов’язані між собою теплими переходами. Доцільно використовувати при будівництві крупних закладів для розосередження людей. Доцільна для будівництва у районах зі спекотним кліматом або складним рельєфом. Композиція зручна для типізації проектних вирішень.
· Павільйонна схема формується за принципом павільйонного групування приміщень. Композиція вирішена у вигляді окремих корпусів, які не пов’язані переходами. Доцільно використовувати у районах підвищеної сейсмічності з м'яким кліматом та складним рельєфом.
3.3. Типи архітектурно-планувальних схем громадських будівель
Задача функціонального зонування розв'язується шляхом певного поділу приміщень, що формують композицію плану громадської споруди. Композиція плану громадської споруди повинна мати чітку організацію. Її основу складають ядро головних приміщень і структурні вузли, які формуються з вестибюльної групи, а також вертикальних та горизонтальних комунікацій, навколо яких групуються другорядні приміщення. План споруди – найбільш відповідальна частина проекту. Від якості плану залежить утилітарні переваги споруди, зручність життя, праці і відпочинку, а також раціональність будівельних конструкцій, економічність будівництва та експлуатації. Експлуатаційні якості споруди у значній мірі визначаються відповідністю плану функціональному призначенню і техніко-економічній доцільності. Планування споруди повинно відповідати вимогам протипожежної безпеки (вогнестійкість будівлі, брандмауери, шляхи евакуації). Також планування споруди повинно знаходитися у взаємозв’язку з прийнятою у проекті системою несучих, огороджуючих та ізолюючих конструкцій.
Незважаючи на велику кількість планувальних вирішень можна виявити наступні типи планувальних схем громадських будівель, що визначають організацію внутрішнього простору будівлі: коміркова, коридорна, анфіладна, зальна, атріум на, змішана (комбінована).
Коміркова схема групування приміщень складається з частин, в яких функціональні процеси проходять відособлено в самостійно функціонуючих просторових осередках, що мають загальну комунікацію, яка пов'язує їх із зовнішнім середовищем.
Коридорна схема групування приміщень складається з невеликих осередків, що вміщають частини єдиного функціонального процесу і зв'язаних загальною лінійною комунікацією – коридором.
Анфіладна схема групування приміщень представляє собою розташування приміщень один за одним і об'єднаних між собою наскрізьним проходом.
Зальна схема заснована на організації єдиного простору для функцій, що вимагають великих нерозчленованих площ.
Атріумна схема групування приміщень є рядом приміщень, розташованих навколо закритого внутрішнього двору – атріума – і приміщень, що виходять в нього.
Павільйонна схема групування приміщень побудована на розподілі приміщень або їх груп в окремих об'ємах – павільйонах, зв'язаних між собою єдиним композиційним рішенням.
У разі поєднання і сумісного використання вказаних схем створюються комбіновані схеми: коридорно-кільцева, анфіладно-кільцева і т.п., рис. 3.1.
а
|
б
|
в
|
г
|
д
|
ж
|
з
| Рис. 3.1. Основні типи архітектурно-планувальних схем громадських споруд: а – коміркова; б – коридорна; в – анфіладна; г – зальна; д – коридорно-кільцева; ж – комірково-зальна; з – анфіладно-кільцева |
Приведені вище схеми поділу приміщень є основою для формування різних композиційних схем громадської будівлі або споруди, на основі яких створюється об'ємно-планувальна структура громадської будівлі.
Композиційно кожна із схем може бути вирішена симетрично і асиметрично. Вибір прийому композиції залежить від характеру функціональних процесів, які відбуваються у буідвлі, схеми взаємозв’язку приміщень, напрямків основних потоків.
3.4. Структурні вузли громадських будівель та їх характеристика
Як було зазначено вище функціональні процеси, які протікають всередині будь-якої громадської будівлі, можна поділити на загальні, специфічні і допоміжні. Загальні процеси є спільними для всіх громадських будівель. Специфічні процеси є індивідуальними для кожного типу громадської будівлі та визначаються її функціональними особливостями. Допоміжні процеси стосуються обслуговуючого персоналу громадських будівель.
Для нормального протікання цих процесів необхідно, щоб у громадській споруді були передбачені певні структурні вузли, тобто сукупність приміщень, які забезпечують нормальне протікання функціонального процесу.
Кожна громадська споруда складається із наступних структурних вузлів:
· вхідна група приміщень, яка складається з тамбура, вестибуля і гардероба;
· група основних приміщень, яка складається із приміщень різного призначення у залежності від типу споруди;
· група допоміжних приміщень, яка включає комірки, приміщення для персоналу, санітарні вузли;
· група технічних приміщень, яка складається з котелень, вентиляційних камер, ліфтів, насосних, машинних приміщень ліфтів;
· горизонтальні комунікації, які включають коридори, галереї, холи, основне призначення яких пов’язати всі перелічені вище структурні вузли у єдиний каркас і забезпечити зв’язок приміщень по горизонталі;
· вертикальні комунікації, які включають сходи, пандуси, ескалатори, ліфти і призначені для забезпечення зв’язку приміщень по вертикалі.
Вхідна група приміщень. Вимоги до організації входу. Основні входи до громадських будинків повинні мати зручні підходи та оптимальні розміри, які враховують можливості всіх розрахункових категорій відвідувачів. Кількість входів (виходів) визначається розрахунком, виходячи із пропускної спроможності будинків, а також експлуатаційними вимогами і залежить від конкретного функціонального типу споруди.
Для інвалідів та інших маломобільних груп населення, у громадських будинках один з основних входів повинен бути обладнаний пандусом або іншим пристроєм, що забезпечує можливість підйому інваліда на рівень входу до будинку, його 1-го поверху або ліфтового холу. Такий вхід повинен бути захищений від атмосферних опадів, перед ним слід влаштовувати майданчик розміром не менше 1м х 2,5м з дренажем.
Тамбури. У громадських будинках при кожному зовнішньому вході до вестибулю та сходових кліток належить передбачати тамбури для теплового і вітрового захисту. Ширина тамбура повинна перевищувати ширину прорізу не менше ніж на 0,15 м з кожного боку, а глибина тамбура повинна перевищувати ширину полотна дверей не менше ніж на 0,2 м. Мінімальна глибина тамбура – 1,6 м.
Позначка рівня підлоги приміщень біля входу до будинку повинна бути вище від позначки тротуару перед входом не менше ніж на 0,15м.
Допускається приймати позначку рівня підлоги біля входу до будинку менше 0,15 м (в тому числі і заглиблення нижче позначки тротуару) за умови захисту приміщень від попадання опадів.
У залежності від організації входу приймаються різні планувальні схеми тамбурів, рис. 3.2.
Вестибюль. Вестибюлі є основними розподільчими приміщеннями громадських споруд, до яких примикають горизонтальні та вертикальні комунікації. У вестибулі відбувається формування людських потоків, тому часто він включає ряд допоміжних приміщень, головне призначення яких є зорієнтувати людину у структурі громадської споруди. Таким допоміжними приміщеннями можуть бути рецепція, довідкові бюро, кіоски тощо.
Розміри приміщень вестибюльної групи приймаються з урахуванням максимальної пропускної спроможності, коефіцієнта змінності, необхідності забезпечення вхідного контролю та охорони, інших особливостей експлуатації будинків різного призначення згідно з ДБН за видами будинків та споруд.
а
| б
|
в
| Рис. 3.2. Планувальні схеми тамбурів у громадських спорудах: а – при прямолінійній організації входу; б – при диференційованій організації входу; в – при сезонній зміні організації руху |
У громадських будинках, що обслуговують інвалідів та інші маломобільні групи населення, площу приміщень вестибюльної групи слід збільшувати з урахуванням людей, які супроводжують інвалідів, з розрахунку 0,5 м² на кожного інваліда.
Гардероби. Гардероби проектують для розташування верхнього одягу. Гардероб є органічною частиною вестибулю і його планування безпосередньо пов’язане із загальним композиційним вирішенням всієї вхідної групи. Гардероби повинні бути розташовані близько до входів, але таким чином, щоб бути дещо в стороні від потоків відвідувачів. Не варто розташовувати фронт гардеробів вздовж зовнішньої стіни, оскільки це утруднює природне освітлення гардеробів, що у більшості споруд необхідно.
Місткість гардеробних приймається відповідно до вимог будівельних норм за видами будинків. Площу гардеробних для верхнього одягу за бар'єром слід приймати з розрахунку на одне місце не менше 0,08 м², коли використовують вішалки консольного типу, і 0,1м², коли використовують звичайні та підвісні вішалки. При зберіганні у гардеробній, крім верхнього одягу, сумок та портфелів площу за бар'єром допускається збільшувати на 0,04 м² на одне місце. Глибина гардеробної за бар'єром не повинна перевищувати 6м. Між бар'єром та вішалками слід передбачати прохід не менше 1м. Бар’єр для видачі одягу має ширину 0,6 – 0,7 м. Приблизна довжина бар’єру у спорудах із масовим рухом – 1 погонний метр на 30 місць, у спорудах із рівномірним не масовим рухом – 1 погонний метр на 50 – 60 місць. Мінімальні відстані для гардеробів верхнього одягу є наступні: перед бар’єром вільний простір – 3 – 4 м; від бар’єра до вішалки – 0,8 – 1 м; між осями вішалок при самообслуговуванні – 1,6 м, при обслуговування гардеробниками – 1,2 м; між осями крайнього ряду вішалок і стіною або перегородкою допускається відстань при самообслуговуванні – 1,3 м, а при обслуговування гардеробниками – 0,9 м; відстань між виступаючими рядами консольно-поворотних вішалок або між рядами шафок для зберігання одягу, а також відстань між виступаючими частинами крайнього ряду таких вішалок або шафок і стіною приймається при самообслуговуванні – 1 м, а при обслуговування гардеробниками – 0,6 м.
У залежності від планувального вирішення вестибуля розрізняють наступні схеми розташування гардеробів, рис. 3.3: бокове: одностороннє і двостороннє, периметральне, глибинне, острівне.
а
| б
|
в
| г
|
| Рис. 3.3.Схеми розташування гардеробів у вестибулях громадських споруд а – глибинне розташування гардероба; б – бокове розташування гардероба;в – периметральне розташування гардероба; г – острівне розташування гардероба |
Визначальним при виборі схеми є умова запобіганню перетину людських потоків при їх подальшому розприділенні від гардеробів.
Площу вестибулю з гардеробними приймають у середньому за наступним показником: 0, 18 – 0, 28 м² на одне місце на вішалці. При цьому кількість місць у гардеробі визначають, виходячи з повної одночасної наповненості споруди.
Приміщення, зони та місця надання послуг, що відвідуються маломобільним відвідувачами, належить, як правило, розташовувати на рівні, найближчому до поверхні землі. В інших випадках слід передбачати сходи, пандуси, ліфти та інші пристосування для переміщення маломобільних відвідувачів.
Група допоміжних приміщень.До допоміжних приміщень громадських споруд належать: гардероби персоналу, господарські комірки, комірки та кімнати інвентарю для прибирання, санітарні блоки, душові, кімнати особистої гігієни жінки
У громадських будівлях необхідно передбачати приміщення для зберігання, чистки та сушки інвентарю для прибирання, які обладнані системою гарячого та холодного водопостачання, які, як правило є суміжні з туалетами. Площу цих приміщень слід приймати з розрахунку 0,8 м² на кожні 100 м² площі поверху, проте не менше, ніж 4 м². Якщо площа поверху менше 400 м², допускається передбачати одне приміщення на два суміжних поверхи.
Основою розрахунку площі сангігієнічних приміщень є розрахункова чисельність осіб чоловічої та жіночої статі, що встановлюється завданням на проектування. Пропускна спроможність обладнання визначається за спеціальними нормативними документами.
Санітарні вузли у громадських будівлях включають туалети, умивальники, деколи душові або ванни. Склад сантехнічних приладів та їх кількість залежить від призначення та місткості споруд. За характером експлуатації санітарні вузли поділяють на:
· такі, що рівномірно використовуються протягом всього часу (адміністративні споруди, музеї і т.д.);
· такі, що використовуються у короткочасних перервах (школи, театри, криті стадіони).
Все це впливає на розрахунок необхідної кількості приладів та їх розташування. У першому випадку вони повинні рівномірно бути розташовані на всіх поверхах, а у другому мають бути розташовані біля місць скупчення людей.
Санітарні блоки у громадських спорудах повинні бути розташовані на кожному поверсі і на відстані не більше 75 м від найбільш віддаленого місця постійного перебування людей. Санітарні вузли повинні групуватися як у плані одного поверху, так і в планах інших поверхів один над другим. Вони повинні бути ізольовані від інших приміщень і розташовуватися у характерних точках споруди: біля сходових кліток та у вестибулях.
Необхідно передбачати санітарні вузли для чоловіків, жінок та інвалідів. Санітарні вузли для чоловіків та жінок приймається у співвідношенні 50:50.
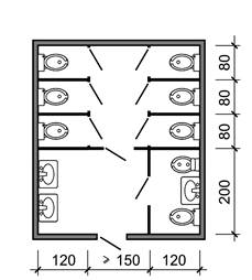
Нормалі планувальних елементів вказують мінімальні розміри санітарних вузлів та душових, які продиктовані ергономічними нормами. Так, мінімальна ширина туалету – 800 – 850 мм, мінімальна глибина – 1200 мм, якщо двері відкриваються назовні, мінімальна ширина тамбура-шлюза з умивальником – 850 мм. Звичайний санітарний вузол у громадській споруді складається із шлюзу, де розташовані умивальники, та приміщення з унітазами, які розташовані в окремих кабінках (у чоловічих туалетах розташовують кабінки та пісуари). Кабіни розділяються перегородками висотою не менше 1,8 м, розміри кабіни в осях 1,2 м х 0,9 м. Ширина проходу між рядом кабін і протилежною стіною має бути не менша 1,3 м, а між двома рядами кабінок – 1,5 м. Кількість умивальників у шлюзі приймається з розрахунку один умивальник на чотири унітази, проте не менше одного. При наявності у числі працівників інвалідів необхідно передбачати санвузол для інваліда незалежно від числа санітарних приладів. На рис. 3.4 приведені приклади організації санітарних санвузлів у громадських спорудах.
(Тут потрібно мати на увазі, що на малюнках є помилки – мінімальна ширина кабінки має бути 900)
а
|
б
|
в
|
г
|
| Рис. 3.4.Приклади організації санвузлів у громадських спорудах а, б – санітарні блоки для чоловіків; в, г – санітарні блоки для жінок |
При гардеробах персоналу слід передбачати душові кабінки. Ширина душової кабіни – 900 мм, а глибина 1650 – 1900 мм. У середньому передбачають одну душову кабіну на 10 осіб персоналу. На рис. 3.5 приведені приклади організації душових для персоналу, а на рис. 3.6 приклад організації гардеробу для персоналу.
а
|
б
|
в
| г
|
| Рис. 3.5.Приклади організації душових для персоналу а, б – душові із загальними роздягалками; в, г – душові з індивідуальними роздягалками |
| Рис. 3.6.Приклад організації гардеробу для персоналу |
Кількість приміщень або кабін особистої гігієни жінок належить визначати з розрахунку один гігієнічний душ на кожні 100 жінок, які працюють у найбільш численній зміні. Якщо кількість жінок понад 14 до 100, слід передбачати одну кабіну з гігієнічним душем, яку слід розміщувати при жіночій вбиральні і яка повинна мати вхід з умивальні. Розміри приміщення (кабіни) для гігієнічного душу з місцем для роздягання повинні бути в плані не менше 2,4 м х 1,2 м. На рис. 3.7 подано приклад організації приміщення особистої гігієни жінки.
|
|
| Рис. 3.7. Приклади планування приміщень особистої гігієни жінки |
Необхідність медпункту визначається завданням на проектування з урахуванням типового положення про установу. Медпункт повинен мати два приміщення загальною площею не менше 16 м2.
При проектуванні певних типів громадських будівель по відомчим нормам слід передбачати приміщення для інгаляторіїв, ручних та ніжних ванн, в також приміщення для відпочинку у робочий час та кімнати психологічного розвантаження. Ці приміщення здебільшого проектують при гардеробних персоналу та медпунктах.
У таблиці 3.1 приведені геометричні параметри, мінімальні відстані між осями і ширина проходів між рядами обладнання побутових приміщень.
Горизонтальні та вертикальні комунікації громадських споруд.У спорудах розрізняють горизонтальні та вертикальні комунікації. До горизонтальних комунікацій належать коридори, переходи, галереї. До механічних видів горизонтальних комунікацій належать рухомі тротуари, які працюють як у горизонтальній, так і в похилій (до 15°) площині. Вертикальні комунікації поділяють на звичайні (сходи, пандуси) і механічні (ліфти, ескалатори). Місця перетину горизонтальних та вертикальних комунікацій називають комунікаційними вузлами.
В цілому вся система комунікацій відіграє надзвичайно важливу роль у споруді, оскільки є одним із засобів організації функціонального процесу, має велике архітектурно-художнє значення, а також є шляхом евакуації для людей.
Таблиця 3.1. Геометричні параметри, мінімальні відстані між осями і ширина проходів між рядами обладнання побутових приміщень
| Показник | Вбиральні | Умивальні | Душові |
| Розміри кабін у плані, м, якщо двері відчиняються: | |||
| - назовні | 0,85х1,2 | - | 0,85х1,8** |
| - всередину | 0,85х1,5* | - | - |
| - відкритих кабін (без дверей) | - | - | 0,85х1,0 |
| Висота розподілювальних екранів (від підлоги), м | 1,8 | - | 1,8 |
| Відстань від підлоги до розподілювального екрану, м | 0,2 | - | 0,2 |
| Відстань між приладами (в осях), м: | |||
| - умивальниками | - | 0,65 | - |
| - пісуарами | 0,7 | - | - |
| Ширина проходів, м, | |||
| між рядами кабін: | |||
| - до 6 в ряду | 1,5 | - | 1,5 |
| - понад 6 -"- | 2,0 | - | 1,5 |
| між рядами умивальників | - | 1,6 | - |
| між рядами пісуарів: | |||
| - до 6 в ряду | 1,5 | - | - |
| - понад 6 -"- | 2,0 | - | - |
| між стіною (перегородкою) і рядом кабін | 1,3 | 1,1 | 1-при кількості в ряду до 6; 1,5-при 7 кабінах та більше |
| між кабінами і рядом пісуарів | 2,0 | - | - |
| * Допускається тільки для вбиралень, що складаються із однієї кабіни і шлюзу. | |||
| ** У тому числі місце (шлюз) для переодягання. | |||
| Примітка. Розміри кабін вбиралень та душових, проходів до них та в умивальник, а також відстань між сантехобладнанням (приладами) у будинках дитячих дошкільних закладів, шкіл, шкіл-інтернатів та лікарень слід приймати за нормами проектування цих будинків. |
Горизонтальні комунікації. Коридори є найбільш поширеним видом горизонтальних комунікацій. Коридори можуть бути наскрізні і тупикові, прямі і криволінійні. Приміщення вздовж коридору можуть розташовуватися з одного або двох боків. При двохсторонньому розташуванні приміщень природне освітлення можливе лише з торців коридору, у такому випадку його довжина не повинна перевищувати 48 м, відповідно максимальна довжина тупикового коридору, освітленого лише з одного торця є 24 м. Якщо довжина коридору є довша, ніж передбачено нормами, слід передбачати світлові кишені. Ширина світлової кишені повинна бути не менше половини його довжини при цьому не враховується ширина прилеглого коридору. Відстань між світловими кишенями не повинна перевищувати 24 м, а відстань від світлової кишені до вікна у торці коридору повинна бути не більша, ніж 36 м. Довжина коридору з одностороннім розташуванням приміщень не є обмежена. На рис. 3.8. приведені приклади максимальних довжин коридорів у залежності від їх освітлення.
а
|
б
|
в
|
г
|
| Рис. 3.8. Максимальні довжини коридорів у залежності від організації їх освітлення: а – при двохсторонній забудові і освітлення з двох торців; б – при влаштуванні світлових кишень; в – при тупиковій забудові і освітлення з одного торця; г – при односторонній забудові |
Ширина коридору розраховується у залежності від інтенсивності людських потоків з урахуванням одномоментної щільності потоку людей, що евакуюються, не більше 5 осіб. Згідно з пожежними нормами місткість прощень, що виходять до тупикового коридору не повинна перевищувати 80 осіб. Проте ширина головних коридорів повинна бути не менша, ніж 1,6 м, а ширина другорядних не менша, ніж 1,2 м. У коридорах не можна допускати влаштування сходинок, виступів та інших перешкод на шляху руху людей.
Коридори завдовжки більше 60 м належить розділяти перегородками з дверима, які самі зачиняються і розташовані на відстані не більше 60 м одна від одної та від торців коридору.
Вертикальні комунікації. Сходи є дуже важливим елементом сучасних споруд, оскільки забезпечують вертикальний взаємозв’язок приміщень. Розташування та кількість сходів залежать від його архітектурно-планувального вирішення, поверховості, інтенсивності людських потоків. Сходи повинні бути зручними в експлуатації і відповідати необхідним вимогам пожежної безпеки.
За своїм призначенням сходи розрізняють:
· головні (призначені для повсякденної експлуатації), допоміжні (запасні, службові або призначені для евакуації), а також вхідні (призначені для входу у приміщення);
· внутрішні (розташовані в середині споруди) та зовнішні.
Також сходи розрізняють за кількістю маршів та за формою розташування їх у плані.
Висота поверху громадської будівлі може бути рівна, як правило, 3 м, 3,3 м; 3,6 м; 4,2 м. З цього розрахунку і проектуються сходи. Сходи складаються з проступу і підсходинки. Ширина проступу – 300 мм, висота підсходинки – 150 мм.
Ширина сходового маршу в громадській будівлі повинна бути:
- 1,35 м – головні сходи, що ведуть в приміщення для основного перебування людей;
- 1,2 м – евакуаційні сходи;
- 0,9 м – сходи, що ведуть в приміщення з кількістю одночасно перебуваючих в ньому до 5 чоловік.
Ширина сходових майданчиків повинна бути не менше за ширину маршу, проміжний майданчик в прямому марші сходів – 1м.
Ухил сходових маршів в наземних поверхах слід приймати не більше 1 : 2 (окрім трибун спортивних споруд). Ухил сходів, що ведуть в підвальні поверхи, на горище, не призначених для евакуації людей, повинен складати – 1 : 1,5.
Число підйомів в одному марші сходів між майданчиками повинен бути не менше 3 і не більше 16. Висота огорож сходових маршів і майданчиків повинна складати не менше 900 мм.
Сходові клітки слід проектувати з природним освітленням через отвори в зовнішніх стінах, в будівлях заввишки до трьох поверхів включно можливе вживання верхнього освітлення через світловий ліхтар. Крім того, необхідне провітрювання сходової клітки площею не менше 1,2 м2 в межах кожного поверху.
Ліфти також є важливим видом вертикальних комунікацій у громадських спорудах. За своїм призначенням їх поділяють на пасажирські, господарські, вантажні, спеціальні.
Пасажирські ліфти, так само як і сходи. повинні бути добре видимі і легко доступні. У будинках невисокої поверховості їх розташовують поряд із сходами. У спорудах підвищеної поверховості, де ліфти є головним видом комунікацій, вони групуються у спеціальні ліфтові холи.
У табл. 3.2 приведені розміри деяких основних типів ліфтів, які використовуються у громадських спорудах.
Таблиця 3.2. Технічні характеристики і розміри деяких типів ліфтів,
Дата добавления: 2015-07-22; просмотров: 10186;

а
б
в
г
д
ж
з
а
б
в
а
б
в
г
а
б
в
г
а
б
в
г
а
б
в
г