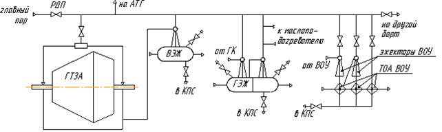
Система вспомогательного пара
Пар в систему вспомогательного пара подаётся из системы главного пара через регулятор давления пара (РДП), в котором сбрасывается давление до 1,2÷1,6 МПа.
Потребителями системы вспомогательного пара являются:
- ГЭЖ ГТЗА и АТГ;
- ВЭЖ ГТЗА и АТГ;
- коллекторы отдачи пара на концевые уплотнения турбин;
- деаэратор;
- эжекторы ВОУ;
- ТОА ВОУ, системы смазки, других систем.
Все требования, предъявляемые трубопроводам системы главного пара, распространяются и на систему вспомогательного пара. Трубопроводы системы вспомогательного пара оборудованы предохранительными клапанами, срабатывающими на давление 1,55 МПа.
Схема системы приведена на рис. 9.

Рис. 9. Система вспомогательного пара
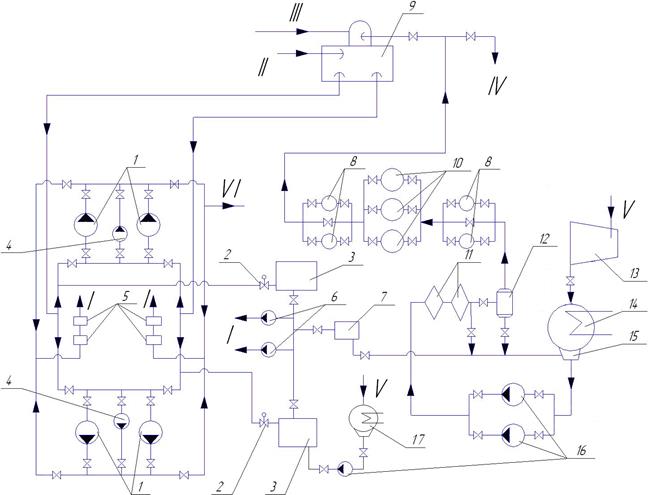
2.3 Конденсатно-питательная система
Основная функция конденсатно-питательной системы корабля – обеспечение парогенератора питательной водой необходимого качества, а также отвод конденсата из конденсатосборников конденсаторов (ГК, холодильников ГЭЖ и ВЭЖ, других ТОА).
Состоит из двух частей: конденсатная часть (от конденсатосборника до ПН), питательная часть (от ПН до ПГ).
На рис.10 представлена принципиальная схема КПС ледокола.

Рис. 10. Принципиальная схема КПС ледокола.
На рис.10 изображено следующее оборудование:
1. турбопитательный насос;
2. клапаны аварийной подачи воды на питательные насосы;
3. уравнительная цистерна (тёплый ящик);
4. резервный питательный насос;
5. регулирующие устройства питательной воды;
6. аварийный питательный насос;
7. регулятор уровня давления;
8. механические фильтры;
9. деаэратор;
10. ионообменные фильтры;
11. основной и вспомогательные эжекторы;
12. регулятор уровня конденсата;
13. первый главный турбогенератор;
14. главный конденсатор;
15. конденсатосборник;
16. электроконденсатный насос;
17. стояночный конденсатор.
1– в парогенератор;
2– отработанный пар;
3– пар от 2го ГТГ;
4– пар на ТПН;
5– свежий пар;
51 – на автоматику, на ДУУ.
В установке применена КПС закрытого типа с деаэратором. Конденсат из ГК подаётся в деаэратор главным электроконденсатным насосом. В ГК поступает также конденсат греющего пара водоопреснительной установки (ВОУ).
Для снижения солености и содержания продуктов коррозии и эрозии в питательной воде весь поток конденсатора пропускается через механические и ионообменные фильтры. Очистка конденсатора от кислорода и других газов осуществляется в термомеханическом деаэраторе. Вода в деаэраторе подогревается до температуры кипения паром, отработавшим в трубопроводах главного циркуляционного насоса и главного питательного насоса.
Подача воды из деаэратора в ПГ на основных режимах работы установки осуществляется главными питательными насосами. В режимах выведения на мощность или остановки ЯЭУ может использоваться резервный питательный электронасос, который включен в питательную магистраль параллельно основному. Необходимый расход воды в ПГ поддерживается питательным клапаном (ПК). Линейная зависимость расхода воды от проходного сечения ПК обеспечивается за счет поддержания на нем постоянного перепада давлений дроссельным клапаном (ДК). Для снижения термических напряжений в конструкциях ПГ и реакторе скорость изменения расхода питательной воды ограничивается. Конденсат из конденсатора АТГ подается ЭКН или в конденсатную систему или в ГК. Уровень воды в конденсаторе поддерживается регулятором уровня в конденсаторе (РУК).
На ледоколе применена многоступенчатая, работающая по принципу самоиспарения ВОУ с испарителем – конденсатором, имеющем четыре камеры. Камеры сообщаются между собой через гидравлические запоры по дистилляту и рассолу. Кроме того, в состав ОУ входят паровой подогреватель питательной воды и насосы забортной воды, рассола, а также дистиллята со сборником дистиллята. Дистиллят, полученный в ВОУ, до его направления в системы ЯЭУ проходит дополнительную очистку в ИОФ.
Принципиальная схема КПС нерегенеративной ПТУ приведена на рис. 11.

Рис. 11. Принципиальная схема КПС нерегенеративной ПТУ.
На рис.11 представлены позиции:
1. главный конденсатор;
2. навешанный питательный насос;
3. резервный питательный насос;
4. аварийный питательный насос;
5. фильтр;
6. фильтр ионообменный;
7. конденсатный насос;
8. клапаны системы РУК.
В отличие от КПС ледокола, КПС подводной лодки не имеет деаэратора, т.к. для обеспечения необходимого напора его нужно размещать на 10-15 м выше оси питательного насоса, что невозможно в условиях ограниченного пространства отсека. Удаление кислорода происходит в ионообменных фильтрах, что вызывает более частую их перегрузку.
При разработке КПС учитываются следующие требования: каждый ПГ имеет не менее двух ПН, на заказах применяют навешанные ПН, которые находятся на валу турбогенератора, каждая КПС должна обслуживаться двумя конденсатными насосами. Если в машинном отделении находится два конденсатора, то можно иметь на каждый конденсатор один КН, при условии что между ними имеется перемычка и каждый насос работает на половинный расход. Каждая КПС оборудована контрольно-измерительными приборами, аварийно-предупредительной системой сигнализации и системой автоматического регулирования.
Система КПС должна иметь повышенную надежность (с чем связан принцип тройного резервирования оборудования), должна обеспечивать требуемое качество питательной воды. Поэтому при проектировании необходимо учитывать следующие факторы: учитываются особенности принципиальной схемы всей энергетической установки, параметры рабочего тела в узловых точках, тип и степень напряженности рабочих процессов в нем, учитываются конструктивные особенности ГК, средства очистки питательной воды, размеры и конфигурация корабля.
Для компенсации изменения водосодержания в КПС должно быть не менее трех емкостей: конденсатосборник ГК, тёплый ящик (ТЯ), цистерна запаса питательной воды (ЦЗПВ). Емкость ЦЗПВ должна обеспечивать резервное питание ПГ при выходе из строя конденсатной части системы в течение 10 минут на режиме полной мощности ЯР. Имеется запасная цистерна питательной воды предназначенная для хранения ПВ в количестве, необходимом для восполнения утечек воды второго контура при неработающей водоопреснительной установке в течении двух часов, а также для замены рабочего тела второго контура в случае его засоления.
Дата добавления: 2015-07-18; просмотров: 1885;
